24982 (586537), страница 5
Текст из файла (страница 5)
На российских шахтах, 77% из которых метанообильны, влияние газового фактора на производительность очистных забоев весьма ощутимо, поскольку угольные месторождения, расположенные на территории России, наиболее метаноносные в мире. В среднем в каждой тонне российского угля заключено 8,3 кг метана, что в 1,7 и 2,4 раза выше, чем в природных углях США и Австралии соответственно. 11
Поэтому для нашей страны наиболее актуален первый метод добычи газа из угольных пластов. Из-за высокой метаноносности угольных месторождений дегазации следует подвергать не только сближенные пласты, но и разрабатываемые, поскольку интенсивная выемка угля комбайнами приводит к обильным выделениям метана из обнажаемых поверхностей пласта и отбиваемого угля. Например, при снижении метаноносности пласта за счет его дегазации на 2 куб.м/т и отбойке 10 т угля в минуту метановыделение в призабойном пространстве лавы будет уменьшено на 15-20 куб.м/мин и фактор газа в меньшей степени будет лимитировать производительность угледобывающей техники, повысится и коэффициент машинного времени, что весьма положительно скажется на показателях работы комплексно-механизированных забоев.
При разработке рекомендаций по способам и параметрам дегазации угольных пластов для обеспечения безопасной и высокопроизводительной работы очистных забоев необходимо учитывать горно-геологические условия залегания угольных пластов, информацию о глубине горных работ, газоносности и мощности пластов угля, прогнозных значениях метанообильности очистных забоев и планируемых объемах добычи угля, а также учитывать требования нормативных документов, и прежде всего «Руководства по дегазации угольных шахт» (РФ). Кроме того, необходимы современные буровые установки для бурения подземных длинных (до 350м) и сверхдлинных (до 1,5-2 км) скважин заданной трассы.
«НПО Конструкторское бюро Кочубея» для сепарации шахтного газа, непосредственно на глубине, разработало сепараторы, не имеющие аналогов по своим характеристикам, которые имеют высоту ~1,7 м. при том, что известные модели сепараторов, имея тот же диаметр корпуса, производительность и потерю напора, имеют высоту 6 м. Минимальные габариты позволяют транспортировать и устанавливать сепаратор непосредственно в шахтных проходах ограниченной высоты.
Сепараторы СЦВ-7 работают в непрерывном режиме слива отсепарированной жидкости, работая в условиях вакуума (ранее в этом случае трубопровод перекрывался на технологическую остановку для слива конденсата). Для транспортировки сепаратора в проходках предусмотрена его разборка, сборка на месте не превышает 1-2 часов.
Первый вариант использования сепаратора СЦВ. В целях обеспечения безопасности шахтеров, находящихся в забое, производится откачка газа из стволов шахты вакуумными насосами. Концентрация метана (горючих газов) в данном газовом потоке составляет 1-2%, что делает непригодным этот газ для дальнейшего использования.
В данном случае возникает проблема в работе вакуумного насоса в связи с тем, что в газовом потоке откачиваемом из шахты идет большое количество угольной пыли, которая негативно влияет на работу вакуумного насоса. Данную пыль необходимо удалять. Сепаратор устанавливается перед вакуум-насосом для удаления мельчайших частиц пыли и влаги.
Второй вариант использования сепаратора СЦВ. В стволах бурятся шурфы, через которые идет откачка метана, в целях недопущения его попадания в стволы шахт, где ведутся работы, далее метан по трубам подается на поверхность. Такое решение вопроса позволяет:
• уменьшить количество метана в местах, где работают шахтеры;
• попутно добывать метан из угольных шахт.
Концентрация метана при такой откачке его из шахты составляет порядка 25-40%, что делает возможным его дальнейшее использование в качестве топлива для газо-поршневых, газотурбинных установок, теплоэлектростанций. В данном случае также возникает проблема в работе вакуумного насоса и кроме того после вакуумного насоса газ необходимо подать в ГТУ, ГПУ, ТЭЦ, поэтому необходима его дальнейшая очистка. Данный вариант добычи горючих газов из шахт может применяться также на законсервированных угольных шахтах.12
Рисунок 3.1 Схема дегазации шахты с применением сепаратора СЦВ-7
Сепараторы влагомаслоотделители СЦВ-7 защищены патентами: №2244584 от 2005 года, №2287357 от 2006 года, №2320395 от 2008 года. Сепараторы СЦВ-7 являются результатом значительного усовершенствования конструкции СЦВ-6. В 2004 году его предшественник - сепаратор СЦВ-5 признан «Лучшей промышленной инновацией года».
Вихревой газо-жидкостной сепаратор предназначен для глубокой очистки газового потока от капельной, мелкодисперсной, аэрозольной жидкости, масла и тведрдых примесей. При сепарации бинарной смеси (газ - жидкость) одновременно осуществляется и процесс разгазирования жидкой фазы. Используются на предприятиях нефтегазовой, химической, металлургической, машиностроительной, легкой промышленности.
Основные достоинства сепаратора:
-
Высокая эффективность сепарации на всем диапазоне нагрузок по жидкой и газовой фазам.
-
Отсутствие сменных фильтрующих элементов, трущихся и вращающихся частей.
-
Рабочая среда – воздух, газ, газожидкостная смесь, насыщенный пар.
-
Содержание жидкости на выходе ~ 0 г/м3.
-
Содержание взвешенных частиц на выходе соответствует нормам «воздух кл.1» ГОСТ 17433-80.
-
Потеря напора МПа (мм. вод. ст.) – не выше 0,003 (300).
-
Не требуется освидетельствование Госгортехнадзором (постановление Госгортехнадзора РФ от 11.06.03 № 91), так как P*V<= 200.
-
Малые размеры, вес.
-
Устойчивая работа в пробковом режиме.
-
Возможность эксплуатации сепаратора без паровых подушек или электробогрева.
-
Удаления взвеси через сливной вентиль вручную или автоматически.
-
Гарантийный срок эксплуатации 15 лет.
Высокая эффективность сепарации (99,9%) на всем диапазоне нагрузок по жидкой и газовой фазам, устойчивая работа в пробковом режиме с сохранением указанной степени сепарации достигается за счет наличия последовательно работающих, по ходу вращения газового потока, нескольких ступеней сепарации.
Новая конструкция сепаратора СЦВ-7 позволила увеличить производительность и снизить потерю давления, за счет особой конструкции сердцевины сепарационного пакета, благодаря чему в сепарационной области проходят аэродинамические процессы подобные тем, которые происходят в смерче.
Увеличилась вертикальная составляющая скорости стекания жидкости со стенок корпуса в объем накопительной емкости. При наличии песка и других твердых примесей за счет касательной составляющей наблюдается интенсивный износ внутренней поверхности корпуса сепаратора, а в нашем случае касательная составляющая скорости резко снижена.
Претерпели изменения практически все узлы сепарационной установки, что привело к упрощению конструкции сепаратора и улучшению эффективности его работы. При прочих равных условиях высота сепарационной области сократилась на 30-40%, что повлекло уменьшение высоты сепаратора в целом.
Направленное термодинамическое движение газожидкостных потоков из сепарационной области в накопительную емкость позволяет, при отрицательной наружной температуре воздуха, поддерживать положительную температуру обечайки накопительной емкости, не прибегая к применению паровых рубашек, электрообогреву.
Принцип работы сепаратора
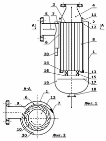
Газожидкостная смесь, подводится в аппарат через вводной патрубок (5), распложенный в верхней его части. Установка входного патрубка, смещенного по горизонтам относительно осевой линии корпуса на 1/2 его диаметра позволяет решить задачу сохранения величины центробежного эффекта на входе газожидкостной смеси в аппарат, практически не ослабив надежности корпуса сепаратора. Дефлектор (6) препятствует поступлению газа в осевую зону сепарационного пакета (8) без предварительного разделения газовзвеси.
Использование дефлектора с изменяющимся данным сечением (в начале увеличивает свое сечение до максимально допустимой величины, после чего сужается по горизонтали и возрастает по высоте, сохраняя при этом площадь поперечного сечения в максимально широком участке) позволяет удалить по горизонтали на выходе из дефлектора газожидкостный поток от щелевых отверстий сепарационного пакета (8), а по высоте равномерно рассредоточить и в тоже время за счёт минимальной щели «придавить» жидкую фазу к внутренней поверхности сепаратора, что в конечном счете, улучшает процесс сепарации.
Рисунок 3.2 Сепаратор СЦВ-7 (схематический рисунок)
В пространстве, образованном стенкой корпуса (1) и пластинами (9) из газового потока выделяется основная масса жидкости. Капли жидкости отбрасываются центробежной силой на стенки корпуса (1) сепаратора и под действием гравитационных сил, по ходу газового потока, нисходящей спирали транспортируются через кольцевой зазор (19) к сливному патрубку (18).
Исполнение дефлектора с узкой щелью удаленного от направляющих щелевых сепарационного пакета создает значительный зазор между вращающейся по внутренней поверхности корпуса жидкостной пленке и щелевыми каналами, засасывающими газовый поток в направляющие пакета, при этом условия сепарации отделенной жидкой фазы идеальные.
Из-за того, что по ходу движения жидкостного потока установлена карман-ловушка, состоящая из боковых направляющих корпуса (1) и изогнутой пластины (20), а также крышки, составляющей часть перегородки (2), условия для удаления жидкой фазы идеальные, в этом конструктивном исполнении дефлектор полностью изолирует наличие жидкой фазы вблизи вертикальных лопастей. Направляемая жидкость сливается через открытую нижнюю часть ловушки-кармана.
Мелкодисперсная капельная жидкость, не осевшая на корпусе (1) попадает на наружную поверхность пластин (9) и транспортируется газовым потоком через входные тангенциальные щели, попадая на их внутреннюю поверхность.
В конце верхней суженой части дефлектора (6) установлена дугообразная пластина (7) нисходящая по ходу газожидкостного потока и направленная по отношению к горизонтальной прямой под углом 25°, такое инженерное решение позволило вращающийся между корпусом и сепарационным пакетом вектор газожидкостного потока направить по нисходящей кривой, в результате чего газовый слой, вращающийся непосредственно по внутренней поверхности сепарационного пакета разделился на три слоя со своими векторами осевых скоростей: непосредственно у стенки направлен вниз, далее незначительный слой «неподвижный» и следующий третий основной слой направлен вверх.
Наличие первого слоя с направлением вектора осевой скорости вниз позволило сгонять (в зависимости от режима - росу, капли, пленку) вниз избежав дополнительных направляющих, удаляющих по спирали вниз, частицы жидкой фазы. Опускаясь по внутренней поверхности пластин (9) частицы жидкости, приблизившись к нижней кромке, соскальзывают и попадают на поверхность шайбы (17), откуда через кольцевой зазор (19) транспортируются в направлении сливного патрубка (18).
Модификации
Малогабаритные сепараторы СЦВ-7 имеют незначительный объем и вписываются в соотношение PxV<=200, не подлежат освидетельствованию в органах Госгортехнадзора. Большинство этих сепараторов эксплуатируются при давлении 8 атм. и ниже, имеют производительность по воздуху 2-150 н.м3/мин., имеют диаметр корпуса не более 273 мм.
Сепаратор СЦВ-7 может комплектоваться двумя накопительными емкостями. При работе воздуховода в режиме вакуума наличие двух накопительных емкостей позволяет производить автоматический слив конденсата из сепарационной установки в непрерывном режиме.
Сепараторы СЦВ-7 могут устанавливаться внутри шахты. Минимальные габариты и вес позволяют транспортировать его по шахтным штрекам. В особо трудных случаях, предоставляется возможность транспортировать отдельно накопительные емкости и сепаратор, разборка и сборка их не превышает 2–3 часов.
Сепаратор (диаметр корпуса 1200 мм) успешно прошел промышленные испытания на шахте им. А.Ф. Засядько (Украина) и показал следующие результаты: расход по воздуху 230 н.м3/мин., расход по жидкой фазе 400 г/н.м3, результат на выходе по всем фракциям~0 г/н.м3.
Сепаратор СЦВ может иметь как вертикальный, так и горизонтальный выходной патрубок.
Рисунок 3.5 Схема установки сепаратора СЦВ-7
(верхний рис. - вертикальный выход, нижний рис. - горизонтальный выход)
«НПО КБ Кочубея» разрабатывает и выпускает малогабаритные сепараторы СЦВ-7, а также сепараторы работающие под большим давлением, большой производительности, по индивидуальным техническим заданиям.
Нужно отметить, что данные сепараторы явились основным звеном газо-энергетического комплекса в крупномасштабном мировом проекте (GE Energy США, E.V.A. Австрия , СП «Синапс», GE Jenbacher) по когенерации шахтных газов проводимом на украинских шахтах.
Таким образом, для проведения работ по дегазации шахт нами выбран метод использования сепаратора СЦВ-7. Его характеристики позволяют утверждать, что данное оборудование является качественным и экономичным.
ГЛАВА 4.ЭКОЛОГО-ЭКОНОМИЧЕСКАЯ ОЦЕНКА ДОБЫЧИ
СЦВ-7 обладает рядом экономических преимуществ:
-
Его размеры позволяют сэкономить на транспортировке и установке оборудования.
-
Отсутствие сменных фильтрующих элементов, трущихся и вращающихся частей позволяет экономить на запасных частях.
-
Возможность эксплуатации сепаратора без паровых подушек или электробогрева.
-
Гарантийный срок эксплуатации 15 лет, что позволяет экономить на ремонте в случае поломки.
-
Самое главное он позволяет выбрать наиболее экономически подходящую модель работы для определенной шахты:
Первый вариант использования сепаратора СЦВ. В целях обеспечения безопасности шахтеров, находящихся в забое, производится откачка газа из стволов шахты вакуумными насосами. Концентрация метана (горючих газов) в данном газовом потоке составляет 1-2%, что делает непригодным этот газ для дальнейшего использования.
Второй вариант использования сепаратора СЦВ. В стволах бурятся шурфы, через которые идет откачка метана, в целях недопущения его попадания в стволы шахт, где ведутся работы, далее метан по трубам подается на поверхность. Концентрация метана при такой откачке его из шахты составляет порядка 25-40%, что делает возможным его дальнейшее использование в качестве топлива для газо-поршневых, газотурбинных установок, теплоэлектростанций.
Стоимость агрегата рассчитывается в зависимости от необходимых показателей:
Таблица 4.1 Технические характеристики оборудования
| характеристика | ед.изм. | при необходимости указывайте интервал изменения величин | |
| Производительность на входе | н.м3 | ||
| Давление на входе в сепаратор | МПа | ||
| Температура на входе | С | ||
| Состав газожидкостной смеси (агрессивность среды) | * | ||
| Необходимое содержание влаги на входе | мг/м3 | ||
| Диаметр трубопровода | мм | вход | |
| выход | |||
| слив | |||
| Температурные условия эксплуатации | С | ||
| Объем накопительной емкости | м3 | ||
| Необходимость автоматического слива | да/нет | ||
| Необходимость подогрева и утепления | да/нет | ||
| Примечания: | |||
Расчет производит ООО «НПО Конструкторское бюро Кочубея», имеющий патент на данное изобретение.
Говоря об экологических оценках данного метода, следует отметить:
-
Рабочая среда – воздух, газ, газожидкостная смесь, насыщенный пар.
-
Содержание жидкости на выходе ~ 0 г/м3.
-
Содержание взвешенных частиц на выходе соответствует нормам «воздух кл.1» ГОСТ 17433-80.
-
Потеря напора МПа (мм. вод. ст.) – не выше 0,003 (300).
-
Удаления взвеси через сливной вентиль вручную или автоматически.
Итак, основные экологические эффекты, которые мы имеем, используя данный способ добычи метана, это:
1) уменьшение выбросов метана в окружающую среду.
2) снижение концентрации газа в шахте, что снижает взрывоопасность в шахте в целом.
В соответствии с Киотским протоколом Россия приняла на себя обязательства по снижению выбросов в атмосферу парниковых газов
Так как масштабность данной проблемы с каждым годом все выше, а мировое сообщество ведет целенаправленную борьбу с источниками причин парникового эффекта, то можно утверждать, что часть финансирования по данному проекту можно получить за счет Киотского протокола.
Эту возможность открывает один из его механизмов — проекты совместного осуществления. Так, снизив выбросы парниковых газов, впоследствии российские угольные предприятия смогут продать полученные единицы сокращения выбросов (ЕСВ) на международном рынке. Основная причина пробуксовки проекта — на порядок меньшие инвестиции в получение одной единицы ЕСВ по сравнению с развитыми странами. По данным Всемирного банка, на каждую тонну снижения выбросов углекислого газа в Японии необходимо потратить $ 600, в ЕС — $ 270, в США — $ 190, а в России всего $ 20. Потенциальными покупателями ЕСВ, созданными российскими шахтами, станут организации Евросоюза, работающие по схеме торговли выбросами EU ETS (всего около 12 тыс. организаций) и имеющие право приобретать проектные сокращения выбросов в других странах.
Однако эта проблема может быть решена, тем самым проект получит дополнительное финансирование, выполняя все экологические требования.
Другая важнейшая сторона устойчивого развития - снижение числа катастроф в горнодобывающем секторе засчет снижение концентрации газа в шахте. Каждый горняк знает, что наиболее опасный источник катастроф, ввиду своей полной неожиданности и непредсказуемости, - именно угольный метан. Урон, наносимый им, непоправим и невосполним, потому что неожиданность выброса газа отягощается еще и мгновенным сдвигом десятков, сотен тонн породы. Даже если не происходит возгорания, каменная струя, изрыгаемая угольным метаном, превращает в крошево всю технику, уничтожая людей в забое.
Взрывы, вспышки, загорания и внезапные выделения угольного метана являются причиной 90-93 процентов общего числа аварий, произошедших на шахтах стран СНГ в последние 5 лет. Они влекут за собой большие человеческие жертвы, потери и материальные, и финансовые, выводят на долгое время из строя целые шахты
В целях обеспечения безопасности работы шахтеров, находящихся в забое, вентиляторами производится подача воздуха в стволы шахты. Концентрация метана и других горючих газов, в выходящем из вентиляционных шахт газовом потоке, составляет 1-2%, что делает этот газ непригодным для дальнейшего использования. В данном случае сепаратор СЦВ-7 необходимо устанавливать на выходе вентиляционной шахты, для очистки выходящего воздуха от угольной пыли, что предотвращает загрязнение окружающей среды.
Как известно, горнодобывающая промышленность является одним из основных загрязнителем окружающей среды. Соответственно, с возможным увеличением темпов добычи угля и освоения новых месторождений, возрастает и нагрузка на основные элементы окружающей среды.
Реализация различных природоохранных мероприятий на угольных предприятиях, позволяет снизить уровень негативного воздействия на окружающую среду, и значительно улучшить эколого-экономические показатели работы шахты.
Нежелание же соблюдать экологические требования приводит, в первую очередь, к экономическим потерям, связанным с компенсацией причиненных ущербов.
Одним из наиболее серьезных воздействий угольной шахты на окружающую среду является выброс загрязняющих веществ в атмосферу, в частности угольного метана.
Основное природоохранное мероприятие, направленное на улучшение состояния атмосферного воздуха в горнопромышленном районе является использование метана, извлекаемого средствами шахтной дегазации.
Основное внимание при разработке методов выбора варианта использования шахтного метана необходимо уделить оценке эффективности каждого варианта и его влиянию на эколого-экономические показатели работы шахты. При проведении оценки необходимо представление стоимостных величин. Для экологических факторов обязателен учет не только платежей, но и прямых издержек.
Определение эколого-экономической эффективности варианта использования шахтного метана возможно путем сопоставления экологических и экономических эффектов получаемых в результате использования шахтного метана и возникающих в результате осуществления подобных проектов возможных издержек.
В основу оценки эколого-экономической эффективности способов использования шахтного метана на угольной шахте положен методический подход, учитывающий технический, экономический и экологический аспекты природопользования посредством сопоставления затрат и эффектов возникающих у собственника.
Показателями, характеризующими эколого-экономические результаты работы предприятия реализующего мероприятия по использованию попутно добываемого шахтного метана, могут являться:
-изменение себестоимости угля в результате изменения затрат,
связанных с добычей полезного ископаемого.
Следствием снижения нагрузки на воздушный бассейн, в результате использования шахтного метана, является снижение себестоимости угля.
В случае если выбросы метана в атмосферу, до принятия решения на угольном предприятии об использовании шахтного метана, превышают допустимые нормативы выбросов, величина платы за них входит в состав прибыли. Соответственно, сокращая выбросы метана в атмосферу ниже допустимых нормативов выбросов, при использовании шахтного метана, растет и величина прибыли.
Так же рост прибыли, в результате использования шахтного метана, может быть охарактеризован увеличением объемов сэкономленного угля, используемого для нужд угледобывающего предприятия.
По причине своей емкости показатель прибыли отражает не только себестоимость, но и цену на тот или иной продукт, что характеризует его как более состоятельный критерий в отличие от себестоимости.
При сравнении нескольких вариантов использования шахтного метана по показателю «прибыль» возможно возникновение разногласий при учете абсолютной либо удельной прибыли.
-изменение рентабельности производства в результате реализации мероприятий по использованию шахтного метана.
Рентабельность производства связывает получение эффекта с производственным капиталом. По критерию рентабельности выгоден не всякий прирост прибыли, а лишь тот, который опережает прирост основных фондов и оборотных средств. Поэтому рентабельность является более требовательным и более широким критерием, чем прибыль.
В настоящее время газ, извлекаемый при дегазации угольных пластов, в основном применяется в качестве топлива для шахтных котельных, в различных странах его доля от общего количества используемого газа составляет 20 – 90%.
Следует отметить, что при использовании каптируемого газа в качестве топлива снижается расход угля на собственные нужды шахт и уровень загрязнения окружающей среды.
Кроме того, сокращается численность обслуживающего персонала, улучшаются условия труда, увеличивается срок безремонтной эксплуатации котлов и упрощается технология эксплуатации, например, ликвидируется операция золоудаления.
Для расчета эколого-экономической эффективности рассмотрим такой пример: в поселке городского типа «Солнечный» ведется добыча шахтного метана, извлекаемого при помощи сепаратора СЦВ-7. Добытый метан аккумулируется и впоследствии продается в соседний регион. Жители поселка городского типа «Ленинский» используют шахтный метан как топливо для электростанции.
Тогда эффекты, получаемые при этом способе добычи, складываются по формуле:
Э суммарный. = Э Экологический + Э Социальный + Э экономический
1)Э экологический: сокращаем выбросы метана в атмосферу(РАСКРЫТЬ),но надо сделать приписку, что в данной работе не рассматриваем данный эффект в денежной форме т.к. это отдельное научное исследование. Снижается выброс вредных веществ в атмосферу: пыли на 40 –50%; оксида углерода – на 90 – 100%; оксидов азота – на 40 – 50%; углерода, сернистого газа и альдегидов – на 100%.
Главным источником угольного метана являются древнейшие залежи каменного угля карбонового периода. Этот "подземный дракон" извергает в атмосферу миллиарды кубов метана. Вентиляционными потоками угольных шахт страны ежегодно выбрасывается миллиарды кубометров газа. Попадая в атмосферу, он влияет на развитие парникового эффекта, ведущего к глобальному потеплению климата. По оценкам ведущих специалистов, метан имеет колоссальный потенциа парникового газа, превышающий в 21 раз двуокись углерода – основного соединения в индустриальных выбросах.
В соответствии с Киотским протоколом Россия приняла на себя обязательства по снижению выбросов в атмосферу парниковых газов
В данной работе не рассматриваем данный эффект в денежной форме т.к. это отдельное научное исследование.
2)Э Социальный – улучшаем условия жизнедеятельности человека проживающего в этом регионе .
- налоги от продажи метана идут в местный бюджет, что дает новые возможности для финансирования социальных проектов.
-в связи с продажей метана соседям в поселке появляются новые рабочие места (складирование, продажа). Это позволяет повысить трудовую занятость в поселке.
-новое предприятие (связанное продажей метана и его складированием) может вести постройку объектов общественной значимости, таких как спорт площадка, стадионы, санатории, что в целом способствует улучшению условий жизнедеятельности на данной территории.
В данной работе также не рассматриваем данный эффект в денежной форме т.к. это является отдельным научным исследованием.
3)Э экономический:
А) Период - 2 года
Б) Объем собранного газа за 2 года составил 30000 м (куб)
В) Цена 1 м (куб)= 12,55 руб.
Э экон = 30 000х12,55=376 500
Э суммарный. = Э Экологический + Э Социальный +376 500
Вывод:
Общий эффект равен: Э общ = Э сумм - З(затраты). Затраты включают: на строительно-монтажные работы, затраты на приобретение и монтаж оборудования и прочие(хранение,транспортировка и др.)
Таким образом, дегазация шахтного метана имеет экологический, социальный и экономический эффекты. В данной работе рассмотрен последний.
ГЛАВА 5. БЖД
5.1 Анализ вредных и опасных факторов при работе в шахте
5.1.1 Рудничный воздух и климатические условия
Проходя по горным выработкам, атмосферный воздух изменяет свой состав:
-
Уменьшается содержание кислорода (О2).
-
Увеличивается содержание азота N2 и Углекислого газа (CO2).
-
Выделяются другие вредные и ядовитые газы (угарный газ, окислы азота, сероводород и др.).
В соответствии с ПБ в угольных шахтах должны быть соблюдены следующие нормы чистоты воздуха:
-
Кислорода - не менее 20%;
-
Оксида углерода (СО) - не более 0,0017% (1%-смерть!, взрывается при 13,5-70%);
-
Окислов азота - не более 0,00025%;
-
Двуокись углерода (СО2);
-
Сероводород (Н2S) - не более 0,00071%, образуется при разложении органических веществ и горении угля, имеет запах тухлых яиц;
-
Сернистый газ (SО) - не более 0,00038%, сильный раздражающий запах, тяжелее воздуха, образуется при взрывных работах, пожарах, ядовит (0,05 - !);
-
Окислы азота (NО2) - не более 0,0026, тёмно-бурый цвет и резкий запах, тяжелее воздуха;
-
Аммиак - до 0,002, ядовит, резкий запах;
-
Водород (Н2) - горит и взрывается при концентрации 4-96%. Температура воспламенения на 100-200 градусов ниже, чем у метана;
-
Компрессорные газы - продукты разложения смазочных масел компрессоров. Для предотвращения их образования необходимо устанавливать фильтры и маслоотстойники.
Охлаждающее действие воздушной среды представляет собой совокупное воздействие на человеческий организм температуры, скорости воздуха, влажности. Для определения пользуются кататермометром, который представляет собой спиртовой термометр с уширением в верхней части и спиртовым резервуаром в нижней.
5.1.2 Запылённость рудничного воздуха, как причина профзаболеваний. Меры борьбы с пылью
Вдыхаемые с воздухом мелкие частички пыли могут вызвать заболевание лёгких - пневмокониоз (угольный - антракоз, породный - силикоз).При нормальном состоянии носоглотки и дыхательных путей, до 90% вдыхаемой пыли задерживается, но крупные пылевые частицы сильно травмируют слизистую оболочку.
Под влиянием пыли происходит перерождение лёгочной ткани. При попадании в лёгкие породной пыли, содержащей SiO2, образуется кремниевая кислота H2SiO3, ускоряющая разрушение.
Пневмокониоз развивается достаточно медленно (до10-15 лет). Возможность возникновения заболевания зависит от массы вдыхаемой пыли и содержания в ней SiO2. Наиболее опасна пыль 0,1-0,2 мкм.
ПДК для пыли, при содержании в ней SiO2:
-
SiO2> 70% - 1мг/м3;
-
SiO2 = (10-70)% -2 мг/м3;
-
SiO2 = (5-10)% - 4 мг/м3;
-
SiO2 до 5% - 10 мг/м3 (6 мг/м3 - антрацитовая пыль)
Активных средств лечения пневмокониоза не существует, поэтому основная работа ведётся в направлении профилактики и ранней диагностики.
Меры профилактики пневмокониоза
-
медосмотры;
-
лечебно-профилактические мероприятия;
-
уменьшение пылеобразования, пылеподавление (инженерно-технические мероприятия);
-
противопылевые респираторы.
Согласно ПБ, на каждой шахте должен быть проект комплексного обеспыливания, утверждённый техническим директором.
Инженерно-технические мероприятия делятся на три группы:
-
Снижение или устранение пылеобразования;
-
Подавление и улавливание пыли;
-
Вынос летучей пыли из выработок и обеспыливание воздушного потока.
-
запрещается подача свежей струи воздуха по стволам, оборудованными скипами, опрокидными клетями;
-
не допускается подача свежего воздуха по наклонным стволам и выработкам оборудованным ленточными конвейерами за пределами выемочного участка;
-
при прочих равных условиях следует отдавать предпочтение технологиям, уменьшающим пылеобразование;
-
разработка и применение технологий ведения очистных работ без постоянного присутствия людей в лаве;
-
предварительное увлажнение угля в массиве;
-
орошение: очистные и проходческие комбайны, места перегрузки, погрузки, разгрузки;
-
пневмогидроорошение: применение водовоздушной смеси (туманообразователи - могут образовывать облако длинной до 50-70 метров);
-
подавление пыли пеной;
-
воздушные эжекторы: водяной факел, вырываясь из форсунки создаёт тягу воздуха (эжекцию), образуется тонкодисперсионная смесь;
-
пылеулавливание: на очистных и проходческих комбайнах и бурении скважин;
-
обеспыливающее проветривание: при скорости струи, достаточной для выноса пыли от места образования, но при этом осевшая пыль не взмётывается. Оптимальная по пылевому фактору скорость струи в подготовительных забоях 0,4-0,6 м/c, в очистных 1,5-3 м/c (max 4 м/c min 0,25 м/c).
5.1.3 Защита от производственного шума и вибрации
Таблица 5.1 Уровни шума на рабочих местах и в рабочих зонах не должны превышать предельно-допустимых значений
| Рабочие места (зоны и виды работ) | Предельно допустимые уровни шума, дБ |
| Горные выработки, производственные помещения, территория поверхности | 80 |
| Кабины наблюдений и дистанционного управления: - с резервной связью по телефону | 80 65 |
| Высококвалифицированные работы, требующие внимания и сосредоточенности | 60 |
Оборудование с повышенным уровнем шума должно устанавливаться в местах, где шум не мешает производственному процессу.
L = 10 log (I / I0) = 20 log (Р / Р0), дБ
где: I - интенсивность шума, I0 - интенсивность звука на пороге слышимости (10-12), Вт/м2
Болевой порог Lб = 140 дБ
Вибрация
L1 = 20 log (V / V0), dB, V0 = 5*10-8 м/с –
виброскорость, соответствующая давлению Р0 = 2*10-5 Па
L2 = 20 log (a / a0), dB, a0 = 3*10-4 - виброускорение
5.1.4 Рудничное освещение
Для освещения применяют:
-
сетевое освещение:
-
стационарное действует в течении всего срока службы выработки;
-
полустационарное переносится по мере продвижения забоя;
-
местное освещение применяется на передвижных машинах.
-
аккумуляторные переносные светильники:
-
ручные - аккумулятор составляет единое целое с лампой;
-
головные (СГГ1К, "Кузбасс", СГВ-2, "Украина").
В шахтах применяются светильники РН, РП и РВ исполнения. Для питания электросветильников, применяемых в очистных забоях и ламп, встроенных в машины используется напряжение не более 127В, остальных выработок - 220В. ПБ §531 Светильниками, питаемыми от электросети в подземных условиях должны освещаться:
-
электромашинные, лебёдочные и диспетчерские камеры, ЦПП, локомотивные гаражи, здравпункты, раздаточные камеры ВМ, подземные ремонтные мастерские;
-
транспортные выработки в пределах ОД.;
-
приёмные площадки уклонов и бремсбергов, разминовки в околоствольных и участковых откаточных выработках, участки выработок, где производится перегрузка угля, пункты посадки людей в транспортные средства и подходы к ним;
-
призабойное пространство стволов, сопряжений и камер при проходке и проходческие подвесные балки;
-
очистные выработки на пологих и наклонных пластах, оборудованные механизированными комплексами и струговыми установками;
-
постоянно обслуживаемые электромашинные установки, передвижные подстанции и распредпункты, вне пределов спец. камер;
-
выработки оборудованные ленточными конвейерами и подвесными канатно-кресельными дорогами, предназначенные для перевозки людей;
-
людские ходки, оборудованные механизированной перевозкой людей;
-
призабойное пространство подготовительных выработок, проводимых с применением проходческих комплексов или комбайнов, должно освещаться встроенными в комплекс или комбайн светильниками.
Освещение способствует снижению травматизма и повышению производительности труда (до 25%).
Нормы освещённости в основных горных выработках:
-
очистной комплексно-механизированный забой, Е = 5 лк;
-
проходческий забой, Е = 10 лк;
-
откаточные и вентиляционные штреки, Е = 1 лк;
-
стрелочные переводы, Е = 2-5 лк;
-
машинные камеры (ЦПП, РПП, водоотлив), Е = 10 лк.
Нормативные значения факторов
5.2 Нормативные значения факторов и мероприятия по предотвращению, снижению и ликвидации последствий их действия на людей
5.2.1 Виды аварий в шахтах
Подземные аварии - внезапное нарушение нормального состояния выработок, механизмов и состава рудничной атмосферы, в результате которого создаётся угроза жизни людей, занятых на подземных работах. Виды аварий (по масштабу):
-
Аварии, которые отражаются на работе предприятия в целом или его отдельных производств: взрывы газа и пыли; внезапные выбросы угля и газа; внезапные выделения газа; прорывы воды или обводнённой горной массы; прорывы газа из пожарных участков; взрывы на складах ВМ; пожары в подземных выработках, надшахтных зданиях, сооружениях и складах ВМ; аварии на подъёмных установках, центральных водоотливах и компрессорных установках, вызвавшие достаточно длинные простои предприятия; аварии вентиляторов главного проветривания; обрушения в стволах шахт, вызвавшие остановку подъёма.
-
Аварии, которые отражаются на работе отдельного участка (цеха): обрушение очистных и подготовительных выработок; завалы главных вентиляционных и откаточных выработок; горение и вспышки газа в подземных выработках, не вызвавшие взрыва и пожара; аварии участковых подъёмных и вентиляционных установок; загорание крепи, кабелей и пр. материалов; обрушение или разрушение зданий и сооружений в результате ведения взрывных работ или подработки горными выработками.
-
Наиболее опасные аварии: взрывы метана и угольной пыли, пожары, внезапные выбросы и суфлярные выделения метана.
5.2.2 Особенности взрыва пылегазовых смесей в шахте
Виды воспламенения:
-
Медленное горение (0,3-0,6 м/с)
-
Вспышка (до 10 м/с)
-
Взрывное горение (до сотен метров)
-
Детонация (километры в секунду)
Вспышка переходит во взрыв постепенно, скорость фронта пламени и давление ударной волны нарастает постоянно. Взрыв - воспламенение, сопровождающееся ударной волной. Взрывы газа в шахте сопровождаются прямым и обратным ударами. Различают первичное (взрыв) и вторичное (досжигание) пламя.
Взрыв газовоздушных смесей
-
Метановоздушная смесь при t ~ 600°C воспламеняется через 10 секунд;
-
при ~ 1000°C - через доли секунд;
-
при t ~ 1300°C - практически мгновенно взрывается.
Пределы взрываемости смеси горючих газов характеризуются треугольником взрываемости.
-
Н = 4-74% - водород (400 °С);
-
СО = 12,5-75% - угарный газ;
-
СН4 = 5-15% - метан (600 -650°С);
-
СН4 = 6% - наиболее взрывоопасная концентрация;
-
СН4 = 9,5% - максимальный взрыв.
Степень взрываемости пылевоздушной смеси зависит от:
-
размеров пылинок (дисперсность);
-
химического и минерального состава пыли (пыль, при содержании в ней негорючих компонентов от 60-70% не взрывчата);
-
выхода летучих при нагреве (Vdaf > 5-7%, при Vdaf = 15% - пласт опасен по пыли);
-
количества летающей пыли (10-600 гр/м3);
-
наличия в атмосфере горючих газов (например, при СН4=0, нижний предел взрываемости пыли 40 гр/м3; при СН4=0,5% - 30 гр/м3; при СН4=2% - 10 гр/м3;
-
влажности пыли (при влажности 20-25%, пыль, как правило, не взрывается).
5.2.3 Газовый и пылевой режимы
ГАЗОВЫЙ РЕЖИМ
Основным мероприятием против скопления метана является вентиляция, которая считается эффективной, если во всех действующих выработках будет допустимая концентрация метана.
-
В зависимости от взаимного расположения стволов различают секционную и единую схемы проветривания. При единой схеме - воздухоподающий ствол связан со всеми вент. стволами, вскрывающими поле. Секционную схему применяют на крупных шахтах, с выделением метана более 10 м3/т, суточной производительностью более 6-и тыс. тонн и простиранием шахтного поля более 6 км. В пределах единой и секционной схем различают центральную, фланговую и комбинированную схемы проветривания.
-
Центральная схема проветривания шахты характеризуется расположением воздухоподающего и воздухоотводящего стволов в центре шахтного поля. Схему целесообразно применять при разработке относительно небольших шахтных полей (не более 4-х км по простиранию) и не выше третьей категории по газу;
-
Недостатками схемы являются: двойной путь движения воздуха, что приводит к необходимости повышения депрессии; переменная величина депрессии; большие утечки воздуха через выработанное пространство.
-
Достоинствами схемы являются: меньшие капитальные затраты, быстрый ввод в эксплуатацию; концентрация всех сооружений поверхности в одном месте.
-
-
-
Фланговая схема проветривания
-
Комбинированная схема проветривания
-
Способ проветривания шахты - совокупность средств, создающих разницу давления воздушного потока, необходимую для движения воздуха по горным выработкам в заданном направлении и с требуемым расходом. Во всех шахтах в соответствии с ПБ, применяется искусственное проветривание, с учётом величины и направления естественной тяги (депрессии).
-
Всасывающий способ проветривания шахты - депрессия определяется, как разность между атмосферным давлением и разряженным воздухом в устье ствола;
-
Нагнетательное проветривание - применяют при разработке месторождений, склонных к самовозгоранию, на шахтах опасных по углекислоте;
-
Комбинированный способ - участки, расположенные около центральных стволов проветриваются по центральной схеме, а участки у границ шахтного поля - по фланговой. Рекомендуется применять на крупных предприятиях, разрабатывающих пласты на нескольких горизонтах. Для раздельного проветривания используются подготовительные выработки первого горизонта и очистные второго.
-
Обеспечение восходящего направления движения воздуха во всех исходящих струях (ПБ допускает исключение для угла наклона до 10 градусов и выработок протяжённостью до 30-и метров). Допускается нисходящее проветривание очистных забоев при угле наклона более 10 градусов, но при скорости воздуха не менее 1 м/с;
-
Применение прямоточной с подсвежением схемы проветривания выемочных участков с выдачей исходящей вентиляционной струи из лавы на выработанное пространство;
-
Изоляция остановленных выработок и отработанных участков (для снижения газовыделения из отработанных полей);
-
Применение эффективных способов борьбы с внешними и внутренними утечками воздуха (для обеспечения максимального количества воздуха потребителю);
-
Управление метановыделением в выработках (за счёт влияния горнотехнических факторов); Обеспечение распределения воздуха в шахтной вентиляционной сети в соответствии с фактическим газовыделением в горной выработке (для недопущения превышения ПДК);
-
Систематический контроль за состоянием проветривания (воздухораспределения, аэродинамическое качество крепи, дипрессия вентиляционной струи шахты).
-
-
Сокращение метановыделения в горной выработке достигается:
-
путём применения дегазации под- и надрабатываемых пластов - спутников, а также разрабатываемых пластов;
-
применяют так же отвод метана из полостей, суфляров и выработанного пространства;
-
метановыделение, имеющее внезапный характер, из трещин, а также шпуров скважин, вскрывших газопроводящие трещины.
-
-
Предотвращение возможности воспламенения и взрывов метана достигается:
-
исключением открытого огня в горных выработках (ПБ §57);
-
соблюдением мер использования электроэнергии (оборудование в специальном исполнении, отключение энергии АГЗ при превышении ПДК);
-
соблюдением мер по технике безопасности при взрывных работах (комплекс проветривания, применение предохранительных ВВ и электровзрывания, соблюдение ПДК метана - не более 1%, выполнение требований пылевого режима);
-
пылевой режим.
-
-
Локализация взрывов газо-воздушной среды.
Дегазация горных выработок включает в себя мероприятия уменьшающие газоносность пород и мероприятия по консервации газа в пласте. Эффективность дегазации оценивается коэффициентом дегазации.
















