169764 (582856)
Текст из файла
Министерство Образования Российской Федерации
САНКТ-ПЕТЕРБУРГСКИЙ ГОСУДАРСТВЕННЫЙ
ИНЖЕНЕРНО-ЭКОНОМИЧЕСКИЙ УНИВЕРСИТЕТ
Гуманитарный факультет
Кафедра современного естествознания и экологии
КОНТРОЛЬНАЯ работа по дисциплине
ПРИРОДООХРАННЫЕ СИСТЕМЫ И СООРУЖЕНИЯ
На тему: Защита атмосферы
Санкт-Петербург
2009
Защита атмосферы
Для атмосферы характерна чрезвычайно высокая динамичность, обусловленная как быстрым перемещением воздушных масс в латеральном и вертикальном направлениях, так и высокими скоростями, разнообразием протекающих в ней физико-химических реакций. Атмосфера рассматривается как огромный «химический котел», который находится под воздействием многочисленных и изменчивых антропогенных и природных факторов. Газы и аэрозоли, выбрасываемые в атмосферу, характеризуются высокой реакционной способностью. Пыль и сажа, возникающие при сгорании топлива, лесных пожарах, сорбируют тяжелые металлы и радионуклиды и при осаждении на поверхность могут загрязнить обширные территории, проникнуть в организм человека через органы дыхания.
Загрязнением атмосферы считается прямое или косвенное введение в нее любого вещества в таком количестве, которое воздействует на качество и состав наружного воздуха, нанося вред людям, живой и неживой природе, экосистемам, строительным материалам, природным ресурсам – всей окружающей среде.
Очистка воздуха от примесей.
Для защиты атмосферы от негативного антропогенного воздействия используют следующие меры:
- экологизацию технологических процессов;
- очистку газовых выбросов от вредных примесей;
- рассеивание газовых выбросов в атмосфере;
- устройство санитарно-защитных зон, архитектурно-планировочные решения.
Безотходная и малоотходная технология.
Экологизация технологических процессов – это создание замкнутых технологических циклов, безотходных и малоотходных технологий, исключающих попадание в атмосферу вредных загрязняющих веществ.
Наиболее надежным и самым экономичным способом охраны биосферы от вредных газовых выбросов является переход к безотходному производству, или к безотходным технологиям. Термин «безотходная технология» впервые предложен академиком Н.Н. Семеновым. Под ним подразумевается создание оптимальных технологических систем с замкнутыми материальными и энергетическими потоками. Такое производство не должно иметь сточных вод, вредных выбросов в атмосферу и твердых отходов и не должно потреблять воду из природных водоемов. То есть понимают принцип организации и функционирования производств, при рациональном использовании всех компонентов сырья и энергии в замкнутом цикле: (первичные сырьевые ресурсы – производство – потребление – вторичные сырьевые ресурсы).
Конечно же, понятие «безотходное производство» имеет несколько условный характер; это идеальная модель производства, так как в реальных условиях нельзя полностью ликвидировать отходы и избавиться от влияния производства на окружающую среду. Точнее следует называть такие системы малоотходными, дающими минимальные выбросы, при которых ущерб природным экосистемам будет минимален. Малоотходная технология является промежуточной ступенью при создании безотходного производства.
В настоящее время определилось несколько основных направлений охраны биосферы, которые в конечном счете ведут к созданию безотходных технологий:
1) разработка и внедрение принципиально новых технологических процессов и систем, работающих по замкнутому циклу, позволяющих исключить образование основного количества отходов;
2) переработка отходов производства и потребления в качестве вторичного сырья;
3) создание территориально-промышленных комплексов с замкнутой структурой материальных потоков сырья и отходов внутри комплекса.
Важность экономного и рационального использования природных ресурсов не требует обоснований. В мире непрерывно растет потребность в сырье, производство которого обходится всё дороже. Будучи межотраслевой проблемой, разработка малоотходных и безотходных технологий и рациональное использования вторичных ресурсов требует принятия межотраслевых решений.
Разработка и внедрение принципиально новых технологических процессов и систем, работающих по замкнутому циклу, позволяющих исключить образование основного количества отходов, является основным направлением технического прогресса.
Очистка газовых выбросов от вредных примесей
Газовые выбросы классифицируются по организации отвода и контроля – на организованные и неорганизованные, по температуре на нагретые и холодные.
Организованный промышленный выброс – это выброс, поступающий в атмосферу через специально сооруженные газоходы, воздуховоды, трубы.
Неорганизованные называют промышленные выбросы, поступающие в атмосферу в виде ненаправленных потоков газа в результате нарушения герметичности оборудования. Отсутствие или неудовлетворительной работы оборудования по отсосу газа в местах загрузки, выгрузки и хранения продукта.
Для снижения загрязнения атмосферы от промышленных выбросов используют системы очистки газов. Под очисткой газов понимают отделение от газа или превращение в безвредное состояние загрязняющего вещества, поступающего от промышленного источника.
Механическая очистка газов
Она включает сухие и мокрые методы.
Очистка газов в сухих механических пылеуловителях.
К сухим механическим пылеуловителям относятся аппараты, в которых использованы различные механизмы осаждения: гравитационный (пылеосадительная камера), инерционный (камеры, осаждение пыли в которых происходит в результате изменения направления движения газового потока или установки на его пути препятствия) и центробежный.
Гравитационное осаждение основано на осаждении взвешенных частиц под действием силы тяжести при движении запыленного газа с малой скоростью без изменения направления потока. Процесс проводят в отстойных газоходах и пылеосадительных камерах(рис.1). Для уменьшения высоты осаждения частиц в осадительных камерах установлено на расстоянии 40-100 мм множество горизонтальных полок, разбивающих газовый поток на плоские струи. Гравитационное осаждение действенно лишь для крупных частиц диаметром более 50-100 мкм, причем степень очистки составляет не выше 40-50%. Метод пригоден лишь для предварительной, грубой очистки газов.
Рис. 1
Пылеосадительные камеры (рис. 1). Осаждение взвешенных в газовом потоке частиц в пылеосадительных камерах происходит под действием сил тяжести. Простейшими конструкциями аппаратов этого типа являются отстойные газоходы, снабжаемые иногда вертикальными перегородками для лучшего осаждения твердых частиц. Для очистки горячих печных газов широко применяют многополочные пылеосадительные камеры.Пылеосадительная камера состоит: 1 - входной патрубок; 2 - выходной патрубок; 3 - корпус; 4 - бункер взвешенных частиц.
Инерционное осаждение основано на стремлении взвешенных частиц сохранять первоначальное направление движения при изменении направления газового потока. Среди инерционных аппаратов наиболее часто применяют жалюзийные пылеуловители с большим числом щелей (жалюзи). Газы обеспыливаются, выходя через щели и меняя при этом направление движения, скорость газа на входе в аппарат составляет 10-15 м/с. Гидравлическое сопротивление аппарата 100 - 400 Па (10 - 40 мм вод. ст.). Частицы пыли с d < 20 мкм в жалюзийных аппаратах не улавливаются. Степень очистки в зависимости от дисперсности частиц составляет 20-70%. Инерционный метод можно применять лишь для грубой очистки газа. Помимо малой эффективности недостаток этого метода - быстрое истирание или забивание щелей.
Данные аппараты отличаются простотой изготовления и эксплуатации, их достаточно широко используют в промышленности. Но эффективность улавливания не всегда достаточна.
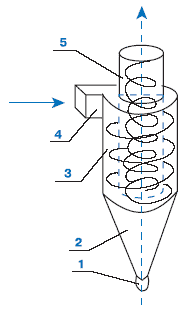
Центробежные методы очистки газов основаны на действии центробежной силы, возникающей при вращении очищаемого газового потока в очистном аппарате или при вращении частей самого аппарата. В качестве центробежных аппаратов пылеочистки применяют циклоны (рис.2) различных типов: батарейные циклоны, вращающиеся пылеуловители (ротоклоны) и др. Циклоны наиболее часто применяют в промышленности для осаждения твердых аэрозолей. Циклоны характеризуются высокой производительностью по газу, простотой устройства, надежностью в работе. Степень очистки от пыли зависит от размеров частиц. Для циклонов высокой производительности, в частности батарейных циклонов (производительностью более 20000 м3/ч), степень очистки составляет около 90% при диаметре частиц d > 30 мкм. Для частиц с d = 5-30 мкм степень очистки снижается до 80%, а при d == 2-5 мкм она составляет менее 40%.
Рис. 2 Рис. 3
На рис. 2 воздух вводится тангенциально во входной патрубок (4) циклона, представляющую собой закручивающий аппарат. Сформировавшийся здесь вращающийся поток опускается по кольцевому пространству, образованному цилиндрической частью циклона (3) и выхлопной трубой (5), в его конусную часть (2), а затем, продолжая вращаться, выходит из циклона через выхлопную трубу. (1) - пылевыпускное устройство.Аэродинамические силы искривляют траекторию частиц. При вращательно-нисходящем движении запыленного потока пылевые частицы достигают внутренней поверхности цилиндра, отделяются от потока. Под влиянием силы тяжести и увлекающего действия потока отделившиеся частицы опускаются и через пылевыпускное отверстие проходят в бункер.Более высокая степень очистки воздуха от пыли по сравнению с сухим циклоном может быть получена в пылеуловителях мокрого типа (рис.3), в которых пыль улавливается в результате контакта частиц со смачивающей жидкостью. Этот контакт может осуществляться на смоченных стенках, обтекаемых воздухом, на каплях или на свободной поверхности воды.
На рис. 3 представлен циклон с водяной пленкой. Запыленный воздух подается через воздуховод (5) в нижнюю часть аппарата тангенциально со скоростью 15-21 м/с. Закрученный воздушный поток, двигаясь вверх, встречает пленку воды, стекающую вниз по поверхности цилиндра (2). Очищенный воздух отводится из верхней части аппарата (4) также тангенциально по направлению вращения воздушного потока. В циклоне с водяной пленкой нет выхлопной трубы, свойственной сухим циклонам, что позволяет уменьшить диаметр его цилиндрической части.Внутренняя поверхность циклона непрерывно орошается водой из сопл (3), размещенных по окружности. Пленка воды на внутренней поверхности циклона должна быть сплошной, поэтому сопла установлены так, что струи воды направлены по касательной к поверхности цилиндра по ходу вращения воздушного потока. Пыль, захваченная водяной пленкой, стекает вместе с водой в коническую часть циклона и удаляется через патрубок (1), погруженный в воду отстойника. Отстоявшаяся вода вновь подается в циклон. Скорость воздуха на входе циклона 15-20 м/с. Эффективность циклонов с водяной пленкой составляет для пыли размером частиц до 5 мкм - 88-89%, для пыли с более крупными частицами - 95-100%.
Другими типами центробежного пылеуловителя служат ротоклон (рис. 4) и скруббер (рис. 5).
Циклонные аппараты наиболее распространены в промышленности, так как у них отсутствуют движущиеся части в аппарате и высокая надежность работы при температуре газов до 5000С, улавливание пыли в сухом виде, почти постоянное гидравлическое сопротивление аппарата, простота изготовления, высокая степень очистки.
Рис. 4 - Газопромывательс центральной опускной трубой:1 – входной патрубок; 2 – резервуар с жидкостью; 3 – сопло
Запыленный газ входит по центральной трубе, с большой скоростью ударяется о поверхность жидкости и, поворачивая на 180°, удаляется из аппарата. Частицы пыли при ударе проникают в жидкость и в виде шлама периодически или непрерывно отводятся из аппарата.
Недостатки: высокое гидравлическое сопротивление 1250-1500 Па, плохое улавливание частиц размером меньше 5мкм.
Полые форсуночные скрубберы представляют собой колонны круглого или прямоугольного сечения, в которых осуществляется контакт между газами и каплями жидкости, распыливаемой форсунками. По направлению движения газов и жидкости полые скрубберы делятся на противоточные, прямоточные и с поперечным подводом жидкости. При мокром обеспыливании обычно применяют аппараты с противонаправленным движением газов и жидкости, реже – с поперечным подводом жидкости. Прямоточные полые скрубберы широко используются при испарительном охлаждении газов.
В противоточном скруббере (рис. 5.) капли из форсунок падают навстречу запыленному потоку газов. Капли должны быть достаточно крупными, чтобы не быть унесенными газовым потоком, скорость которого обычно составляет vг = 0,61,2 м/с. Поэтому в газопромывателях обычно устанавливают форсунки грубого распыления, работающие при давлении 0,3–0,4 МПа. При скоростях газов более 5 м/с после газопромывателя необходима установка каплеуловителя.
Рис. 5 - Полый форсуночный скруббер: 1 – корпус; 2 – газораспределительная решетка; 3 – форсунки
Характеристики
Тип файла документ
Документы такого типа открываются такими программами, как Microsoft Office Word на компьютерах Windows, Apple Pages на компьютерах Mac, Open Office - бесплатная альтернатива на различных платформах, в том числе Linux. Наиболее простым и современным решением будут Google документы, так как открываются онлайн без скачивания прямо в браузере на любой платформе. Существуют российские качественные аналоги, например от Яндекса.
Будьте внимательны на мобильных устройствах, так как там используются упрощённый функционал даже в официальном приложении от Microsoft, поэтому для просмотра скачивайте PDF-версию. А если нужно редактировать файл, то используйте оригинальный файл.
Файлы такого типа обычно разбиты на страницы, а текст может быть форматированным (жирный, курсив, выбор шрифта, таблицы и т.п.), а также в него можно добавлять изображения. Формат идеально подходит для рефератов, докладов и РПЗ курсовых проектов, которые необходимо распечатать. Кстати перед печатью также сохраняйте файл в PDF, так как принтер может начудить со шрифтами.















