169738 (582852)
Текст из файла
Введение
Такое опасное производство, как мусоросжигательный завод (далее МСЗ), не может, по чисто техническим причинам, быть безотходным. Выбросы МСЗ охватывают все обычные для промпредприятий отходы: загрязненный воздух, загрязненные воды, загрязненные твердые отходы.
Мы рассмотрим все вопросы, связанные с этими загрязнениями ниже. Для снижения выбросов в воздух создаются мощные, эффективные, но крайне дорогие очистные сооружения. Для уменьшения объемов золы и шлаков, подлежащих захоронению, пытаются использовать их в строительных изделиях, что может быть крайне опасно. Однако, для снижения отходов от работы фильтров и мокрых скрубберов для нейтрализации кислых газов, ничего сделать нельзя, так как чем лучше очистка, тем больше объем загрязненной воды, илов и загрязненной массы с фильтров.
Работа любого мусоросжигательного завода опасна для окружающей среды и здоровья населения. Даже по нашим весьма старым нормам строительств, МСЗ относятся к опасным производствам, не ниже 2 категории опасности.
Глава 1. Загрязнение воздуха
-
Металлы
Для начала приведу таблицу 1.1 [Саст, 1990, 335 с.]. «Коэффициент концентрации» — это величина, которая показывает насколько данного вещества в выбросах МСЗ больше, чем в обычном воздухе, т.е. то, что называется «фон».
Таблица 1.1 Содержание химических элементов в продуктах сжигания твердых бытовых отходов разных городов
| Выбросы в воздух | Летучая зола | |||
| Элемент | Элемент содержание, % | коэффициент концентрации, % | Элемент содержание, % | коэффициент концентрации, % |
| Висмут | 0,0003 — 0,0013 | 300 — 1300 | 0,01 | 10000 |
| Серебро | 0,0006 — 0,0021 | 86 — 300 | 0,003 — 0,01 | 430 — 1430 |
| Олово | 0,02 — 0,18 | 80 — 720 | 0,22 — 0,3 | 880 —1200 |
| Свинец | 0,155 — 0,186 | 97 — 116 | 0,45 — 1 | 281 — 625 |
| Кадмий | 0,0005 — 0,0012 | 38 — 923 | 0,005 — 0,01 | 380 — 770 |
| Сурьма | 0,003 — 0,009 | 60 — 180 | 0,01 — 0,02 | 200 — 400 |
| Медь | 0,15 — 0,4 | 32 — 85 | 0,07 — 0,3 | 15 — 64 |
| Цинк | 0,18 — 0,56 | 22 — 68 | 1 — 3 | 120 — 360 |
| Хром | 0,06 — 0,16 | 7 — 20 | 0,08 — 0,6 | 10 — 200 |
| Ртуть | 0,00004 — 0,00009 | 5 — 10 | — | — |
Из данных этой таблицы видно, что в дымах МСЗ опасных металлов в некоторых случаях в тысячи раз больше, чем в «обычном» воздухе. Токсичные металлы выбрасываются в форме солей или окислов, то есть в устойчивом виде и могут лежать неопределенное число лет, накапливаясь постепенно и с пылью попадая в организм человека. Опасность токсичных металлов именно в том, что они (кроме ртути, которая любит мигрировать) могут накапливаться. Поэтому нормативы предельно допустимых концентраций (далее нормы ПДК) могут оказаться не применимыми к таким выбросам.
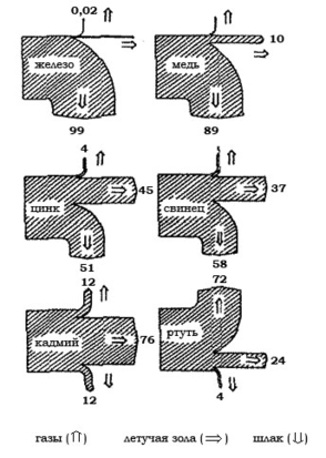
На рис. 1 показано, как распределяются выбросы металлов между выбросом в воздух, пылью iа фильтрах и шлаком, вытекающим из сжигателя. Естественно, что почти все железо (99%) уходит в шлак, но уже медь частично летит с пылью и именно она ответственна за образование диоксинов в зонах охлаждения газов.
Рис. 1.1. Распределение выбросов металлов.
Впрочем, ученые только начали изучать этот процесс и на роль катализатора рассматриваются и иные металлы. Один из самых токсичных и коварных металлов, кадмий, летит с пылью, и удержать его на фильтрах трудно, 12% улетает в трубу. Но ртуть, о ядовитости которой все знают, почти вся (72%) следует за кадмием. Тяжелые металлы оседают вокруг МСЗ по розе ветров и образуют характерное пятно загрязнения, а уж потом начинаются миграционные процессы и токсичные металлы, особенно ртуть, расходятся во все стороны к нам на стол.
-
Ртуть
Ртуть вылетает из труб МСЗ в форме паров (7%) и в форме хлоридов (70%). И те и другие весьма токсичны и являются потенциальными нейротоксинами. Мигрируя по пищевым цепям, ртуть накапливается в морских и речных организмах. Болезнь Минимата, которая поразила жителей на берегу залива в Японии, была вызвана сбросом ртутьсодержащих отходов промышленным концерном, производившим ПВХ-пластмассы. Металл накапливался в рыбе, постоянной пищей японцев, и вызывал заболевание, После того, как 200 человек умерло производство остановили, бухту у г. Минимата осушили, а ил (содержавший ртуть) был удален. По таким же цепочкам аккумулируется ртуть и на суше, ее конечным владельцем становятся хищники. Например, в Швеции исчезла пустельга, а поголовье соколов-сапсанов и ястребов сильно уменьшилось. МСЗ являются крупными источниками ртути. Так в США в Массачусетсе МСЗ выбрасывает 19 тонн ртути в год, в Эвергладсе (Флорида) высокие уровни ртути в рыбе были прямо связаны с выбросами МСЗ.
-
Продукты неполного сгорания
Список продуктов неполного сгорания (ПНС) насчитывает свыше ста идентифицированных опасных веществ. Среди них углеводороды и ароматические углеводороды, их хлорированные производные, токсичные фенолы и хлорфенолы, бром- и азотзамещенные вещества и, наконец, полихлорированные дибензодиоксины (ПХДД), -фураны (ПХДФ) и -бифенилы (ПХБ). К ПНС относят несколько условно все выбросы, которые не относятся к газам «проскока», то есть к тем летучим соединениям, которые содержались в исходной смеси, подаваемой на сжигание, но не успели сгореть. В результате в эту группу попадают кислые газы, хлористоводородная кислота (HCl), сернистый газ (SO2) и окислы азота (NOX). Первый из них HCl вызывает большие проблемы из-за своей крайней агрессивности по отношению к металлу камер сжигания. Он же ответственен за образование диоксинов по реакции Дикона в холодной зоне. Его удаляют промывкой, щелочными растворами извести, и они дают большую часть твердых отходов МСЗ. Основным источником выбросов HCl является горение поливинилхлоридных пластмасс, находящихся в потоке мусора.
Сернистый газ всегда образуется при горении мусора, так как органические остатки содержат серу (отсюда и мерзкий запах разложения). Полностью убрать его не просто, и вместо известкового молока приходится брать дорогую щелочь. Окислы азота весьма токсичны (ПДК для NO2 9 мг/м3 для остальных оксидов 5 мг/м3 в пересчете на NO2) и крайне трудно связываются со щелочами в обычных скрубберах. Для нас важно знать, что чем выше температура сжигания, тем больше окислов азота образуется. Это одна из причин, по которой очень высокие температуры при сжигании, могут привести к крайне высоким выбросам в атмосферу этих токсикантов. Если вспомнить, что диоксины, от которых пытаются избавиться, все равно вновь возникнут в холодной зоне, то такое рискованное «усовершенствование» технологии оказывается ненужной тратой денег и оборудования. Для более или менее полной очистки газов от оксидов азота приходится прибегать уже не к фильтрам и скрубберам, а к каталитическим дожигателям такого типа, как используют для дожига газов в автомобильных двигателях, только подешевле и более сложного устройства. Это обходится в копеечку.
Продукты неполного сгорания включают и нейтральные газы, такие как угарный газ (СО), который может образовываться в больших количествах при неправильном режиме работы сжигателя (мало воздуха, температура ниже 800°С и другие нарушения), Этот газ нейтральный и потому очень трудно улавливается. Он опасен и в очень малых концентрациях, чему пример жители Череповца, где работают рядом с жилыми домами мощные металлургические производства, выбрасывающие очень много СО, а в городе на улицах случались обмороки с людьми.
Малые концентрации угарного газа вызывают блокаду гемоглобина и обусловленное этим кислородное голодание тканей, к которому, как известно, наиболее чувствительна центральная нервная система, это вызывает раньше всего изменение функционального состояния коры головного мозга, что в большей или меньшей степени отражается на состоянии внутренних органов. ПДК 0,03 мг/л.
-
Микрозагрязнения
Анализ шлаков после дробления летучей золы с фильтров и отходящих газов МСЗ показал, что около 1% углерода, введенного в сжигатель, покидает его со шлаком, 0,1% связывается с летучей золой и около 0,01% выбрасывается в виде микрозагрязнений, остальной углерод превращается в окислы углерода (главным образом в углекислый газ) [Brunner, 1987, No 5, p.355]. Концентрация общего органического углерода (ООУ) в среднем в шлаках 10 г/кг, в летучей золе 40 г/кг, а в газах 20 мг/нм3.
-
Источники микрозагрязнений
Основных источников микрозагрязнений три:
-
Неполное сгорание тех микрозагрязнений, которые присутствовали в исходном мусоре. Не следует думать, что это пренебрежимо малые количества. Вот примерный расчет выбросов: при величине эффективности разрушения и удаления (ЭРУ) равной 99,999% (это требование для ПХБ) «проскок» равен 0,0001%. Однако эта малая величина означает, что каждый сжигаемый килограмм ПХБ будет давать выброс в окружающую среду равный 1 мг, что, совсем немало, для таких токсичных веществ. Если вы сожжете 1 000 тонн, то выброс будет равен 1 кг токсикантов. Есть о чем задуматься.
-
Синтез de novo диоксинов и фуранов (ПХДД и ПХДФ) при охлаждении горячих газов и в фильтрах.
-
Органические вещества, попадающие в отходящие газы из других источников таких, как воздух для сжигания, загрязнения из скрубберов, вода в системах очистки и из дополнительного топлива, которое всегда вынуждены использовать для сжигания мусора.
В США в списке опасных веществ, которые могут встречаться в отходящих газах сжигателей, содержится свыше 400 опасных химических веществ, которые включают как органические, так и неорганические соединения.
Пристальное внимание к микрозагрязнениям связано с тем, что в их число входят вещества крайне токсичные и весьма опасные для здоровья. Эти вещества — ПХДД, ПХДФ, ПХБ и полиароматические углеводороды (ПАУ) проявляют свои токсические свойства уже при столь малых концентрациях, что микроколичества их в газах МСЗ являются очень опасными. Если «обычные» токсиканты опасны при концентрациях мг на литр, то ПАУ опасны при концентрации мкг на кубометр, а диоксины при долях нанограмм в кубометре. В таблице 1.2 показаны выбросы основных микрозагрязнений в отходящих газах МСЗ Канады и Норвегии.
Таблица 1.2 Результаты обследования двух МСЗ. Выбросы микрозагрязнений в мкг/нм3
| Канадский МСЗ | Норвежский МСЗ | |
| Хлорбензолы | 3,3 — 9,9 | 0,034 — 3,8 |
| Хлорфенолы | 5,1 — 23,7 | не обнаружены |
| ПАУ | 3,2 — 21,9 | 0,84 — 6000 |
| ПХБ | 1,7 — 7,0 | <0,00003 — 0,06 |
| Диоксины | 0,063 — 0,597 | 0,047 — 1,8 |
Видно, что во времена проведения этих измерений (1987 — 1990 гг.) МСЗ в Канаде работал намного хуже, чем в Норвегии. Надо сказать, что и в США сжигатели того времени (то есть именно такие, которые нам теперь пытаются продавать) работали чудовищно грязно. В 1994 году ЕРА провело обследования всех МСЗ — 166 штук. Правда, в конечном итоге было проверено всего 12 МСЗ, но все они показали крайне высокие уровни выбросов, которые и объясняют столь сильное загрязнение всей территории США диоксинами. Уровень загрязнения пищи в Америке столь высок, что по оценке ЕРА уже угрожает здоровью нации.
-
ПАУ
Полиароматические углеводороды (ПАУ) являются опасными канцерогенами. Выбросы этих соединений из МСЗ не достигают уровня самого грязного сжигателя — дизелей, но довольно близки к ним. Если учесть, что дизели (тяжелые грузовики) двигаются, а МСЗ стоят на месте и сжигают сотни тысяч тонн мусора, то опасность загрязнения воздуха ПАУ вблизи МСЗ становится реальной.
0>Характеристики
Тип файла документ
Документы такого типа открываются такими программами, как Microsoft Office Word на компьютерах Windows, Apple Pages на компьютерах Mac, Open Office - бесплатная альтернатива на различных платформах, в том числе Linux. Наиболее простым и современным решением будут Google документы, так как открываются онлайн без скачивания прямо в браузере на любой платформе. Существуют российские качественные аналоги, например от Яндекса.
Будьте внимательны на мобильных устройствах, так как там используются упрощённый функционал даже в официальном приложении от Microsoft, поэтому для просмотра скачивайте PDF-версию. А если нужно редактировать файл, то используйте оригинальный файл.
Файлы такого типа обычно разбиты на страницы, а текст может быть форматированным (жирный, курсив, выбор шрифта, таблицы и т.п.), а также в него можно добавлять изображения. Формат идеально подходит для рефератов, докладов и РПЗ курсовых проектов, которые необходимо распечатать. Кстати перед печатью также сохраняйте файл в PDF, так как принтер может начудить со шрифтами.
















