169605 (582833)
Текст из файла
Содержание
Введение
1. Общая характеристика каталитических методов очистки
2. Каталитическая очистка газовых выбросов от оксидов азота и углерода
2.1 Существующие катализаторы и процессы нейтрализации оксидов азота и углерода
2.2 Новые разработки каталитических систем
3. Перспективы каталитической очистки газовых выбросов
Задача
Выводы
Список литературы
Введение
До определенного этапа развития человеческого общества, в частности индустрии, в природе существовало экологическое равновесие, т.е. деятельность человека не нарушала основных природных процессов или очень незначительно влияла на них. Экологическое равновесие в природе с сохранением естественных экологических систем существовало миллионы лет и после появления человека на Земле. Так продолжалось до конца XIX в.
Двадцатый век вошел в историю как век небывалого технического прогресса, бурного развития науки, промышленности, энергетики, сельского хозяйства.
Одновременно как сопровождающий фактор росло и продолжает расти вредное воздействие индустриальной деятельности человека на окружающую среду. В результате происходит в значительной мере непредсказуемое изменение экосистем и всего облика планеты Земля.
В настоящее время с ростом и бурным развитием промышленности большое внимание уделяется ее экологической обоснованности, а именно проблеме очистке и утилизации отходов. В данной работе рассматривается один из видов отходов промышленности – газовые выбросы предприятий. Впервые как проблему газовые выбросы можно рассматривать на примере лондонского «смога» (от англ. smoke – дым), под которым первоначально понимали смесь сильного тумана и дыма. Такого типа смог наблюдался уже в Лондоне уже более 100 лет назад. В настоящее время это уже более широкий термин – над всеми большими и индустриально развитыми мегаполисами помимо дымотуманного смога выделяют и фотохимический смог. Если причиной смога первого типа является в основном сжигание угля и мазута, то причиной второго – выбросы автотранспорта.
Конечно же, все это усугубляется некоторым кумулятивным действием большого количества примесей. Zb, при дымотуманном смоге сернистый газ дает аэрозоль серной кислоты (из ряда кислотных дождей) который, естественно, намного реактивней по своему действию.
Неудивительно, что в настоящее время пристальное внимание уделяется проблеме удаления первопричин возникновения таких нежелательных явлений, как выбросы в атмосферу. В данной работе тематика проблемы сознательно ограничена рамками промышленных газовых выбросов, так как именно промышленность является источником опасных и крайне опасных примесей и составляющих явлений типа «смога».
В газообразных промышленных выбросах вредные примеси можно разделить на две группы: а) взвешенные частицы (аэрозоли) твердых веществ пыль, дым; жидкостей — туман б) газообразные и парообразные вещества.
К аэрозолям относятся взвешенные твердые частицы неорганического и органического происхождения, а также взвешенные частицы жидкости (тумана).
Пыль – это дисперсная малоустойчивая система, содержащая больше крупных частиц, чем дымы и туманы. Счетная концентрация (число частиц в 1 см3) мала по сравнению с дымами и туманами. Неорганическая пыль в промышленных газовых выбросах образуется при горных разработках, переработке руд, металлов, минеральных солей и удобрений, строительных материалов, карбидов и других неорганических веществ. Промышленная пыль органического происхождения – это, например, угольная, древесная, торфяная, сланцевая, сажа и др. К дымам относятся аэродисперсные системы с малой скоростью осаждения под действием силы тяжести. Дымы образуются при сжигании топлива и его деструктивной переработке, а также в результате химических реакций, например при взаимодействии аммиака и хлороводорода, при окислении паров металлов в электрической дуге и т.д. Размеры частиц в дымах много меньше, чем в пыли и туманах, и составляют от 5 мкм до субмикронных размеров, т.е. менее 0,1 мкм. Туманы состоят из капелек жидкости, образующихся при конденсации паров или распылении жидкости. В промышленных выхлопах туманы образуются главным образом из кислоты: серной, фосфорной и др. Вторая группа – газообразные и парообразные вещества, содержащиеся в промышленных газовых выхлопах, гораздо более многочисленна. К ней относятся кислоты, галогены и галогенопроизводные, газообразные оксиды, альдегиды, кетоны, спирты, углеводороды, амины, нитросоединения, пары металлов, пиридины, меркаптаны и многие другие компоненты газообразных промышленных отходов.
В настоящее время, когда безотходная технология находится в периоде становления и полностью безотходных предприятий еще нет, основной задачей газоочистки служит доведение содержания токсичных примесей в газовых примесях до предельно допустимых концентраций (ПДК), установленных санитарными нормами. В данной таблице выборочно приведены ПДК некоторых атмосферных загрязнителей.
1. Общая характеристика каталитических методов очистки
Каталитические методы очистки газов основаны на реакциях в присутствии твердых катализаторов, т. е. на закономерностях гетерогенного катализа. В результате каталитических реакций примеси, находящиеся в газе, превращаются в другие соединения, т. е. в отличие от рассмотренных методов примеси не извлекаются из газа, а трансформируются в безвредные соединения, присутствий: которых допустимо в выхлопном газе, либо в соединения, легко удаляемые из газового потока. Если образовавшиеся вещества подлежат удалению, то требуются дополнительные операции (например, извлечение жидкими или твердыми сорбентами).
Рис.1. Катионитовый фильтр:
1 – катионит;
2 – песок
Трудно провести границу между адсорбционными и каталитическими методами газоочистки, так как такие традиционные адсорбенты, как активированный уголь, цеолиты, служат активными катализаторами для многих химических реакций. Очистку газов на адсорбентах–катализаторах называют адсорбционно-каталитической. Этот прием очистки выхлопных газов весьма перспективен ввиду высокой эффективности очистки от примесей и возможности очищать большие объемы газов, содержащих малые доли примесей (например, 0,1—0,2 в объемных долях SO2). Но методы утилизации соединений, полученных при катализе, иные, чем в адсорбционных процессах.
Адсорбционно-каталитические методы применяют для очистки промышленных выбросов от диоксида серы, сероводорода и серо-органических соединений. Катализатором окисления диоксида серы в триоксид и сероводорода в серу служат модифицированный добавками активированный уголь и другие углеродные сорбенты. В присутствии паров воды на поверхности угля в результате окисления SO2 образуется серная кислота, концентрация которой в адсорбенте составляет в зависимости от количества водяного пара при регенерации угля от 15 до 70%.
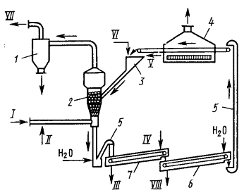
Схема каталитического окисления H2S во взвешенном слое высокопрочного активного угля приведена на рис. 2. Окисление H2S происходит по реакции
H2S + 1/2 О2 = Н2О + S
Активаторами этой каталитической реакции служат водяной пар и аммиак, добавляемый к очищаемому газу в количестве ~0,2г/м3. Активность катализатора снижается по мере заполнения его пор серой и когда масса S достигает 70—80% от массы угля, катализатор регенерируют промывкой раствором (NH4)2S. Промывной раствор полисульфида аммония разлагают острым паром с получением жидкой серы.
Представляет большой интерес очистка дымовых газов ТЭЦ или других отходящих газов, содержащих SO2 (концентрацией 1-2% SO2), во взвешенном слое высокопрочного активного угля с получением в качестве товарного продукта серной кислоты и серы.
Рис. 2. Схема каталитической очистки газа от сероводорода во взвешенном слое активного угля: 1 – циклон-пылеуловитель; 2 – реактор со взвешенным слоем; 3 – бункер с питателем; 4 – сушильная камера; 5 – элеватор; 6 – реактор промывки катализатора (шнек); 7 – реактор экстракции серы (шнек-растворитель); I – газ на очистку; II – воздух с добавкой NH3; III раствор (NH4)2Sn на регенерацию; IV –раствор (NH4)2S; V регенерированный уголь; VI – свежий активный уголь; VII – очищенный газ; VIII – промывные воды
Другим примером адсорбционно-каталитического метода может служить очистка газов от сероводорода окислением на активном угле или на цеолитах во взвешенном слое адсорбента-катализатора.
Широко распространен способ каталитического окисления токсичных органических соединений и оксида углерода в составе отходящих газов с применением активных катализаторов, не требующих высокой температуры зажигания, например металлов группы платины, нанесенных на носители.
В промышленности применяют также каталитическое восстановление и гидрирование токсичных примесей в выхлопных газах. На селективных катализаторах гидрируют СО до CH4 и Н2О, оксиды азота — до N2 и Н2О etc. Применяют восстановление оксидов азота в элементарный азот на палладиевом или платиновом катализаторах.
Каталитические методы получают все большее распространение благодаря глубокой очистке газов от токсичных примесей (до 99,9%) при сравнительно невысоких температурах и обычном давлении, а также при весьма малых начальных концентрациях примесей. Каталитические методы позволяют утилизировать реакционную теплоту, т.е. создавать энерготехнологические системы. Установки каталитической очистки просты в эксплуатации и малогабаритны.
Недостаток многих процессов каталитической очистки— образование новых веществ, которые подлежат удалению из газа другими методами (абсорбция, адсорбция), что усложняет установку и снижает общий экономический эффект.
2. Каталитическая очистка газовых выбросов от оксидов азота и углерода
2.1 Существующие катализаторы и процессы нейтрализации оксидов азота и углерода
Процесс очистки газовых выбросов может быть основан на адсорбционном, абсорбционном и каталитическом методах. Наиболее эффективным инструментом обезвреживания загрязняющих веществ до уровня предельно допустимых концентраций являются каталитические реакции. Каталитический метод предпочтителен и с экономической точки зрения.
Так, для денитрификации отходящих газов ТЭС разработаны каталитические процессы высокотемпературного и селективного восстановления с использованием высокоактивных катализаторов [3]. Первый процесс протекает в бескислородной среде, второй — осуществляется при взаимодействии восстановителя, чаще всего аммиака, с NОх в присутствии кислорода.
Надо отметить, что каталитический процесс нейтрализации продуктов горения протекает, как правило, при температуре выше 300 °С и при малых временах контакта, что связано с большими скоростями потока промышленных выбросов и отработанных газов двигателей внутреннего сгорания [1, 4]. Соответственно к катализаторам очистки газов предъявляются весьма жесткие требования — высокая активность и избирательность каталитического действия, термостабильность, устойчивость к действию ядов, высокая механическая прочность, большая теплопроводность. Катализаторы не должны быть потенциально опасными, а их производство не должно привносить дополнительное загрязнение в окружающую среду [5, 6].
В настоящее время все большее распространение получают насыпные (гранулированные) и монолитные многокомпонентные каталитические системы, содержащие активные металлы на различных носителях. В качестве активного компонента используют один или несколько металлов:
Mn, Fe, Cr, V, Мо, Со, Се, Ni, W, Си, Sn.Au, Pt, Pd, Rh и lr
Существующие методы каталитической очистки газовых выбросов от оксидов азота основаны на восстановлении NОх такими соединениями как аммиак, углеводороды, монооксид углерода и др. Для практического использования в этом процессе пригодны только те катализаторы, которые сохраняют свою активность в присутствии кислорода, являющегося конкурентом NOx при взаимодействии с оксидом углерода. Поэтому большой избыток кислорода резко снижает конверсию NOx [13].
Вместе с тем установлено, что на некоторых катализаторах с увеличением концентрации кислорода возрастает конверсия оксида углерода.
Селективное восстановление N0* монооксидом углерода в окислительной среде достигается с участием lr, Pt, Pd, Rd, нанесенных на Al2О3 [5]. Монооксид углерода селективно восстанавливает оксиды азота также на биметаллических Pt-Ru, Pd-Ag, Pd-Cr, Pt-Rh-катализаторах [6].
В качестве катализаторов селективного восстановления оксидов азота испытаны оксиды ванадия, хрома, цинка, железа, меди, марганца, никеля, кобальта, молибдена и др. Каталитическая активность их при 200 — 350 °С снижается в ряду:
В практике дожигания вредных веществ часто используют оксидные и металлические катализаторы, отработанные в целевых промышленных процессах — алюмоплатиновые катализаторы риформинга и изомеризации, палладиевые катализаторы гидрирования, оксидные хромсодержащие катализаторы конверсии метана и монооксида углерода (НТК-4, СТК-1-7, ГИПХ-105). Однако следует иметь в виду, что эти катализаторы содержат соединения хрома (значительная их часть представлена Сr6+), что делает опасным использование данных катализаторов в экологических целях.
Проведено изучение восстановления NO метаном и пропаном в присутствии избытка кислорода на каталитических композициях, представляющих собой механические смеси известных промышленных катализаторов [19, 25, 26]. Каталитическая система МК1(3) — механическая смесь промышленных катализаторов, Ni-Cr-оксидного и НТК-10-1 — показала высокую активность в процессе комплексной очистки газов от N0, СЬЦ и СО. Степень превращения указанных компонентов составила соответственно 73, 99 и 99% в интервале температур 400—490 0С.
Вообще в последнее время много внимания уделяется разработке новых каталитических систем для селективного восстановления NOx углеводородами и, прежде всего, метаном [2]. При проведении процесса восстановления оксидов азота метаном на Со-, Мn-, Ni-цеолитных катализаторах при температуре 400—450 °С и соотношении СH4 : О2 = 0,05 конверсия NOx составила 50% [3], что считается хорошим результатом, так как реакция в этом случае протекает в условиях значительного избытка кислорода. Зависимость конверсии NOx от концентрации метана имеет вид «кривой насыщения» [2]. Показано, что с повышением температуры более 450 0С вклад реакции окисления СН4 на цеолитном катализаторе Ga-H-ZSM-5 не велик (конверсия метана составляет около 32%). Напротив, на катализаторах Co-H-ZSM-5 и Cu-H-ZSM-5 при температуре выше 500 0С протекает в основном реакция окисления метана до диоксида углерода и воды (конверсия метана составляет более 99%).
Характеристики
Тип файла документ
Документы такого типа открываются такими программами, как Microsoft Office Word на компьютерах Windows, Apple Pages на компьютерах Mac, Open Office - бесплатная альтернатива на различных платформах, в том числе Linux. Наиболее простым и современным решением будут Google документы, так как открываются онлайн без скачивания прямо в браузере на любой платформе. Существуют российские качественные аналоги, например от Яндекса.
Будьте внимательны на мобильных устройствах, так как там используются упрощённый функционал даже в официальном приложении от Microsoft, поэтому для просмотра скачивайте PDF-версию. А если нужно редактировать файл, то используйте оригинальный файл.
Файлы такого типа обычно разбиты на страницы, а текст может быть форматированным (жирный, курсив, выбор шрифта, таблицы и т.п.), а также в него можно добавлять изображения. Формат идеально подходит для рефератов, докладов и РПЗ курсовых проектов, которые необходимо распечатать. Кстати перед печатью также сохраняйте файл в PDF, так как принтер может начудить со шрифтами.
















