169121 (582731)
Текст из файла
Истощение ресурсов гидросферы. Загрязнение воды. Нормирование параметров качества воды.
Гидросфера - одна из важнейших составляющих нашей планеты, объединяющая все свободные воды. Она занимает около 70% поверхности земного шара. Общие запасы воды в свободном состоянии составляют 1386 млн. км3. Если бы этой водой равномерно покрыть земной шар, то ее слой составил бы 3700 м. В то же время 97-98% воды - это соленые воды морей и океанов. И лишь 2-3% - пресная вода, необходимая для жизни. 75% пресной воды на Земле находится в виде льда, значительную часть ее составляют подземные воды, и лишь 1% доступен для живых организмов.
Вода входит в состав всех элементов биосферы. Это составная часть не только водоемов, но и воздуха, почвы, живых существ.
Вода - это источник жизни, без нее невозможно существование ни животных, ни растений, ни человека. Она входит в состав клеток и тканей любого животного и растения. Сложнейшие реакции в животных и растительных организмах могут протекать только при наличии воды. Тело человека на 65% состоит из воды. Тела животных содержат, как правило, не менее 50% воды. Растения также содержат много воды: картофель - 80%, помидор - 95% и т.д.
Под влиянием солнечной энергии и сил гравитации воды Земли могут переходить из одного состояния в другое и находятся в непрерывном движении. Круговорот воды увязывает воедино все части биосферы, образуя в целом замкнутую систему; океан - атмосфера - суша.
Гидросфера играет решающую роль в формировании особых черт планеты. Она имеет большое значение в процессах обмена кислородом и углекислым газом с атмосферой, способствует поддержанию относительно неизменного климата, что позволило жизни воспроизводиться в течение более 3 млрд. лет. Климат на Земле во многом зависит от водных пространств и содержания водяного пара в атмосфере. Океаны и моря оказывают смягчающее, регулирующее воздействие на температуру воздуха, накапливая тепло летом и отдавая его атмосфере зимой. В океане происходит циркуляция и перемешивание теплых и холодных вод.
В гидросфере протекает основное количество химических реакций, обусловливающих производство биомассы и химическую очистку биосферы. Факторы самоочищения водоемов многочисленны и многообразны. Условно их можно разделить на три группы: физические, химические и биологические.
Среди физических факторов первостепенное значение имеют разбавление, растворение и перемешивание веществ. Этому способствует интенсивное течение рек. Кроме того, на процесс очистки влияют оседание в воде нерастворимых осадков, а также отстаивание загрязненных вод. Важным физическим фактором самоочищения является ультрафиолетовое излучение Солнца. Под его влиянием гибнут бактерии, вирусы, микробы.
Из химических факторов самоочищения следует отметить окисление органических и неорганических веществ кислородом, растворенным в воде.
Активную роль в самоочищении гидросферы играет совокупная деятельность всех населяющих водоемы организмов. В процессах жизнедеятельности они окисляют (разлагают) органические загрязнители.
Кроме всего указанного выше, гидросфера является важным источником продовольствия для людей и других обитателей суши, источником получения ценного сырья и топлива. Океаны, моря, реки и другие водоемы представляют собой природные пути сообщения и имеют рекреационное значение.
Водоемкость всего человеческого хозяйства в XX столетии увеличилась в 12 раз и достигла около 5 тыс. км в год. Это почти 14% годового стока всех рек мира. Реки остаются преобладающим источником водоснабжения в мире.
Около 70% мирового водопотребления приходится на сельское хозяйство, 13% - на промышленность, 10?/о - на коммунально-бытовые нужды, 7% - на собственные нужды водного хозяйства (гидроэнергетика, судоходство, рыбное хозяйство и др.).
Главными источниками антропогенного загрязнения гидросферы служат:
-
сточные воды промышленных Предприятий;
-
сточные воды коммунального хозяйства городов и других населенных пунктов;
-
стоки систем орошения, поверхностные стоки с полей и других сельскохозяйственных объектов;
-
атмосферные выпадения загрязнителей на поверхность водоемов и водосборных бассейнов;
-
преднамеренное захоронение на дне морей и океанов различных токсических отходов (в том числе радиоактивных);
-
утечка и аварийные выбросы загрязняющих веществ с судов и из подводных трубопроводов.
Сточные воды - это воды, использованные на бытовые, производственные или другие нужды и загрязненные различными примесями, изменившими их первоначальный химический состав и физические свойства, а также воды, стекающие с территорий населенных пунктов и промышленных предприятий в результате выпадения атмосферных осадков или поливки улиц,
В зависимости от происхождения, вида и состава они подразделяются на три основные категории:
-
бытовые;
-
производственные:
-
атмосферные (поверхностные).
Ежегодно в водоемы сбрасывается 160 км3 промышленных стоков, в почвы вносится свыше 500 млн. т минеральных удобрений и около 3 млн. т ядохимикатов, треть которых смывается поверхностными стоками в водоемы. 30% поверхности океана покрыто нефтепродуктами, которые затрудняют поступление кислорода из атмосферы в воду. Сюда же в огромных количествах попадают хлорорганические токсины, радионуклиды, тяжелые металлы.
Около 1,3 млрд. человек пользуются в быту только загрязненной водой, В результате - эпидемии холеры, тифа и других инфекционных заболеваний. Загрязнение рек и морей сопровождается размножением микроорганизмов, массовой гибелью рыб и других водных животных и растений.
Общая масса загрязнителей гидросферы огромна - около 15 млрд. т. в год. К наиболее опасным загрязнителям относятся соли тяжелых металлов, фенолы, пестициды и другие органические яды, нефтепродукты, синтетические поверхностно-активные вещества (СПАВ) и другие моющие средства, минеральные удобрения.
Кроме химического загрязнения, определенное значение имеют также механическое, тепловое, радиоактивное и биологическое загрязнения.
Нормирование качества воды рек, озер и водохранилищ проводится в соответствии с санитарными правилами и нормами охраны поверхностных вод от загрязнения СанПиН № 4630-88. Согласно указанным правилам, все водоемы делятся на две категории:
1) водоемы питьевого и культурно-бытового назначения;
2) водоемы рыбохозяйственного назначения.
Правила устанавливают нормируемые значения для следующих параметров воды водоемов:
-
содержание плавающих примесей и взвешенных веществ,
-
органолептические показатели (запах, привкус, окраска),
-
температура воды,
-
значение рН,
-
состав и концентрации минеральных примесей,
-
количество растворенного в воде кислорода,
-
биохимическая потребность воды в кислороде,
-
химическая потребность воды в кислороде,
-
состав и предельно допустимая концентрация ядовитых, вредных веществ и болезнетворных бактерий.
ПДКв (г/м3) - предельно допустимая концентрация вещества в воде водоемов питьевого и культурно-бытового водопользования. Эта концентрация не должна оказывать прямого или косвенного влияния на организм человека в течение всей его жизни и на здоровье последующих поколений, а также не должна ухудшать гигиенические условия водопользования.
Органолептическими показателями, характеризующими качество воды водоемов, являются запах, привкус, окраска.
Значение рН характеризует кислотные свойства среды. Нейтральными считаются воды с рН, находящейся в пределах от 6,5 до 8,5.
Общий уровень загрязнения водоемов может характеризоваться количеством кислорода, расходуемым на окисление загрязнителей. При этом различают биохимическую (БПК) и химическую (ХПК) потребности в кислороде.
Под БПК (мг О2/л) понимается такое количество кислорода в воде, которое требуется живым организмам для окисления органических загрязнителей, присутствующих в воде, за определенный промежуток времени. Процесс биохимического окисления протекает медленно, поэтому БПК записывается с индексом, обозначающим количество суток, в течение которых шло окисление: БПК5, БПК10 и т.д. Причем, БПК5 < БПК 10.
С увеличением индекса БПК стремится к какой-то предельной величине, Эту максимальную величину называют полной биохимической потребностью (БПКп). Под ХПК понимается величина, характеризующая общее содержание в воде восстановителей, реагирующих с сильными окислителями. ХПК выражается количеством кислорода, эквивалентным количеству расходуемого окислителя, необходимого для окисления всех восстановителей, содержащихся в воде. На практике в качестве окислителя могут использоваться хлор, озон и другие вещества.
Экологические факторы: абиотические, биотические, антропогенные факторы.
Экологические факторы - это такие свойства компонентов экосистемы и ее внешней среды, которые оказывают непосредственное действие на живые организмы, а также на характер их отношений друг с другом и особями других популяций.
По природе источников и характеру действия факторы среды разделяются на: абиотические, биотические и антропогенные.
Абиотические факторы - это все свойства неживой природы, которые прямо или косвенно влияют на живые организмы. К ним относятся физические и химические факторы.
Физические факторы, в свою очередь, включают космические, климатические, почвенно-грунтовые, геологические, физические поля (гравитационное, магнитное, электромагнитное), ионизирующую и проникающую радиацию, движение сред (акустические колебания, волны, течения, приливы), суточные и сезонные изменения в природе.
Космические факторы - это поступающая от Солнца энергия и периодическая смена освещенности по времени суток и года, космическая пыль, метеоритное вещество, астероиды, вещества и волны галактического пространства.
Климатические факторы - температура, влажность и прозрачность атмосферного воздуха, движение воздушных масс, атмосферное давление, количество осадков и т.п.
К почвенно-грунтовым факторам относятся почвы различной плодородности и вода различной степени прозрачности, кислотности и наличия растворенных веществ.
Химические факторы - это компонентный состав воздуха, воды, почвы, примеси промышленного происхождения.
Биотические факторы - это вся совокупность влияния жизнедеятельности одних организмов на другие. Воздействие происходит как внутри видов, так и между видами. Каждый организм постоянно испытывает на себе прямое или косвенное влияние других существ, вступает в связь с представителями своего вида и других видов, зависит от них и сам оказывает воздействие. К этому типу факторов относятся совместная охота и защита от врагов, борьба за пищу и территорию, хищничество, симбиоз и т.п.
Особую роль в биосфере играют антропогенные факторы, порожденные деятельностью человека и человеческого общества в целом. Часть их связана с хозяйственным изъятием природных ресурсов, нарушением естественных ландшафтов - это вырубка лесов, промысел растений, рыб, птиц и зверей, замена природных комплексов сооружениями, коммуникациями, свалками и пустырями. Другие антропогенные воздействия обусловлены загрязнением природной среды (воздуха, водоемов, земли) побочными продуктами, отходами производства и потребления.
Преобладающая часть антропогенных факторов, связанная с производством, применением техники, машин, с влиянием промышленности, транспорта, строительства на природные экологические системы, носит название техногенных факторов. Нетехногенная часть антропогенных факторов связана, в основном, бытом и поведением человека в природе. Следует подчеркнуть, что значимость разнообразия для природных систем в значительной мере действительна и для социальных структур. Всякое стремление к упрощению социальной структуры общества, перевод ее на однообразие, авторитаризм может дать кратковременный положительный результат, за которым неминуемо проявляются отрицательные последствия.
Рациональное использование водных ресурсов. Защита гидросферы от загрязнений.
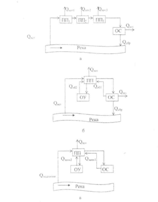
Санитарные правила и нормы охраны поверхностных вод от загрязнения запрещают сбрасывать в водоемы сточные воды, если этого можно избежать, используя более рациональную технологию, безводные процессы и системы повторного и оборотного водоснабжения, а также если сточные воды содержат ценные отходы, которые можно утилизировать. Широкое распространение получило повторное (последовательное) использование водных ресурсов, При этой системе водоснабжения вода используется последовательно в нескольких производственных процессах или в оборудовании без дополнительной обработки и очистки или после соответствующей очистки (рис,8а). Особенно часто такой способ встречается в отделочном производстве при промывке или крашении продукции. В ряде отраслей промышленности 90-95% сточных вод используется в системах оборотного водообеспечения (рис. 86), предназначенных для многократного использования воды в технологических процессах. При оборотном водоснабжении предусматривается очистка сточной воды, охлаждение оборотной воды, обработка и повторное использование сточной воды. Применение оборотного водоснабжения позволяет в 10-50 раз уменьшить потребление природной воды.
Основным направлением уменьшения сброса сточных вод и загрязнения ими водоемов является создание замкнутых систем водного хозяйства. Под замкнутой системой водного хозяйства промышленного предприятия понимается система, в которой вода используется в производстве многократно без очистки или после соответствующей обработки, исключающей образование каких-либо отходов и сброс сточных вод в водоем (рис. 8в). Создание оборотных и замкнутых систем водоснабжения - наиболее перспективный путь уменьшения потребления свежей воды. Для защиты гидросферы от загрязнения применяют различные методы очистки производственных и бытовых сточных вод. Их можно разделить на пять групп; механические, биохимические (биологические), физико-химические, химические, термические.
Загрязнение и деградация почв. Классификация твердых отходов
Почва - главный фундамент жизни. Это уникальное и, в тоже время, легкоуязвимое природное образование. Человек разрушает почву на глубину 1 см всего за 3 года. Основные причины потерь и деградации почв;
-
ветровая и водная эрозия при механической обработке;
-
отведение земель под строительство городов, предприятий, дорог и т.п.;
-
затопление при строительстве ГЭС;
-
загрязнение отходами производства и быта;
-
закисление кислотными дождями;
-
засоление при неграмотной агротехнике и мелиорации;
-
химическое и радиационное загрязнение;
потери при авариях.
Загрязнение земель может осуществляться путем непосредственного внесения в них избыточного количества минеральных удобрений, ядохимикатов, твердых отходов, а также опосредованно через воздушную или водную сред) выхлопными газами автотранспорта, осадками, сточными водами и т.п. Актуальной проблемой для Беларуси является радиоактивное загрязнение местности, вызванное аварией на Чернобыльской АЭС, которому подвержено 22% территории республики.
Рис. 1. Схемы водообеспечения промышленных предприятий:
а) повторно-последовательная; б) оборотная; в) замкнутая ПП - производственный процесс: ОС - очистные сооружения; ОУ - охладительные установки; QИст - вода, подаваемая от источника; Qпот - вода, безвозвратно потребляемая предприятием; Qшл - вода, удаляемая со шламом; Qсбр - вода, сбрасываемая в водоем: Qоб1 - оборотная вода после очистки; Qоб2 - оборотная вода после охладительных установок; Qподпитки - вода, подаваемая от источника на восполнение ее потерь в процессе использования; Qзамк.1 - вода, возвращаемая в процесс после очистки; Qзамк.2- вода, возвращаемая в процесс после охлаждения
Характеристики
Тип файла документ
Документы такого типа открываются такими программами, как Microsoft Office Word на компьютерах Windows, Apple Pages на компьютерах Mac, Open Office - бесплатная альтернатива на различных платформах, в том числе Linux. Наиболее простым и современным решением будут Google документы, так как открываются онлайн без скачивания прямо в браузере на любой платформе. Существуют российские качественные аналоги, например от Яндекса.
Будьте внимательны на мобильных устройствах, так как там используются упрощённый функционал даже в официальном приложении от Microsoft, поэтому для просмотра скачивайте PDF-версию. А если нужно редактировать файл, то используйте оригинальный файл.
Файлы такого типа обычно разбиты на страницы, а текст может быть форматированным (жирный, курсив, выбор шрифта, таблицы и т.п.), а также в него можно добавлять изображения. Формат идеально подходит для рефератов, докладов и РПЗ курсовых проектов, которые необходимо распечатать. Кстати перед печатью также сохраняйте файл в PDF, так как принтер может начудить со шрифтами.
















