165727 (582556), страница 3
Текст из файла (страница 3)
Действие амперометрических газоанализаторов основано на зависимости между электрическим током и количеством определяемого компонента, прореагировавшим на индикаторном электроде. Если контролируемый компонент полностью вступает в электрохимическую реакцию, то выполняется закон Фарадея: I = = nFQC, где I-ток, Q - расход газа, С-концентрация определяемого компонента, F-число Фарадея, n-число электронов, участвующих в реакции.
Электрохимическое превращение данного компонента газовой смеси со 100% -ным выходом по току (т.е. отсутствие побочных электродных реакций) обеспечивается выбором индикаторного электрода и его потенциала. Необходимое постоянное значение разности потенциалов поддерживается благодаря тому, что сравнительно и индикаторный электроды выполняют из двух разных специально подобранных металлов, например из Аи и Zn, Au и Pb, Ni и Cd (ячейки гальванического типа). Разность потенциалов можно стабилизировать и посредством электронной системы с использованием третьего вспомогательного электрода (ячейки потенциостатического типа).
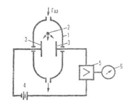
Рис.12. Амперометрический газоанализатор: 1-электрохим. ячейка; 2-вспомогат. электрод; 3-измерит, электрод; 4-потенциостат; 5 - электрод сравнения; 6-усилитель; 7-вторичный прибор; 8-побудитель расхода газа; 9-камера с запасным электролитом.
Амперометрические газоанализаторы применяют для определения газов, обладающих окислительно - восстановительными свойствами, например SO2, NO2, H2S, О2, С12, О3. В газоанализаторы для измерения содержания SO2 в воздухе (рис.12) анализируемый газ поступает на измерительный электрод 3 электрохимические ячейки и по газовому каналу - в камеру с запасным электролитом 9, в который помещен электрод сравнения 5. Вспомогательный электрод 2 расположен в отдельной камере, которая, как и камера 9, соединена с камерой измерительного электрода электролитическим каналом. Достоинства амперометрического газоанализатора - высокая чувствительность и избирательность.
Кроме рассмотренной выше конструкции электрохимической ячейки барботажного типа (с непосредственно продуванием смеси через электролит) широкое применение находят ячейки с т. Называется газодиффузионными электродами, где газ отделен от электролита пористой газопроницаемой полимерной мембраной. Со стороны, контактирующей с электролитом, на мембрану наносят мелкодисперсный электродный материал (Pt, Pd, Au). Такие системы отличаются более высокой чувствительностью и стабильностью характеристик.
В основе кулонометрических газоанализаторах компенсация типа лежит метод кулонометрического титрования, который заключается в электрохимическом получении (генерировании) реагента - титранта, способного быстро взаимодействовать с определяемым компонентом газовой смеси, растворенным в электролите. Этот газоанализатор включает цепи генерирования и индикации. Электрохимическая ячейка содержит соответственно две пары электродов - катод и анод, на которых идет электролиз и генерируется титрант, а также индикаторный электрод и электрод сравнения. Ток электролиза автоматически поддерживается постоянным. После того как все контролируемое вещество полностью прореагирует с электро-генерированным титрантом, окислительно-восстановительный потенциал системы резко изменяется, что обнаруживается по скачку потенциала индикаторного электрода. Количество электричества, прошедшее через ячейку до завершения реакции, эквивалентно концентрации определяемого компонента.
Ионизационные газоанализаторы. Их действие основано на зависимости электрической проводимости ионизованных газов от их состава. Появление в газе примесей оказывает, дополнительное воздействие на процесс образования ионов или на их подвижность и, следовательно, рекомбинацию. Возникающее при этом изменение проводимости пропорционально содержанию примесей.
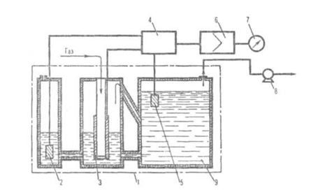
Все ионизационном газоанализаторе содержат проточную ионизационною камеру (как на рис.13), на электроды которой налагают определенную разность потенциалов. Эти приборы широко применяют для контроля микропримесей в воздухе, а также в качестве детекторов в газовых хроматографах. Ниже рассмотрены наибольше распространенные типы ионизационные газоанализаторы, используемые без предварительного хроматографического разделения пробы.
Рис.13. Радиоизотопный ионизационный газоанализатор: 1 - ионизационная камера; 2-источник ионизации; 3-электроды; 4-источник напряжения; 5-усилитель; 6-вторичный прибор.
К радиоизотопным газоанализаторам (рис.13), в которых ионизацию газов осуществляют радиоактивным излучением, относятся приборы на основе сечения ионизации, электронно-захватные и аэрозольно-ионизационные. В первых используют разницу в сечениях (вероятности) ионизации компонентов смеси. Ионизацию осуществляют обычно излучением 90Sr, 3H, 63Ni, 147Pm. Эти газоанализаторы не избирательны, их применяют для анализа смесей H2-N2, N2-CO2, Н2 - этилен, Н2-СН4, H2-CH3SiCl3, H2-BC13 и т.п.; диапазон измерения 0,01-100%; время установления показаний - до 0,1 с.
Действие электронно-захватных газоанализаторов основано на способности молекул ряда веществ (О2, Н2О, галогены, галогенсодержащие органические соединения, ароматические углеводороды, спирты, карбонильные соединения и др.) захватывать свободные электроны, возникающие при ионизации газов, и превращаться при этом в ионы. Последние имеют меньшую подвижность, чем электроны, в результате чего ионизационный ток падает пропорционально концентрации вещества. Электронно-захватные газоанализаторы применяют для контроля примесей (в частности, галогенов при их концентрации 10-3-104%) в чистых газах и воздухе. При определении примесей в воздухе на входе в газоанализаторы обычно помещают полимерные мембраны, задерживающие О2.
В основе действия аэрозольно-ионизационных газоанализаторах лежит зависимость ионизационного тока от концентрации аэрозольных частиц, образующихся после предварительного избирательного перевода определяемого компонента смеси в аэрозоль. Этот перевод осуществляют обычно химическую реакцией с соответствующим реагентом или фотохимической реакцией в газовой фазе, пиролизом исследуемого вещества, а также сочетанием пиролиза с послед, химической реакцией с реагентом. Например, при определении NH3 в качестве реагента можно использовать пары соляной кислоты; в результате образуется аэрозоль NH4C1. Размер аэрозольных частиц 10-7-10-4 см. Концентрации анализируемых компонентов 10-5-10-3%. Аэрозольно-ионизационный газоанализатор используют, в частности, для определения микропримесей NH3, аминов, НС1, HF, NO2, паров HNO3, карбонилов Ni и Со, фосгена и ряда др. соединений в воздухе промышленных помещений.
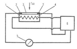
В пламенно - ионизационных газоанализаторах анализируемые органические соединения ионизуют в водородном пламени. Эффективность ионизации пропорциональна числу атомов С, поступающих в пламя в единицу времени, но зависит также от наличия в молекуле вещества атомов др. элементов. Схема такого прибора представлена на рис.14. Горелка служит одним из электродов ионизационной камеры. Второй электрод ("коллекторный") - тонкостенный цилиндр или кольцо. Эти газоанализаторы используют для определения органических веществ в воздухе и технологических газах. При совместном присутствии ряда органических компонентов находят либо их сумму, либо концентрацию компонентов со значительно большей эффективностью ионизации. С помощью пламенно-ионизационных газоанализаторы контролируют изменения суммарного содержания углеводородов в атмосфере и токсичные примеси в воздухе пром. помещений, чистоту выхлопных газов автомобилей, утечки газов из трубопроводов и подземных коммуникаций. Диапазон измеряемых концентраций 10-5-1%. Имеется непосредственная взаимосвязь между эффективностью ионизации органических газов и паров и степенью взрывоопасности их смесей с воздухом. Это позволяет контролировать довзрывные концентрации органических веществ в пром. помещениях, шахтах, туннелях.
Рис.14. Пламенно - ионизационный газоанализатор: 1-ионизац. камера; 2-горелка; 3-коллекторный электрод; 4-источник напряжения; 5-усилитель; 6-вторичный прибор.
В поверхностно-ионизационных газоанализаторах образуются, положительные ионы при адсорбции газов на нагретых поверхностях металлов или их оксидов. Ионизоваться могут компоненты с достаточно низкими потенциалами ионизации, сравнимыми по величине с работой выхода электронов из нагретой поверхности (эмиттера). Обычно ионизуются не контролируемые компоненты смеси, а продукты их реакций на каталитически активной поверхности. В качестве эмиттеров применяют, например, нагреваемые током спирали из Pt, оксидов Мо или W. Нагретый эмиттер одновременно служит одним из электродов ионизационной камеры. Второй ("коллекторный") электрод выполняют в виде наружного цилиндра. Температуру нагрева эмиттера изменяют, от 350 до 850 °С. С помощью таких газоанализаторов определяют, фенол, уксусную и муравьиную кислоты, а также (с высокой избирательностью) азотсодержащие органические соединения, в частности анилин, амины, гидразины. Созданы приборы для контроля ряда аминов (диэтиламин, триэтиламин и др.) в воздухе пром. помещений. Диапазон измеряемых концентраций 10-5-10-2%.
В так называемых "галогенных" газоанализаторах на поверхности платины, нагретой до 800-850 °С, ионизуются щелочные металлы (обычно Na и К), добавляемые в виде солей в зону нагрева и ионизации. Эмиссия щелочных ионов зависит от содержания в окружающем воздухе галогенов и их соединений. Эти приборы позволяют определять галогены (С1, Вг) в воздухе пром. помещений, хладоны при] контроле герметичности холодильных установок и бытовых аэрозольных баллончиков с пределами обнаружения около 10-4%.
В фотоионизационных газоанализаторах молекулы определяемого компонента ионизуются УФ - излучением. Это возможно, если энергия фотонов не ниже потенциала ионизации молекул. В качестве источников излучения используют лампы, генерирующие фотоны с энергиями 9,5, 10, 10,2, 10,9 и 11,7 эВ. Основы компоненты воздуха (О2, N2, CO, СО2, Н2О), а также СН4 имеют потенциалы ионизации в диапазоне 12-20 эВ и такими фотонами не ионизуются. Фотоионизационные газоанализаторы применяют для контроля примесей ароматических и непредельных углеводородов, альдегидов, кетонов, спиртов и других органических соединений в воздухе с пределами обнаружения 10-5 - 10-4%. Подбирая излучение с подходящей энергией, можно избирательно определять, например, ароматические соединения в присутствии алканов и кислородсодержащих органических соединений, меркаптаны в присутствии H2S.
Полупроводниковые газоанализаторы. Их действие основано на изменении сопротивления полупроводника (пленки или монокристалла) при воздействии анализируемого компонента смеси. В основе работы полупроводниковых окисных газоанализаторах лежит изменение проводимости чувствительности слоя (смеси оксидов металлов) при хемосорбции на его поверхности молекул химически активных газов (рис.15). Такие газоанализаторы применяют для определения горючих газов (в частности, Н2, СН4, пропана), а также О2, СО2 и др. Селективность анализа достигается варьированием состава чувствительности слоя и его температуры (при помощи встроенного нагревателя). Диапазон измеряемых концентраций горючих газов 0,01-1% по объему.
Рис.15. Полупроводниковый окисный газоанализатор: 1-подложка; 2-контакты; 3-чувствит. слой; 4-нагреват. элемент; 5-вторичный прибор; 6-источник напряжения.
В полупроводниковых газоанализаторах с кристаллическими чувствительными элементами измеряют проводимость монокристалла или более сложной полупроводниковой структуры с р-n-переходами при изменении зарядового состояния поверхности, т.е. концентрации или распределения зарядов на ней. Например, для определения Н2 используют чувствительные элементы в виде системы слоев металл - диэлектрик - полупроводник (канальные транзисторы), причем верхний металлический слой получают из Pd или его сплавов. Изменение зарядового состояния поверхности достигается изменением контактной разности потенциалов между полупроводником и Pd при растворении в последнем Н2, присутствующего в анализируемой смеси. Диапазон измеряемых концентраций Н2 в инертных газах 10-5-10-3%.
Для серийного производства полупроводниковых газоанализаторов применяют современные технологию микроэлектроники, что позволяет создавать измерительный преобразователь, включающий чувствительность элементов, систему термостатирования и усилитель электрического сигнала в виде отдельного микромодуля.
Литература для статьи "ГАЗОАНАЛИЗАТОРЫ"
1. Павленко В.А., Газоанализаторы, М. -Л., 1965;
2. Бражников В.В., Дифференциальные детекторы для газовой хроматографии, М., 1974;
3. Кулаков М.В., Технологические измерения и приборы для химических производств, М., 1983.














