151413 (580583), страница 2
Текст из файла (страница 2)
На подстанциях широкое распространение получили устройства автоматического включения секционного выключателя С В при исчезновении питания на одной из секций шин низшего напряжения.
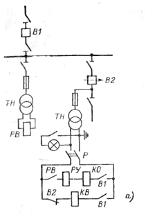
Схема АВР.
В качестве измерительного органа для АВР служат реле минимального напряжения, реле контроля фаз или другой прибор контроля качества питающего напряжения, подключенные к защищаемым участкам. В случае снижения напряжения на защищаемом участке электрической сети реле дает сигнал в схему АВР. Однако условие отсутствия напряжения не является достаточным для того, чтобы устройство АВР начало свою работу. Как правило, должен быть удовлетворен еще ряд условий:
На защищаемом участке должно отсутствовать неустраненное короткое замыкание. Так как понижение напряжения может быть связано с коротким замыканием, включение дополнительных источников питания в эту цепь нецелесообразно и недопустимо.
Вводной выключатель должен быть включен. Это условие проверяется, чтобы АВР не сработало, когда напряжение исчезло из-за того, что вводной выключатель был отключен намеренно.
На участке, от которого предполагается получать питание после действия АВР, должно присутствовать напряжение. Если обе питающие линии находятся не под напряжением, то переключение не имеет смысла.
После проверки выполнения всех этих условий логическая часть АВР дает сигнал на отключение вводного выключателя обесточенной части электрической сети и на включение межлинейного (или секционного) выключателя. Межлинейный выключатель включается после того, как вводной выключатель отключился
Устройства АВР обеспечивают контроль параметров напряжения на вводах по величине (минимально и максимально допустимые значения), по исчезновению хотя бы одной из фаз питающего напряжения и по чередованию фаз.
Устройства обеспечивают электрическую блокировку одновременного включения автоматических выключателей на вводах при работе на один фидер; блокировку включения секционного автомата в схемах с секционированием. При необходимости устройства АВР могут комплектоваться механической блокировкой.
Устройства АВР могут размещаться в отдельных малогабаритных шкафах, полногабаритных шкафах, 2- и 3-секционных шкафах (в зависимости от мощности энергопотребления), а также в шкафах вводных, вводно-учетных и распределительных.















