151392 (580579), страница 3
Текст из файла (страница 3)
n3 =12 шт; Площадь трехкомнатной квартиры - 135 м2
Число розеток в квартирах:—1 розетка на каждые
площади комнаты:
55/36=1,5, значит в 1 комнатной квартире -2 розетки в комнате; 2*36 квартир=72 шт.
95/36=2,6, значит в 2-комнатной квартире - 3 розетки в комнатах;3*12квартир=36шт
135/36=3,8, значит в 3-комнатной квартире -4 розетки в комнатах ;4*12квартир=48шт
Итого в комнатах всего дома – 72+36+48=156 розеток*2,2 кВт=343,2 кВт
В коридорах - 3 розетки. (36+12+12)*3=60*3=180 шт*2,2 кВт=396 кВт.
В кухнях – 3 в однокомнатных квартирах ( 1 на ток 6А , 1 на ток 10А для подключения бытового прибора мощностью 2,2кВт (пылесос), 1 на на ток 25А для подключения бытового прибора мощностью до 4 кВт или электроплиты мощностью до 5,8кВт) ; 3*36 = 108 розеток в однокомнатных. Мощность 2*2,2кВт+1*5,8кВт=10,2 кВт*36=367,2кВт
3 в двухкомнатных квартирах ( 1 на ток 6А , 1 на ток 10А для подключения бытового прибора мощностью 2,2кВт (пылесос), 1 на на ток 25А для подключения бытового прибора мощностью до 4 кВт или электроплиты мощностью до 5,8кВт) ; 3*12=36 розеток в двухкомнатных. Мощность 2*2,2кВт+1*5,8кВт=10,2 кВт*12=122,4 кВт
4 в трёхкомнатных квартирах (2 на ток 6А , 1 на ток 10А для подключения бытового прибора мощностью 2,2кВт (пылесос), 1 на ток 40А для подключения электроплиты мощностью от 5,9 до 8кВт). 4*12=48 – в трёхкомнатных. Мощность 3*2,2кВт+1*8кВт =14,6 кВт * 12 =175,2 кВт
Всего в кухнях 108+36+48=192 розетки.
Электропроводка к розеткам, установленным в кухнях на высоте 1 м. от пола (со стороны столов), на высоте 0.3 м. от пола (на противоположной стене и для электроплиты), в комнатах - на высоте 0.3 м. от пола, для ванной - на высоте 1.7 м. от пола - проводом марки ПВС - 3х2.5 мм2 в штрабах по месту.
Розетки в ванной -1*60=60шт - на ток 10А для подключения бытового прибора мощностью 2,2кВт (стиральная машина). Мощность 60*2,2=132 кВт
Всего в доме розеток: 156+180+192+60 =588
Электропроводка к розетке для ванной - проводом марки ПВС-3х2.5 мм2 в штрабах по месту.
Электропроводка к светильникам - проводами марки ПВ3-3х(1х2.5) мм2 в ПВХ трубах, заложенных в процессе возведения монолитных плит для перекрытий данного этажа.
Электропроводка к ящику ЯК от этажного щитка - проводами марки ПВ3-3х(1х10) мм2 в ПВХ трубах в подготовке пола данного этажа.
К светильникам аварийного и эвакуационного освещения коридоров, холлов лифтов, лестничных клеток - проводами марки ПВ3 в ПВХ трубах, заложенных в процессе возведения монолитных плит перекрытий данного этажа.
Выводы
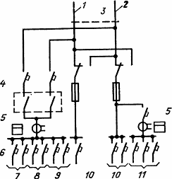
В данной работе был выполнен расчёт электрических нагрузок жилого здания, расчет электрической сети жилого здания, выбрана коммутационная аппаратура для защиты питающих линий. На рисунке 5 приведена схема питания жилого дома высотой 6—9 этажей без щита дымозащиты, а на рис.6 — схема питания дома высотой 17 и более этажей. Схема питания жилого дома высотой 10—16 этажей отличается от изображенной на рис.6 тем, что линии к лифтам присоединяются к вводу № 1.
Рис. 5. Схема ВРУ жилого дома высотой 6—9 этажей: 1 — ввод № 1 от ТП; 2 — ввод № 2 от ТП; 3 — граница балансового раздела с электроснабжающей организацией; 4 — расчетный счетчик электроэнергии; 5 — линии рабочего освещении общедомовых помещений; 6 — питающие линии квартир; 7 — АЭО общедомовых помещений; 8 — питающие линии лифтов
Некоторые элементы для квартир являются обязательными. А именно: - наличие автоматов защиты в распределительном щитке. Они должны быть установлены на каждую входящую и выходящую линию, и защищать электроустановку от коротких замыканий и длительных перегрузок. Главная их задача - при возникновении аварийного случая отключить линию так быстро, чтобы не успела загореться проводка. Время отключения должно быть не более 0,4 сек. Таким образом, выбор автоматов должен быть обоснован расчетами.
Рис. 6. Схема ВРУ жилого дома высотой 17 и более этажей: 1 — ввод № 1 от ТП; 2 — ввод № 2 от ТП; 3— граница раздела с электроснабжающей организацией; 4 - станция АВР; 5 - расчетный счетчик электроэнергии; 6 — щиток домоуправления; 7 — линии АЭО общедомовых помещений; 8 — питающие линии систем дымозащиты; 9 — питающие линии лифтов; 10 — питающие линии квартир; 11 — линии рабочего освещения общедомовых помещений
Кроме автоматов максимального тока, обязательно применение автоматов дифференциального тока - УЗО, которые служат для защиты как людей от прикосновения к токоведущим частям оборудования или проводки, так и самой электроустановки от различного рода утечек на землю. Электропроводка квартиры выполняется обычно медными проводами определенных типов. Алюминиевые провода применяются чаще для внешних кабельных или воздушных линий. Электропроводка квартиры обычно скрыта внутри стен. Источником электроснабжения жилых домов служат в основном городские ТП.
Комплексы ЭП жилых домов высотой более 5 этажей с плитами на газообразном и твердом топливе, а если в них установлены электроплиты, то независимо от этажности (кроме одно-восьми- квартирных домов) относятся ко 2-й категории надежности электроснабжения. Остальные жилые дома относятся к 3-й категории. В каждом жилом доме устанавливается одно (реже два) ВРУ, к которому от ТП прокладывается в зависимости от категории надежности один или два кабельных ввода. Вводно-распределительное устройство жилого дома, относящегося ко 2-й категории, представляет собой 2-хсекционный распред.щит с 2мя переключателями на вводе. Питающие линии от ТП до ВРУ выбирают с учетом работы в послеаварийном режиме, когда выходит из строя 1 питающая линия. В жилых домах 10 и более этажей устанавливаются системы дымозащиты при пожаре, питание которых производится от самостоятельного щита с АВР линиями, присоединяемыми до вводных аппаратов ВРУ. К такому щиту присоединяются также линии, питающие АЭО и огни светового ограждения, а в домах высотой 17 этажей и выше — и линии питания лифтов. Для учета расхода эл.оэнергии каждой квартиры на квартирном щитке устанавливается 1 однофазный счетчик. На ВРУ устанавливаются приборы учета расхода эл.энергии др. потребителей рабочего освещения и АЭО общедомовых помещений, лифтов, устройств дымозащиты и др., причем рабочее освещение и АЭО общедомовых помещений присоединяются к разным входам.
22















