151331 (580566)
Текст из файла
Введение
Дальнейшая механизация и автоматизация процессов в животноводстве, птицеводстве и растениеводстве, поставки новых более сложных высокопроизводительных машин и агрегатов, требует от электромонтажников не только сокращение сроков ввода в эксплуатацию, но и качество выполнения работ, обеспечивающее высокую надежность, долговечность и безопасность в обслуживании электроустановок.
В условиях напряженной работы предприятий ремонт электрооборудования должен выполняться в предельно сжатые сроки, что возможно при высоком уровне организации ремонтных работ. Поскольку пока не полностью удовлетворяются потребности предприятий в трансформаторах, электрических машинах и аппаратах, своевременный и качественный ремонт этого электрооборудования стал одним из основных факторов, обеспечивающих нормальную работу предприятий.
В процессе ремонта возможны модернизация электрооборудования, изменение в нужном направлении его технических характеристик, повышение экономичности работы. Многолетняя практика работы электроремонтных цехов предприятий и электроремонтных заводов показала, что свыше 70% поступающего в ремонт поврежденного электрооборудования составляют трансформаторы, электрические машины и коммутационные аппараты, в ремонте которых значительное место занимают электрослесарные работы.
В своей работе я рассмотрел вопросы технического обслуживания и ремонта магнитных пускателей
1. Техническое описание
1.1 Назначение
Пускатели электромагнитные предназначены для применения в стационарных установках для дистанционного пуска непосредственным подключением к сети, остановки и реверсирования трехфазных асинхронных электродвигателей с короткозамкнутым ротором переменного напряжения 660 В частоты 50 и 60 Гц. При наличии трехполюсных тепловых реле серий РТТ и РТЛ пускатели осуществляют защиту управляемых электродвигателей от перегрузок недопустимой продолжительности и от токов, возникающих при обрыве одной из фаз. Пускатели пригодны для работы в системах управления с применением микропроцессорной техники при шунтировании включающей катушки помехоподавляющим устройством или при тиристорном управлении.
Предназначены для дистанционного пуска непосредственным подключением к сети и отключения трехфазных асинхронных электродвигателей с короткозамкнутым ротором. Дополнительные функции: реверсирование, при наличии тепловых реле – защита двигателей от перегрузок недопустимой продолжительности, в т. ч. возникающих при выпадении одной из фаз, изменение схемы включения обмоток Y/A.
1.2 Технические характеристики
Наиболее распространены пускатели серии ПМЕ, ПАЕ. Они служат для управления электродвигателями мощностью до 75 кВт. Обозначения пускателей расшифровываются: ПМЕ – серия, первая цифра после серии – величина (0 – нулевая, 1 – первая, 2 – вторая), вторая цифра – исполнение (1 – открытое, 2 – защищенное, 3 – пылеводонепроницаемое, 43 – с четырьмя замыкающими блок-контактами, 5 – защищенное, 43+2Р – с четырьмя замыкающими и 2 размыкающими блок-контактами, б – пылеводонепроницаемое, 7 – открытое). Третья цифра – возможность реверсирования и наличие тепловой защиты (1 – нереверсивный и без теплового реле, 2 – нереверсивный с тепловым реле, 3 – реверсивный без теплового реле, 4 – реверсивный с тепловым реле).
Таблица 1 – Технические данные магнитных пускателей серии ПМЕ
| Наименование | Напряжение, В | Исполнение | Тепловое реле, А |
| ПМЕ 211 | 220, 380 | IP00 | нет |
| ПМЕ 212 | 220, 380 | IP00 | 21..25 |
| ПМЕ 221 | 220, 380 | IP30 | нет |
| ПМЕ 222 | 220, 380 | IP30 | 21..25 |
Таблица 2 – Габаритные размеры
| Наименование | Материал корпуса | В, мм | L, мм | Н, мм |
| ПМЕ 211 | Нет | 88 | 92 | 116 |
| ПМЕ 212 | Нет | 88 | 136 | 116 |
| ПМЕ 221 | Сталь | 145 | 216 | 155 |
| ПМЕ 222 | Сталь | 145 | 216 | 155 |
На рисунке 1 показан магнитный пускатель серии ПМЕ, габаритные размеры которого приведены в таблице 2.
1.3 Устройство и принцип действия
Магнитные пускатели обеспечивают защиту электродвигателей от падения напряжения (нулевая защита) и от перегрузки. При понижении напряжения до 35–40% от номинального втягивающая катушка перестает удерживать якорь электромагнита и контакты пускателя размыкаются. Защита от перегрузок осуществляется с помощью теплового реле ТРН, ТРП, РТТ, РТЛ.
Рисунок 1 – Магнитный пускатель серии ПМЕ
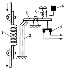
Схема устройства и принципа работы реле показана на рисунке 2. Реле состоит из нагревательного элемента 1, включаемого последовательно в одну из фаз цепи электродвигателя, биметаллической пластины 2, удерживающей спусковой механизм 3, нормально замкнутых контактов 4, которые включаются последовательно в цепь катушки пускателя. При увеличении тока в результате перегрузки двигателя температура нагревательного элемента возрастает.
Рисунок 2 – Схема устройства теплового реле:
1 – нагревательный элемент; 2 – биметаллическая пластина; 3 – защелка (спусковой механизм); 4 – нормально замкнутые контакты; 5 – кнопка возврата; 6 – пружина
Рисунок 3 – Тепловое реле ТРН:
1 – нагревательный элемент; 2 – кнопка возврата; 3 – контакты теплового реле; 4 – биметаллическая пластина; 5 – шкала регулировочного рычага; 6 – рычаг-регулятор
Рисунок 4 – Тепловое реле ТРН:
1 – нагревательный элемент; 2 – кнопка возврата; 3 – контакты теплового реле; 4 – биметаллическая пластина; 5 – шкала регулировочного рычага; 6 – рычаг-регулятор
Под действием тепла биметаллическая пластинка деформируется и освобождает защелку спускового механизма, что приводит к размыканию контактов реле и разрыву цепи катушки пускателя Взвод спускового механизма после срабатывания реле и возврат его контактов в замкнутое положение осуществляется после остывания биметаллической пластины нажатием на кнопку 5 возврата реле головка которой выходит из отверстия в крышке ящика пускателя. Нагревательные элементы реле выпускаются на различные номинальные токи и выбираются в соответствии с номинальными токами двигателей. Реле ТРН двухполюсное, ТРП – однополюсное, РТТ, РТЛ – трехполюсные, их встраивают в магнитные пускатели ПМА, ПМЛ. Реле ТРП комплектуются магнитными пускателями ПАЕ четвертого и выше габарита. Реле ТРН встраивают в магнитные пускатели ПМЕ, П6 и ПАЕ третьего габарита (рисунки 3, 4).
Контакторы переменного и постоянного тока предназначены для дистанционного и автоматического управления электродвигателями.
Контактор серии П6 применяется для частого включения электродвигателей малой мощности (рисунок 5). Он состоит из пластмассового корпуса, две половины которого соединены четырьмя винтами.
Рисунок 5 – Контактор П6:
1 – пружина; 2 – контактные мостики; 3 – контактные пластины; 4 – траверса; 5 – подвижная часть сердечника; 6 – обмотка; 7 – сердечник; 8 – блокировочные контакты
Электромагнитная система включает неподвижную часть сердечника 7 и обмотку 6, подвижную часть сердечника 5, соединенную с пластмассовой траверсой 4, на которой смонтированы контактные мостики 2 с подвижными контактами. Усилие нажатия контактов обеспечивается пружинами 1, Неподвижные контакты припаяны к контактным пластинам 3. Имеются блокировочные контакты 8. Для управления контактором используется двухкнопочная станция с кнопками «Пуск» и «Стоп».
2. Организация эксплуатации и ремонта оборудования
2.1 Техническое обслуживание
В период между ремонтами проводится техническое обслуживание электроустройств, которое представляет собой комплекс операций или операцию по поддержанию работоспособности или исправности устройства при пользовании по назначению, ожидании, хранении и транспортировании. Устройство при этом не разбирается.
В типовой объем работ по техническому обслуживанию магнитных пускателей входят: очистка от ныли и грязи, смазка трущихся частей, ликвидация видимых повреждений, затяжка крепежных деталей, очистка контактов от грязи и наплывов, проверка исправности кожухов, оболочек, корпусов, проверка работы сигнальных и заземляющих устройств.
Проверять и налаживать тепловые реле рекомендуется в лаборатории, используя специальные электрические устройства. Проверку реле начинают с внешнего осмотра: проверяют наличие пломб, целостность кожуха и плотность прилегания его к цоколю, состояние уплотнений, очистка реле.
После снятия кожуха приступают к внутреннему осмотру: очищают детали, проверяют затяжку винтов, гаек, крепящих пружин, контакты, подпятники, магнитопроводы; проверяют надежность внутренних соединений; регулируют механическую часть реле; контакты тщательно очищают и полируют воронилом (пользоваться надфилем или абразивными материалами нельзя).
Далее измеряют сопротивление изоляции мегаомметром 1000 В между электрическими частями реле и корпусом, которое должно быть не менее 10 МОм, проверяют уставки. Если обнаружены дефекты, выходящие за возможность устранения их в лаборатории, реле заменяют новым.
2.2 Ремонтные работы
В результате эксплуатации, аварий, перегрузок и естественного износа часть электрооборудования и сетей выходит из строя и подлежит ремонту.
Ремонт – это комплекс операций по восстановлению исправности или работоспособности электротехнических устройств, восстановлению их ресурсов или их составных частей. Под операцией ремонта понимают законченную часть ремонта, выполняемую на одном рабочем месте исполнителями определенной специальности, например: очистка, разборка, сварка, изготовление обмоток и т.д.
Существует несколько методов ремонта: ремонт эксплуатирующей организацией, специализированный, ремонт предприятием – изготовителем изделия. Последние два метода имеют существенные преимущества, которые позволяют достигнуть высоких технико-экономических показателей путем применения нестандартизированного высокопроизводительного эффективного оборудования, производства запчастей, внедрения современной технологии, близкой к технологии электромашиностроительных заводов, с применением новых материалов. Эти методы позволяют создать обменный фонд из новых или отремонтированных электрических машин и другого оборудования распространенных серий и типов. Но эти методы исключают возможность оперативного ремонта ответственного и нетипового оборудования, оборудования, изготовленного зарубежными фирмами, и оборудования старых марок. Кроме того, не решается проблема технического обслуживания, составляющего более 80% трудоемкости ремонта электрических сетей и крупногабаритного оборудования (трансформаторные подстанции, распределительные устройства, щиты управления и др.). Надежность, бесперебойность и безопасность работ электрооборудования и сетей может быть обеспечена правильной системой ремонта электрооборудования эксплуатирующей организацией. Такой системой является планово-предупредительный ремонт (ППРЭО), представляющий собой форму организации ремонта, состоящей из комплекса организационно-технических мероприятий, обеспечивающих выполнение технического обслуживания и профилактического ремонта.
В электрических аппаратах чаще всего повреждаются подвижные, неподвижные и дугогасительные контакты. Ремонт в основном заключается в определении неисправности, устранении ее, замене поврежденных и изношенных деталей с последующей регулировкой и испытанием. При эксплуатации контакты очищают от нагара металла, копоти, окислов. Очищают напильником с тонкой (мелкой) насечкой. Устраняют сильный и слабый нажим контактов. Для этого между контактами помещают бумагу (фольгу), оттягивая подвижные контакты через динамометр, вытягивают фольгу. Нормальное усилие 0,5–0,7 кГ. Магнитная система контактов может создавать шум, гудение, причины этого: неплотно прилегает якорь к сердечнику, повреждение короткозамкнутого витка, очень большое натяжение контактов, якорь перекошен по отношению к сердечнику, в местах прикосновения якоря и сердечника имеется ржавчина, у магнитных пускателей и контакторов нельзя допускать разновременности замыкания силовых контактов. Короткозамкнугые витки у контакторов и магнитных пускателей выполняются из меди, латуни и алюминия. Они укладываются в выштампованные пазы на концах сердечника. Обращается внимание на дугогасительные камеры. Отсутствие их может вызвать перекрытие дугой отдельных фаз. Катушки ремонтируют при повреждении каркаса, обрывах, витковых замыканиях и полном сгорании. Обрыв в катушке определяется, если не развивается тяговое усилие и не потребляется ток. Витковое замыкание обнаруживается по ненормальному нагреву и уменьшению тяги.
Рисунок 6 – Контактор магнитного пускателя:
1 – основание; 2 – блок-контакты (вспомогательные контакты); 3 – ось якоря; 4 – амортизирующие пружины; 5 – сердечник; 6 – катушка; 7 – якорь; 8 – упор; 9 – изоляционная камера; 10 – неподвижный контакт; 11 – подвижный контакт; 12 – пружина возврата якоря
У контакторов чаще меняют главные контакты, гибкие соединения, дугогасительные камеры, катушки, пружины, короткозамкнутые витки. Сопротивление изоляции обмоток не должно превышать 0,5 МОм. У реле чаще перегорают нагревательные элементы. Для нагревательных элементов применяют нихром, фехраль. Отдельные нагревательные элементы изготавливают методом штамповки. Спиральные нагревательные элементы кадмируют для предохранения от окисления. На рисунке 6 показан контактор магнитного пускателя.
Характеристики
Тип файла документ
Документы такого типа открываются такими программами, как Microsoft Office Word на компьютерах Windows, Apple Pages на компьютерах Mac, Open Office - бесплатная альтернатива на различных платформах, в том числе Linux. Наиболее простым и современным решением будут Google документы, так как открываются онлайн без скачивания прямо в браузере на любой платформе. Существуют российские качественные аналоги, например от Яндекса.
Будьте внимательны на мобильных устройствах, так как там используются упрощённый функционал даже в официальном приложении от Microsoft, поэтому для просмотра скачивайте PDF-версию. А если нужно редактировать файл, то используйте оригинальный файл.
Файлы такого типа обычно разбиты на страницы, а текст может быть форматированным (жирный, курсив, выбор шрифта, таблицы и т.п.), а также в него можно добавлять изображения. Формат идеально подходит для рефератов, докладов и РПЗ курсовых проектов, которые необходимо распечатать. Кстати перед печатью также сохраняйте файл в PDF, так как принтер может начудить со шрифтами.















