150230 (580427), страница 2
Текст из файла (страница 2)
t2=2 x2=44 см
X0=2C2t+C1
C0=8
C1=4
44=C2 *22+4*2+8
4C2=44-8-8=28
C2=7
X=7t2+4t+8
=V=14t+4
a=
=14
V=r2
2
R2
2=R3
3
3=V*R2/(r2*R3)=(14t+4)*15/10*20=1,05t+0,3
3=
3=1,05
Vm=r3*
3=20*(1,05t+0,3)=21t+6
atm=r3
=1,05t
atm=R3
=20*1,05t=21t
anm=R3
23=20*(1,05t+0,3)2=20*(1,05(t+0,28)2
a=
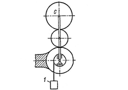
5. Применение теоремы об изменении кинетической энергии к изучению движения механической системы
Исходные данные.
Механическая система под действием сил тяжести приходит в движение из состояния покоя. Трение скольжения тела 1 и сопротивление качению тела 3 отсутствует. Массой водила пренебречь.
Массы тел - m1, m2, m3, m4; R2, R3, R4 – радиусы окружностей.
| m1, кг | m2, кг | m3, кг | m4, кг | R2, см | R3, см | s, м |
| m | m/10 | m/20 | m/10 | 10 | 12 | 0.05π |
Найти.
Пренебрегая другими силами сопротивления и массами нитей, предполагаемых нерастяжимыми, определит скорость тела 1 в тот момент, когда пройденный им путь станет равным s.
Решение.
1. Применим к механической системе теорему об изменении кинетической энергии.
,
где T0 и T – кинетическая энергия системы в начальном и конечном положениях;
– сумма работ внешних сил, приложенных к системе, на перемещении из начального положения в конечное;
- сумма работ внутренних сил системы на том же перемещении.
Для рассматриваемых систем, состоящих из абсолютно твёрдых тел, соединённых нерастяжимыми нитями и стержнями
. Так как в начальном положении система находится в покое, то T0=0.
Следовательно, уравнение (1) принимает вид:
.
2. Определим угол, на который повернётся водило, когда груз 1 пройдёт расстояние s.
.
То есть когда груз 1 пройдёт путь s, система повернётся на угол 90º.
3. Вычислим кинетическую энергию системы в конечном положении как сумму кинетических энергий тел 1, 2, 3, 4.
T = T1 + T2 + T3 + T4.
а) Кинетическая энергия груза 1, движущегося поступательно равна:
.
б) Кинетическая энергия катка 2, вращающегося вокруг своей оси равна:
,
где
- момент инерции катка 2,
- угловая скорость катка 2.
Отсюда получаем, что
.
в) Кинетическая энергия катка 3, совершающего плоско-параллельное движение, равна:
,
где
- скорость центра масс катка 3,
-угловая скорость мгновенного центра скоростей катка 3
момент инерции катка 3 относительно мгновенного центра скоростей.
Отсюда получаем, что
г) Кинетическая энергия катка 4, совершающего плоскопараллельное движение, равна:
где
- угловая скорость мгновенного центра скоростей,
- скорость центра масс катка 4,
- момент инерции катка 4 относительно мгновенного центра скоростей.
Отсюда получаем, что
Таким образом, кинетическая энергия всей механической системы равна:
4. Найдём работу всех внешних сил, приложенных к системе на заданном перемещении.
а) Работа силы тяжести G1: AG1=m1∙g∙s=m∙980∙5=15386∙m1.
б) Работа силы тяжести G2: AG2=0.
в) Работа силы тяжести G3: AG3=-m3∙g∙(OA)=-0.05∙m∙980∙36=-1764∙m.
г) Работа силы тяжести G4: AG4=-m4∙g∙OC=-0.1∙m∙980∙72=-7056∙m.
Таким образом, работа всех внешних сил, приложенных к системе равна:
= AG1+AG3+AG4=15386∙m-1764∙m-7056∙m=6566∙m.
5. Согласно теореме об изменении кинетической энергии механической системы приравниваем значения T и
.
=6566∙m;
=6566.
Отсюда скорость тела 1 равна:
= 0.31 м/с.
Результаты расчётов.
| V1, м/c |
| 0.31 |
Дано: Q=4kH, G=2kH, a=50см, b=30см.
Определить: реакции опор А, В, С.
Решение:
1) ∑FKX=XA+XB-RC∙cos30°+Q·sin45°=0;
2) ∑FKY=YA=0;
3) ∑FKZ=ZA+ZB+RC·sin30°-G-Q·cos45°=0;
4) ∑MKX=ZB·AB-G·AB/2-Q·cos45°·AB=0;
5) ∑MKY=G·AC/2·cos30°-RC·AC·sin60°+Q·AC·sin75°=0;
6) ∑MKZ=-XB·АВ-Q·AB·cos45°=0.
Из (6) XB=(-Q·AB·cos45°)/АВ=-4·50·0,7/50=-2,8кН
Из (5) RC=(G·AC/2·cos30°+Q·AC·sin75°)/AC·sin60°=
=(2·30/2·0,87+4·30·0,96)/30·0,87=(26,1+115,2)/26,1=5,4кН
Из (4) ZB=(G·AB/2+Q·cos45°·AB)/AB=(50+141,4)/50=3,8kH
Из (3) ZA=-ZB-RC·sin30°+G+Q·cos45°=-3,8-2,7+2+2,8=-1,7кН
Из (1) XA=-XB+RC∙cos30°-Q·sin45°=2,8+4,7-2,8=4,7кН
Результаты вычислений:
| Силы, кН | |||||
| RC | XA | YA | ZA | XB | ZB |
| 5,4 | 4,7 | 0 | -1,7 | -2,8 | 3,8 |















