150141 (580420), страница 2
Текст из файла (страница 2)
Теплові реле призначені головним чином для захисту трифазних асинхронних двигунів з короткозамкнутим ротором від невеликих, але тривалих перевантажень. Основними елементами реле є біметалічна пластинка, нагрівальний елемент і розмикаючий контакт мостика, розрахований на комутацію струму до 6 А. Нагрівальні елементи включаютсья в ланцюг головного струму послідовно обмоткам статора, а контакти - в ланцюг управління, послідовно з котушкою магнітного пускача.
Якщо струм в головному ланцюзі (струм статора) превищує номінальний, біметалічна пластинка, нагріваючись, згинається і натискає на важіль, який виводить клямку із зачеплення. Шток під дією пружини переміщується і розмикає контакт (рис. 2.5.).
У початкове положення реле повертається шляхом натиснення на кнопку повернення, яка є на його корпусі. Замикання контактів можливе тільки при біметалічної пластинці, що остигнула, тобто через 1...2 мін після спрацювання.
Теплові реле випускаються в двох виконань: однополюсному і двополюсному. Двополюсні реле типу ТРН мають симетричну компоновку. Нагрівальні елементи розташовані в крайніх осередках пластмасового корпусу. У середньому осередку розміщені температурний компенсатор, ексцентриковий регулятор струму уставки, защелочний механізм спрацьовування, мостіковий контакт і кнопка ручного повернення.
У реле ТРН-10А встановлюється незмінний нагрівач, закріплений на біметалічній пластинці. Решта типів реле забезпечується змінними нагрівачами, розташованими під біметалічними пластинками. До силових затисків реле нагрівач кріпиться двома гвинтами по кінцях. Нагревателі закриваються пластмасовою кришкою, яка утримується пружиною.
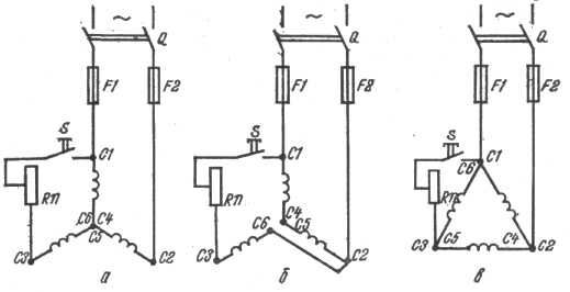
Розділ IІІ. Схеми включення трифазних асинхронних електродвигунів в однофазну мережу за допомогою конденсаторів
Рис. 3.1. Схеми включення трифазних асинхронних електродвигунів в однофазну мережу за допомогою конденсаторів:
а і б - при виведених на корпус трьох кінцях обмоток; в - при виведених на корпус шести кінцях обмоток
Трифазний асинхронний двигун без зміни його конструкції і обмотувальних даних може бути використаний для роботи в однофазному режимі. Така необхідність виникає часто там, де немає трифазної мережі.
При включенні трифазних асинхронних електродвигунів в однофазну мережу можуть використовуватися різні схеми з'єднання їх обмоток. Як фазозрушуючих елементів зазвичай застосовують конденсатори, а при їх відсутності - резистори.
При послідовному з'єднанні двох обмоток і забезпеченні пуску електродвигун працюватиме як однофазний, розвиваючи потужність до 50...55% від номінальної в трифазному режимі. Якщо до обмоток підключити робочий конденсатор, то електродвигун буде працювати як однофазний асинхронний конденсаторний, а потужність, що розвивається ним, при вдалому підборі ємності може досягати 70...80% від номинальної в трифазному режимі. Третя обмотка з послідовно сполученим конденсатором або резистором використовується для запуску.
На рис. 3.1. показані деякі схеми, що часто зустрічаються. Кожна з них може знайти своє застосування залежно від параметрів електродвигуна, напруги мережі, наявності необхідних фазозсувних елементів.
Робоча ємність конденсаторів підбирається індивідуально для кожного електродвигуна залежно від його потужності, напруги, частоти обертання, схеми з'єднання обмоток. У практиці її визначають через номінальні (паспортні) значення струму і напруги електродвигуна:
де Ср - робоча ємність для номінального навантаження, мкф;
Ін - номінальний струм, А;
Uн - номінальна напруга, В;
Uк.p - напруга на конденсаторі при номинальному навантаженні, В.
При недовантаженні двигуна розрахункову напругу конденсатора потрібно збільшувати на 15%. Як рабоча ємність можуть використовуватися конденсатори типів КБГ-МН (конденсатор паперовий, герметичний в металічному корпусі нормальний), БГТ (паперовий, герметичний, термостійкий), МБГЧ (металопаперовий, герметичний, частотний).
Ємність пускового конденсатора підбирають також індивідуально. При пуску вхолосту можна обмежитися робочою, єністю. Якщо пусковий момент близький до номінального, буде потрібно пусковий конденсатор ємністю в 2,5...3 рази більшою, ніж робоча. Як пускові можуть бути використані дешевші електролітичні конденсатори типу ЕП, оскільки вони працюють лише декілька секунд при пуску.
Рис. 3.2. Схеми включення полярних електролітичних конденсаторів в якості пускових
1 - до мережі; 2 - до пускової обмотки.
Вибір конденсаторів. Нижче приведені мінімальні значення ємностей, які слід застосовувати при пуску трифазних Електродвигунів різних потужностей в однофазному режимі і які, можуть бути залишені включеними в процесі роботи.
Потужність трифазного
електродвигуна, квт………………………..…. 0,4 0,6 0,8 1,1 1,5 2,2
Мінімальна ємність (мкф) при
включенні двигунів в однофазну
мережу напругою
220 В………………………….………………..……40 60 80 100 150 230
380 В …………………………………….…….…...24 36 48 66 90 130
Для пуску під навантаженням ємність повинна бути збільшена в 2...3 рази в порівнянні з вказаною, але після пуску додаткову ємність обов'язково відключають.
Як пускові і робочі використовують конденсатори БГТ, ЭП, К42-19ПВ, К50-19, МБГЧ на робочу напругу не меншого 500 В. В якості тільки пускових можна використовувати і полярні електролітичні конденсатори з робочою напругою не менш 450 В за умови короткочасного включення. Для більшої надійності їх сполучають по схемі, показаній на рис. 3.2, а. Загальна ємність при цьому рівна С/2. При включенні по схемі, приведеній на малюнку 3.2, б, після розгону конденсатор залишається включеним в мережу через діод VD і резистор R, і в процесі роботи ця ємність забезпечує деяке збільшення моменту двигуна. Пускові конденсатори повинні бути зашунтовані резистором 200...500 кОм, оскільки після пуску на конденсаторах залишається електричний заряд, який і розряджається через резистор.
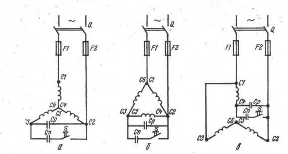
Розділ IV. Схеми включення трифазних асинхронних електродвигунів в однофазну мережу за допомогою активних опорів
За відсутності конденсаторів потрібних параметрів можуть використовуватися схеми з пусковим резистором (рис. 4.1.).
Для зміни напряму обертання трифазного асинхронного електродвигуна досить поміняти місцями будь-яких два дроти, що підводять струм до статора. При зміні напряму обертання однофазного асинхронного електродвигуна (або трифазного, що працює в однофазному режимі) потрібно поміняти місцями виводи пускової або робочої обмотки. При реверсуванні двигун потрібно зупиняти.
Рис. 4.1. Схеми включення трифазних асинхронних електродвигунів в однофазну мережу за допомогою активних опорів:
а і в - при виведених на корпус трьох кінцях обмоток;
б - при виведених на корпус шести кінцях обмоток
Виводи обмоток електричних машин прийнято маркувати буквами і цифрами. Виводам обмоток статора машин змінного струму привласнена літера С, виводам обмоток ротора - буква Р. В трифазному статорі початку обмоток позначають: першої фази - С1, другий, - С2, третій, - СЗ; кінці позначають відповідно С4, С5, С6. При сполученні обмоток зіркою їх виводи позначають: першої фази - С1, другої - С2, третьої - СЗ, нульової точки - 0. Виводи обмоток, сполучених трикутником, позначають аналогічно: Cl, C2, СЗ.
Виводи обмоток ротора асинхронного двигуна позначають: першої фази - Р1, другий, - Р2, третьої, - РЗ, нульової точки - 0.
Виводам багатошвидкісних асинхронних двигунів - перед буквою додається цифра, вказуюча число полюсів. Так, для трифазного двигуна при переключенні обмоток з двох полюсів на чотири їх виводи маркують відповідно: 2С1, 2С2, 2СЗ і 4С1, 4С2, 4СЗ.
У однофазних асинхронних двигунів початок головної обмотки позначають С1, а кінець - С2; початок пускової обмотки П1, кінець -П2.
Розділ V . Експлуатація електродвигунів
Експлуатація електродвигунів складається із слідуючих основних елементів: нагляду, своєчасного виявлення несправностей та їх усунення; профілактичних випробувань; пуску та зупинки.
Електродвигуни з короткозамкненими роторами дозволено запускати з холодного стану два рази поспіль, з гарячого - один раз, якщо інструкція заводу-виробника не передбачає більшої кількості пусків. Наступні пуски дозволяються після їх охолодження протягом часу, обумовленого інструкцією заводу-виробника для відповідного типу електродвигуна.
Повторні ввімкнення електродвигунів у разі їхнього вимкнення основними захистами дозволяються після обстеження, проведення контрольних вимірів опору ізоляції і перевірки справності захистів.
Для електродвигунів відповідальних механізмів, що не мають резерву, дозволяється одне повторне ввімкнення після дії основних захистів за результатами зовнішнього огляду двигуна.
Наступне ввімкнення електродвигунів у разі дії резервних захистів до з'ясування причин вимкнення заборонене.
Для спостереження за пуском і роботою електродвигунів, регулювання технологічного процесу яких здійснюється за значенням струму, а також усіх електродвигунів змінного струму потужністю більше ніж 100 кВт на пусковому щитку чи панелі керування встановлюють амперметр, який вимірює струм у колі статора електродвигуна. Амперметр установлюють також у колі збудження синхронних електродвигунів. На шкалі амперметра червоною рискою позначають значення допустимого струму (вище номінального струму електродвигуна на 5 %).
Вібрація, виміряна на кожному підшипнику електродвигуна, осьовий зсув ротора, розмір повітряного зазору між сталлю статора та ротора, а також в підшипниках ковзання не повинні перевищувати величин.
Постійний нагляд за навантаженням електродвигунів, щітковим апаратом, температурою елементів і охолоджувальних середовищ електродвигуна (обмотки і осердя статора, повітря, підшипників тощо), догляд за підшипниками і пристроями підведення охолоджувального повітря, води до повітроохолодників і обмоток, а також операції з пуску, регулювання швидкості і зупинки здійснюють працівники цеху (дільниці), які обслуговують механізм.
Аварійні кнопки електродвигунів повинні бути опломбовані. Зривати пломби з аварійних кнопок для вимкнення електродвигуна дозволено тільки в аварійних випадках. Опломбування аварійних кнопок виконують працівники, визначені особою, відповідальною за електрогосподарство.
Електродвигун (обертова машина) повинен бути негайно відімкнений від мережі у таких випадках:
-
нещасний випадок (чи загроза) з людиною;
-
поява диму, вогню або запаху горілої ізоляції з корпусу електродвигуна або його пускорегулювальної апаратури;
-
вібрація понад допустимі норми, яка загрожує виходу з ладу електродвигуна або механізму;
-
вихід з ладу привідного механізму;
-
нагрівання підшипників або контрольованих вузлів понад допустиму температуру, зазначену в інструкції заводу-виробника;
-
виникнення коротких замикань в електричній схемі;
-
значне зниження частоти обертання;
-
швидке зростання температури обмоток або сталі статора.
В експлуатаційній інструкції можуть бути вказані й інші випадки, за якими електродвигуни (обертові машини) повинні бути негайно вимкнені, а також указаний порядок усунення їх аварійного стану.
Періодичність капітальних і поточних ремонтів електродвигунів, залежно від умов у яких вони працюють, визначає особа, відповідальна за електрогосподарство. Залежно від місцевих умов поточний ремонт електродвигунів, як правило, здійснюють одночасно з ремонтом привідних механізмів, і його виконує навчений персонал споживача або підрядної організації.
Розділ VІ. Догляд за електродвигуном
Догляд за електродвигуном в процесі роботи включає в себе наступні операції: періодичне очищення корпусу від пилу і бруду, продування обмотки стислим повітрям від компресора або ручного хутра з метою видалення з неї пороши, зовнішній огляд і перевірку стану заземлення (занулення), кріплення електродвигуна до фундаменту або робочої машини, кріплення підшипникових щитів і коробки виводів, щільності посадки шківа, напівмуфти або зірочки і натягнення пасу або ланцюга. При цьому рекомендується зняти кришку виводів і перевірити стан ізоляції вивідних кінців фазних обмоток і проводів, що підводять живлення.















