144497 (579974), страница 4
Текст из файла (страница 4)
Полистирол плучают полимеризацией стирола С6Н5СН = СН2. Из него изготавливают облицовочные плитки для стен , пористые плиты для тепло- и звукоизоляции, краски, эмали.
Поливинилацетат – пллимервинилацетата СН2 = СН-ОН. Применяется для производства лаков, в виде эмульсий, для устройства бесшовных полов, бля полиммербетонов, для изготовления моющихся обоев.
Полиакрилаты представляют собой полимеры производных акриловой СН2 = СН – СООН и метакриловой кислот СН = С(СН)3СООН. В строительстве нашел применение полиметилметакрилат (органическое стекло) для остекления зданий, изготовления стеклопластиков.
Кумарно-инденовые полимеры. Представляют собой смесь продуктов полимеризации кумарона и индена. Применяют для изготовления плиток, для полов, мастик.
-
Классификация лакокрасочных материалов по виду, химическому составу и назначению
Лакокрасочные материалы классифицируются по виду, химическому составу и назначению. К основным видам лакокрасоыных материалов относят лаки, эмали, краски, грунтовки и шпаклевки.
Лак – раствор пленкоаброзующих веществ в органических растворителях или воде, образующий после высыхания твердую однородную пленку. Лак применяемый для изготовления товарных лаков и эмалей, называается полуфабрикатным.
Эмаль – смесь лака с пигментом или лака с пигментом и заполлнителем, образующая после высыхания непрозрачную пленку с различным блеском и фактурой поверхности.
Краска – смесь пленкообразующегот вещества с пигментом или с пигментом и заполнителем, образующая после высыхания однородную непрозрачную пленку.
Грунтовка – смесь пленкообразующего вещества с пигментом, образующая после высыхания однородную пленку с хорошим сцеплениемс окрашиваемой поверхностью и верхним покровным слоем.
Шпатлевка – пастообразующая масса, состоящая из смеси пленкообразующего вещества, пигмента и наполнителя, и предназначенная для заполнения неровностей и сглаживания окрашиваемой поверхности.
По химическому составу лакокрасочные материалы подразделяются в зависимости от вида пленкообразующего вещества. По назначению в зависимости от условий эксплуатации лакокрасочные материалы подразделяются на следующие группы, имеющие цифровые обозначеения: 1 – атмосферостойкие, 2 – ограниченно атмосферостойкие, 3 – консервационные, 4 – водостойкие, 5 – специальные-светящиеся, протовообрастающие, терморегулирующие и др., 6 – маслобензостойкие, 7 – химическистойкие, 8 – термостойкие, 9 – электроизоляционные.
Задача №1
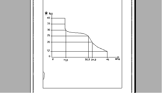
Пиломатериал из сосновой древесины при стандартной влажности и температуре 18 ˚С имеет предел прочности при сжатии 46 МПа. Определить предел прочности древесины при влажности 20, 25, 30, 35 и 40 %. Построить графическую зависимость между прочностью и влажностью древесины.
Решение:
1. Предел прочности образцов древесины имеющих влажность W меньше предела гигроскопичности 30%, w , МПа будем определять через формулу приведения к пределу прочности при стандартной 12-% влажности 12 ,МПа:
12 = w [1 + (W – 12)], => w = 12 / [1 + (W – 12)]
где - поправочный коэффициент, учитывающий изменение прочности древесины при изменении ее влажности на 1%, = 0,04; W – влажность образца, %.
20 = 46 / [1 + 0,04(20 – 12)] = 34,85 (МПа)
25 = 46 / [1 + 0,04(25 – 12)] = 30,26(МПа)
2. При влажности, равной или большей предела гигроскопичности (более 30%)предел прочности вычисляем по формуле:
w = 12 · К12.
где w – предел прочности образца при сжатии с влажностью W, МПа; К12 - коэффициент пересчета при влажности 30 %, равный 0,45 для сосны.
30 = 46 · 0,45 = 11,5 (МПа)
35 = 46 · 0,45 = 11,5 (МПа)
40 = 46 · 0,45= 11,5 (МПа)
По расчитанным данным строим графичекую зависимость мужду прочностью и влажностью древесины:
Задача №2
Масляная краска приготовлена из титановых белил и натуральной олифы. Расход олифы составил 40%. При определении укрывитости на окраску стеклянной пластинки площадью 250 см2 израсходовано 4 г краски. Определить укрывитость краски и пигмента
Вычисление укрывитости будем производить по следующим формулам:
На красочный состав молярной консистенции Vкр, г/м2
на сухой пигмент Vп, г/см2:
где, m1 – m –масса израсходованной краски, г; F – площадь окрашенной поверхности, см2; δ – содержание олифы в краске, %; 10000 – число для перевода г/см2 в г/м2.
Vкр = 4 / 250 · 10000 = 160 (г/м2) ,
Vп = 4 / [(100 – 40) · 100· 250 ]· 10000 = 0,027 (г/см2) ,
















