124760 (577760), страница 4
Текст из файла (страница 4)
Розглядаючи ущільнення як системи автоматичного регулювання, можна виробити єдиний підхід до їх розрахунку, який зводиться до побудови статичних характеристик, тобто залежності зазору та витрати від зовнішніх дій, визначенню коефіцієнтів статичної та динамічної жорсткості.
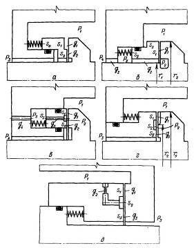
Рисунок 12 - Схеми гідростатичних торцевих ущільнень з саморегульованим зазором
Для спрощення розрахунку доводиться вводити деякі загальноприйняті припущення: течія у всіх дроселюючих каналах приймається ламінарною; тертя на вторинних ущільненнях не враховується, торцеві зазори вважаються плоскими, та тиск в них змінюється за лінійним законом (на рис. 13 показані розрахункові епюри осьового тиску на аксіально рухомі кільця); у рівняннях динаміки не враховується інерція рідини.
Рисунок 13 - Розподіл тиску на торцевих поверхнях аксіально рухомих кілець
З урахуванням зроблених зауважень можна запропонувати загальну схему розрахунку гідростатичних ущільнень (рис. 14).
Як приклад у таблиці наведені розрахункові формули [3, 5, 6] для варіантів ущільнень, показаних на рисунку 12 в, г.
Усі розглянуті варіанти конструкцій працездатні за умови їх якісного виготовлення. Недолік варіантів на рисунку 12 б та 12 в - відсутність кутової жорсткості, тобто здібності аксіальна рухомого кільця чинити опір перекосам. Варіанти (рис. 12 в, д) мають внутрішні капілярні дроселі, які можуть засмічуватися у процесі роботи та тим самим змінювати характеристики ущільнень. Ще один недолік варіанта (рис. 12 в) - наявність двох вторинних ущільнень на аксіально рухомому кільці.
Рисунок 14 – Схема розрахунку гідростатичного ущільнення
В ущільненнях (рис. 12 а-в) торцевий зазор не залежить від частоти обертання ротора, а в ущільненні (рис. 12 д) ця залежність дуже слабка і обумовлена малою зміною провідності g2 дроселя, що обертається, із зміною частоти. У результаті в цих ущільненнях на стоянці зберігається торцевий зазор та відповідні витоки. Якщо за умов експлуатації витоки на зупиненій машині, яка знаходиться під тиском, не допускаються (наприклад, на насосах, що знаходяться у гарячому резерві), треба встановлювати додаткові стоянкові ущільнення. З цієї точки зору кращим є варіант (рис. 12 г.) з імпульсним урівноваженням аксіально рухомого кільця [5]: із зростанням частоти імпульсів, тобто частоти обертання, тиск р2 у камерах збільшується, що веде до відповідного збільшення торцевого зазору. Ця тенденція особливо виражена при високих частотах, а при роторі, що не обертається, торцевий зазор повністю закривається. Таким чином, розглянута конструкція одночасно виконує функцію стоянкових ущільнень.
Основні передумови, прийняті при виведенні основних розрахункових формул (таблиця 1), для варіантів ущільнень 12 в та 12 г., базуються на даних експериментальних досліджень. Нижче наведенні деякі експериментальні результати, що стосуються ущільнень з імпульсним урівноваженням, розроблених для головних циркуляційних насосів блоків ВВЕР-1000.
Таблиця 1
| Визначальні характеристи-ки | Варіанти ущільнення | |
| В | Г | |
| Статична характерис-тика |
|
|
| Витратна характерис-тика |
|
|
| Умова динамічної стійкості без урахування в’язкого тертя (Т=0) |
|
|
| Параметри |
|
|
Позначення до таблиці
pi - тиск середовища (див. рис. 12, 13);
Si - площі торцевих поверхонь аксіально рухомих кілець (див. рис. 12, 13);
K - жорсткість пружин;
- попереднє стиснення пружин;
- безрозмірний тиск;
- номінальне значення ущільнюваного тиску;
- провідність і-го дроселя (див. рис. 12);
- відношення провідностей;
- провідність і-гo змінного дроселя при оптимальному значенні торцевого зазору;
- радіуси (див. рис. 12);
- оптимальне значення торцевого зазору;
- коефіцієнт динамічної в’язкості;
- безрозмірний торцевий зазор;
- безрозмірне зусилля попереднього стиску пружин;
Q - витоки через ущільнення;
- безрозмірні витоки;
Е - модуль пружності рідини;
- частота обертання ротора;
- відносна частота обертання ротора;
- густина рідини;
І - число провідних каналів в імпульсному ущільненні;
«о» - індекс, який означає стале значення змінної величини;
- безрозмірний ущільнюваний перепад тиску.
Результати експериментальних досліджень ущільнень ротора насоса ГЦН 20000-100
Для забезпечення високих вимог щодо надійності та довговічності, що ставляться до ущільнень ГЦН, доводиться проводити великий обсяг експериментальних досліджень, мета яких полягає у наступному:
зменшення зносу робочих ущільнювальних поверхонь у результаті відповідного підбору матеріалів пар тертя та використовування раціональних методів змащування;
виключення деформації робочих елементів ущільнення від дії сил тиску ущільнованого середовища та температури;
забезпечення статичної та динамічної стійкості ущільнювальних елементів;
розроблення ефективної системи охолоджування блоку ущільнення;
перевірка працездатності ущільнення при нестаціонарних і аварійних режимах;
перевірка справедливості використовуваних у процесі проектування методів розрахунку ущільнень.
Умови експлуатації вузла ущільнення ротора (рис. 11) у ГЦН 20000-100 характеризуються широким діапазоном зміни тиску (1,5—16 МПа) та температури (20—300 °С) ущільнюваної води. Швидкість ковзання на ущільнюваних поверхнях досягає 25 м/с. При певних режимах роботи ротор насоса одержує осьове переміщення до 2-3 мм. У аварійних ситуаціях можливе короткочасне припинення подачі запірної або охолоджуючої води. Необхідний ресурс - не менше 10 тис. год.
Рисунок 15 - Схема установки для випробувань натурних вузлів ущільнень:
1 - фільтр; 2 - бак; 3 - насос; 4 - гідроакумулятор;
5 - компресор; 6 - витратомірний пристрій; 7-теплообмінник;
8 - гідроциклон; 9 - прилад; 10, 11 та 12 - ступені основного ущільнення; 13 - плаваюче ущільнення; 14 - допоміжна ступень ущільнення; 15 - мірний бак; 16 - дросель; 17 – маслонасос
Для експериментальних досліджень та відпрацювання ущільнень до ГЦН 20000-100 у ВНДІАЕН створений ряд стендових установок. Одна з них показана на рисунку 15 [7]. До складу установки входять випробувальний прилад, допоміжне устаткування із забезпечення робочих параметрів, система управління, контролю та сигналізації.
Ротор приладу розміщений в кронштейні вертикально та в нижній частині забезпечений опорним та опорно-упорним гідродинамічними підшипниками ковзання з примусовою системою масляної змазки. Конструкція підшипників дозволяє імітувати під час випробувань осьове переміщення ротора. Блок ущільнення (рис. 11) натурних розмірів встановлений на консолі вала у верхній частині приладу. Для врівноваження осьової сили на роторі розміщена допоміжна ступень імпульсного гідростатичного ущільнення, яка розрахована для роботи при повному перепаді тиску. Приводом приладу служить асинхронний електродвигун (N=100 кВт, n=1500 об/хв), який передає крутний момент через пружну муфту.
Установка має замкнуті контури циркуляції води та масла з теплообмінниками для підтримки необхідної температури. Тиск перед ущільненням створюється двома (робочим та резервним) плунжерними насосами Тр 6,3/100. Зниження пульсацій тиску перед ущільненням досягається за допомогою поршневого гідроакумулятора, підживлення якого виконується компресором КВДМ. Воду від механічних домішок очищають двома сітчастими фільтрами з коморою розміром 40 мкм (один із них резервний). Тонше очищення виконується у гідроциклоні, через який забруднена вода повертається у бак, а чиста надходить у приймальну камеру приладу.
Робочі параметри ущільнення контролюються та вимірюються електроконтактними і зразковими манометрами ЕКМ (класи 1, 6) та МО (класи 0, 4), дифманометром ДМ у комплекті з приладом ВМД, термометрами опору ТСП-309 у комплекті з автоматичним мостом МСР-1-117, ротаметрами РЕ у комплекті з приладом ДСР-1-47. Зовнішні витоки через ущільнення вимірюють мірною посудиною, потужність, споживану приладом, - вимірювальним комплектом К-50 (класи 0, 5), час роботи - лічильником мотогодин. У вимірювальній схемі установки передбачений захист та блокування для автоматичного відключення приладу при порушенні нормальної роботи ущільнень або допоміжного устаткування.
Враховуючи новизну конструкції імпульсного ущільнення та складність динамічних процесів, що відбуваються у ньому під час роботи, спочатку проводили дослідження, які дозволили уточнити механізм роботи ущільнення та вибрати основні передумови для побудови методики розрахунку. Для цього розробили спрощену модель ущільнення (рис. 16), яка дозволила змінювати зазор між робочими поверхнями за рахунок зміни тиску р4 у допоміжній камері 1. Конструкція моделі подібна ущільненню, що показане на рисунку 10. На нерухомому кільці 2 та кільці, що обертається 3, виконані замкнуті камери 6 та живильні канали 4. Для вимірювання тиску по ширині ущільнюючого паяска на кільці 2 розміщені дренажні отвори 5, сполучені трубками з вимірювальними приладами. Характер зміни тиску р2 у камерах досліджували за допомогою комплекту апаратури, що складається з первинного перетворювача тиску, вимірника високочастотних пульсацій, електронно-променевого або шлейфового осцилографів. Перед записом або фотографуванням з екрану осцилографа виконувалося тарування сигналу за величиною вимірюваного тиску. Про характер зміни зазору судили по витоках через ущільнення, а його величину оцінювали перерахунком за відомими формулами для витрат. При р4=рз ущільнення працювало в звичних умовах з мінімальним осьовим зазором. З підвищенням тиску р4 зазор збільшувався та при тиску
досягав максимального значення.
Рисунок 16 - Модель імпульсного гідростатичного ущільнення
В якості пари тертя використовували силіційваний графіт, що має високу зносостійкість, що дозволило зберегти у ході випробувань практично незмінною геометрію робочої шпарини. Зношення робочих поверхонь оцінювали індикатором (ціна поділки 0,001 мм) та за характером інтерференційних смуг. Випробування проводили на воді з температурою 20-50 °С при перепаді тиску до 16 МПа. Частота обертання вала становила 1500 об/хв, а швидкість ковзання у робочій шпарині - 25 м/с.
У результаті експериментальних досліджень декількох варіантів імпульсного гідростатичного ущільнення встановлено таке [3]:















