123415 (577592)
Текст из файла
ЗМІСТ
1. Електроерозійний метод обробки
2. Електрохімічний метод обробки
3. Лазерна (світлопроменева) обробка
Висновок
Література
1. Електроерозійний метод обробки
Електроерозійні методи полягають у руйнуванні електропровідних матеріалів — електродів — під час пропускання між ними імпульсів електричного струму. Коли різниця потенціалів між електродами (заготовкою та інструментом) набуває певного значення, газове або рідинне середовище між ними іонізується й утворюється канал провідності, по якому проходить електричний струм у вигляді імпульсного іскрового або дугового розряду. Завдяки високій густині струму температура на локалізованій поверхні заготовки сягає 10 000 °С і більше. При такій температурі миттєво розплавляється і навіть випаровується елементарний об'єм металу, який викидається в діелектричну рідину і там застигає у вигляді гранул. На місці відокремленого металу з'являється заглибина. Подальші електричні імпульси іонізують міжелектродне середовище там, де відстань між електродами найменша. Якщо електроди не рухати, то зазор між ними поступово зростає і настає момент, коли електричні розряди припиняються. Щоб продовжити обробку, необхідно зблизити електроди до пробивної відстані (0,01...0,05 мм). Внаслідок неперервного заглиблення інструмента оброблена поверхня заготовки набуває його профілю. Частота імпульсів електричного струму під час електроерозійної обробки змінюється від 100 до 2 000 000 Гц.
Серйозною проблемою електроерозійної обробки є руйнування інструмента, внаслідок чого знижується точність й погіршується якість обробленої поверхні. Ерозійна стійкість інструмента зумовлена значною мірою параметрами імпульсу струму та матеріалу інструмента у такій послідовності в напрямі збільшення стійкості: сплави алюмінію —> сірий чавун —» латунь —> мідь —> вольфрам —> графітизована суміш.
Різновидами електроерозійної обробки є електроіскрова, електроімпульсна, електроконтактна та ін.
Рис.1. Схема електроерозійної обробки
1 - генератор імпульсів; 2 - заготовка; 3 – електрод-інструмент; 4 - зона плавлення металу; 5 - електроерозійна лунка; 6 – плазмовий розрядний канал; 7 – газовий пузир; 8 – робоча рідина.
Основні різновиди електроерозійної обробки: електроіскрова електроімпульсна і високочастотна електроіскрова.
Інтенсивність процесу ерозії визначається в основному тепло фізичними параметрами матеріалів електродів (температурою, теплотою плавлення і випару, теплоємністю і теплопровідністю), електричними параметрами імпульсів струму (енергією, тривалістю, амплітудою, частотою проходження) і властивостями міжелектродного середовища (електропровідністю, плинністю, насиченістю газами і парами, в'язкістю).
Процес ерозії значно інтенсифікується в рідкому середовищі і має, як правило, яскраво відображений полярний ефект, внаслідок якого один електрод (інструмент) зношується менше іншого (деталі). Метал, що викидається з ерозійної лунки, застигає в рідкому середовищі у виді дрібнодисперсних гранул.
Електроерозійні методи обробки засновані на законах ерозії (руйнування) електродів зі струмопровідних матеріалів при пропущенні між ними імпульсного або постійного електричного струму.
До цих методів відносять: електроіскрову, електроімпульсну, високочастотну і електроконтактну обробку.
Рис. 2. Схема фізичних процесів у міжелектродному проміжку при електроерозійній обробці
По досягненні імпульсною напругою визначеного значення між електродом-інструментом (4) і електродом-деталлю (1) у діелектричній рідини (2) відбувається електричний пробій. При цьому від електрода, що у даний момент є катодом, відокремлюється стример (3) і направляється до анода, іонізуючи на своєму шляху рідина. У результаті цієї фази (її тривалість 10-9-10-7 с) утвориться канал наскрізної провідності й опір міжелектродного проміжку знижується від декількох МОМ до часток Ом (а).
Через канал провідності виді імпульсу виділяється електрична енергія, накопичена в джерелі харчування (б). при цьому відбувається електричний розряд (5), тривалість якого складає 10-6-10-4 з, для якого характерно падаюча вольт-амперна характеристика. Розряд проходить іскрову і дугову стадію. Завдяки високій концентрації енергії в зоні розряду і приелектродних областях розвиваються високі температури. Під їхнім впливом утвориться паро-газова порожнина (7). У приелектродних областях (8) відбувається плавлення і випар мікропорцій металу на поверхні електрода. У результаті тиску краплі, що розвивається, рідкого металу (6) викидаються з зони розряду і застигають у навколишні електроди рідкому середовищу у виді дрібних сферичних часток (9) (в).
Після пробою електрична міцність міжелектродного проміжку відновлюється. Наступний розряд виникає в іншому місці між другими нерівностями поверхонь електродів. При цьому електрод-інструмент одержує можливість впроваджуватися в оброблювану деталь.
По технологічних ознаках ДСТ 25331-82 установлює види, ЕЕО:
- відрізка;
- об'ємне копіювання;
- вирізання;
- прошивання;
- шліфування;
- доведення;
- маркірування;
- електроерозійне зміцнення.
Електроерозійна обробка може здійснюватися профільним або непрофільованим електродом-інструментом (ЕІ). У першому випадку його розміри і форма робочих поверхонь визначаються у відповідності з заданою повторюваністю деталлю, що виготовляється. В другому електрод-інструмент має найпростішу конструкцію (дріт, диск або стрижень), а його розміри лише частково зв'язані з розмірами електрода-деталі.
Методи електроерозійної обробки.
При електроіскровій обробці використовують імпульсні іскрові розряди між електродами, один із яких оброблювана заготівля (анод), а іншої - інструмент (катод).
Напруга джерела електричної енергії 100-200 В. Тривалість імпульсу складає 20 - 200 мкс.
У залежності від кількості енергії, що витрачається в імпульсі, режим обробки поділяють на твердої або середній - для попередньої обробки і м'який або особливо м'який - для оздоблювальної обробки. М'який режим обробки дозволяє одержувати розміри з точністю до 0,002 мм при шаршавості поверхні 0,63-0,16 мкм.
Продуктивність обробки складає від 7,5 до 1900 мм3/хв.
Електроіскровим методом обробляють практично всі токопроводячі матеріали, але ефект ерозії при тих самих параметрах електричних імпульсів різний. Залежність інтенсивності ерозії від властивостей металу називають електроерозійною оброблюваністю. За одиницю прийнята електроерозійна оброблюваність стали (Сталь45), тоді для твердих сплавів вона буде - 0,5; титан - 0,6; нікель - 0,8; мідь - 1,1; латунь - 1,6; алюміній - 4 і т.д.
Електроіскровим методом доцільно обробляти тверді сплави, важко оброблювані метали і сплави, тантал, молібден і ін. мати-ріали.
Схеми організації процесів електроіскрової обробки.
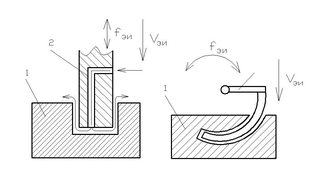
Електроерозійна відрізка
Рис.3. Схема електроерозійної відрізки.
Електрод-інструмент (2) переміщається зі швидкістю по відношенню до заготівки. Заготівка не рухома. Заготівка (1) переміщається зі швидкістю Vпз.
Операцію виконують із зануренням у ванну з робочою рідиною.
Рис. 4. Електроерозійне об'ємне копіювання
Обробка виробляється прямим копіюванням електрода-інструмента (2) на заготівлю (1) у ванні з робочою рідиною з прокачуванням або без прокачування її через канали (3) у ЕІ. Для стабілізації обробки використовують вібрацію ЕІ, а для підвищення точності обробки - осциляцію у процесі переміщення електрода в напрямку заготівки.
Рис. 5. Електроерозійне прошивання
Подача електрода-інструмента зі швидкістю відносно заготівки і вібрація з частотою.
Обробка виробляється прямим копіюванням у ванні з робочою рідиною з одночасним прокачуванням її через електрод-інструмент або без прокачування і т.д.
При електроімпульсній обробці використовують електричні імпульси великої тривалості (500-10000 мкс), у результаті чого відбувається дуговий розряд.
Великі потужності імпульсів одержувані від електронних або машинних генераторів струму, забезпечують високу продуктивність процесу обробки.
Електроімпульсна обробка проводиться при напругах генератора імпульсів U=18-36 В.
При електроімпульсній обробці знімання металу в одиницю часу в 8-10 разів більше, ніж при електроіскровій обробці, однак точність розмірів і шорсткість оброблених поверхонь нижче.
Високочастотна электроіскрова обробка застосовується для підвищення точності і зменшення шорсткості поверхонь оброблених електроімпульсним методом. Метод заснований на використанні електричних імпульсів малої потужності при частоті 100-150 кГц.
Полярність включення електрода-інструмента і заготівлі - пряма. Точність вище, а шорсткість поверхні нижче, ніж при електроіскровій обробці.
Рис. 6. Схема електроерозійного методу обробки: 1 - інструмент; 2 - заготівля; 3 - рідкий діелектрик; 4 - електричні розряди.
2. Електрохімічний метод обробки
До електрохімічних методів обробки матеріалів відносять методи виготовлення форми, розмірів, шорсткості і властивостей оброблюваних поверхонь заготівель, що відбуваються під дією електричного струму і його розрядів, електромагнітного поля, електронного або оптичного випромінювання, плазменного струменя, а також високо-енергетичних імпульсів і магнітострикційного ефекту.
Відмінною рисою цих методів є використання електричної енергії безпосередньо для технологічних цілей без проміжного перетворення її в інші види енергії. Причому використання, електричної енергії здійснюється безпосередньо в робочій зоні через хімічні, теплові і механічні впливи.
До цих методів відносять також і різні сполучення (сполучення) в одному процесі декількох із зазначених способів впливу між собою або з традиційними методами обробки різанням або тиском. Такі методи називають комбінованими.
Більшість процесів електрохімічної обробки супроводжується видаленням з оброблюваної поверхні заготівель припусків. Такі процеси й операції відносять до розмірної обробки (розмірне формоутворення).
Деякі процеси здійснюються без зняття припуску з оброблювальних поверхонь - них відносять до безрозмірного (оздоблювальної) обробці.
Основні, технологічні особливості і достоїнства ЕХМО в порівнянні з традиційними технологіями, заснованими переважно на силовому контактному впливі інструмента на заготівлю наступне:
1. Можливість обробки широкого кола матеріалів з різноманітними механічними, електричними, оптичними й іншими властивостями. Щонайменше для кожного матеріалу можна підібрати найбільше ефективний процес.
2. Незначний механічний вплив на заготівлю завдяки тому, що або узагалі відсутній інструмент, або процес нескінченний.
3. Одержання складних конфігурацій, широкі межі можливих розмірів оброблюваної поверхні від об'єктів так називаної нанотехнології до великогабаритних деталей.
4. Незначна технологічна спадковість процесів, тобто можливість проведення обробки в режимах, що не створюють сіткового впливу на властивості речовини деталі.
Характеристики
Тип файла документ
Документы такого типа открываются такими программами, как Microsoft Office Word на компьютерах Windows, Apple Pages на компьютерах Mac, Open Office - бесплатная альтернатива на различных платформах, в том числе Linux. Наиболее простым и современным решением будут Google документы, так как открываются онлайн без скачивания прямо в браузере на любой платформе. Существуют российские качественные аналоги, например от Яндекса.
Будьте внимательны на мобильных устройствах, так как там используются упрощённый функционал даже в официальном приложении от Microsoft, поэтому для просмотра скачивайте PDF-версию. А если нужно редактировать файл, то используйте оригинальный файл.
Файлы такого типа обычно разбиты на страницы, а текст может быть форматированным (жирный, курсив, выбор шрифта, таблицы и т.п.), а также в него можно добавлять изображения. Формат идеально подходит для рефератов, докладов и РПЗ курсовых проектов, которые необходимо распечатать. Кстати перед печатью также сохраняйте файл в PDF, так как принтер может начудить со шрифтами.















