103602 (576521)
Текст из файла
Контрольная работа №1
1. Покажите влияние установления государством минимальной заработной платы на рынок труда.
Установление минимума зарплаты, во-первых, негативно влияет на привлечение к работе неквалифицированных рабочих и подростков и, во-вторых, приводит к самым противоречивым эффектам в отраслях с низкой заработной платой (розничная торговля). Работодатели часто реагируют на увеличение минимума зарплаты ухудшением условий труда, повышением интенсивности труда, уменьшением различных льгот и т.д. В целом же занятые рабочие выигрывают от роста минимума зарплаты.
С ростом минимальной заработной платы спрос на рынке труда увеличивается.
2. Охарактеризуйте сущность и организационные формы предпринимательских фирм (предприятий)
Слово «предприятие» происходит от слова предпринимать что-либо, вести дело. Условно можно выделить внутреннюю и внешнюю стороны деятельности предприятия.
Внутренняя деятельность предприятия заключена в непосредственном производстве товаров и услуг. Ее участниками являются трудовой коллектив в лице работников и управленцев; собственник предприятия (единоличный либо коллективный); предприниматель.
В рыночной экономике особое место отводится предпринимателю, способному выполнять исключительно важную функцию на предприятии –– «зарабатывание прибыли». Предприниматель должен обладать особым набором качеств: инициативностью, склонностью к новому и передовому, расчетливостью и т.п. Очень часто предприниматель работает по найму, не являясь собственником предприятия.
Внешняя сторона деятельности предприятия обусловлена отношением с поставщиками, потребителями продукции предприятия, партнерами и соперниками (конкурентами), кредиторами, государственными органами. Предприятие не существует вне окружающей экономической среды.
Предприятие –– обособленная целостная система технологических, социальных, и экономических отношений, выступающая в качестве хозяйственной единицы –– производителя продаваемых потребителям продуктов и услуг.
Из вышеприведенных определений вытекает, что предприятие есть:
-
комплекс средств производства, обладающих технологическим единством, приспособленный для изготовления определенного продукта или оказания услуг;
-
коллектив людей, связанный определенными социально-экономическими отношениями и интересами;
-
целостная микроэкономическая система с завершенным воспроизводственным процессом на основе обособления ресурсов при их полном самостоятельном обороте.
Важнейшей характеристикой предприятия, предопределяющей форму его экономической деятельности, является степень экономической свободы (самостоятельность).
Полная экономическая свобода (самостоятельность), на базе частной собственности проявляется в следующем:
-
полная самостоятельность предприятия: в распоряжении выпускаемой продукцией, полученной прибылью, установлении цен на продукцию, заработной платы, выборе партнеров и т.д.;
-
полная экономическая ответственность за результаты хозяйственной деятельности, вплоть до банкротства;
-
наличие, наряда с общей целью –– максимализацией прибыли, локальных целей производства: обеспечение выживаемости, завоевание рынка и т.п., т.е. свобода целеполагания.
Относительная экономическая свобода, на базе государственной и муниципальной собственности, проявляется в следующем:
-
ограниченная самостоятельность предприятия, регламентируемая курирующим ведомством и правительством;
-
ограниченная ответственность предприятия, выражающаяся в государственной поддержке в форме дотаций, субсидий, льгот в налогообложении и т.п.
-
подчинении цели производства экономическим целям (интересам государства).
Все предприятия (как частного, так и государственного сектора экономики) в процессе функционирования действуют в рамках определенных законов, правовых форм, т.е. в системе правовых отношений. Поэтому предприятие является не только хозяйственным субъектом экономики, но одновременно выступает юридическим лицом –– элементом права.
В соответствии с Гражданским кодексом РФ юридически лицом признается организация, которая имеет в собственности, хозяйственном ведении или оперативном управлении обособленное имущество и отвечает по своим обязательствам этим имуществом, может от своего имени приобретать и осуществлять имущественные и личные неимущественные права, нести обязанности, быть истцом и ответчиком в суде.
Юридические лица должны иметь самостоятельный баланс или смету.
Виды предприятий
Предприятия могут быть сгруппированы по различным критериям (признакам):
-
по видам производимых товаров и услуг;
-
по приоритетным направлениям деятельности;
-
степени эффективности производства;
-
степени специализации;
-
региональной принадлежности;
-
по организационно-правовым различиям и т.д.
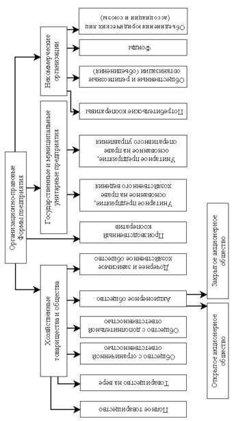
Рассмотрим более подробно классификацию предприятий по институциональным (организационно-правовым) различиям, связанную в первую очередь с юридическими принципами закрепления собственности (см. рис. 1).
Самая многочисленная группа предприятий –– хозяйственные товарищества и общества.
Хозяйственные товарищества и общества –– коммерческие организации с разделенным на доли (вклады) учредителей (участников) уставным (складочным) капиталом. Имущество, созданное за счет вкладов учредителей (участников), а также произведенное и приобретенное хозяйственным товариществом или обществом в процессе его деятельности, принадлежит ему на праве собственности.
Участниками полных товариществ и полными товарищами в товариществах на вере могут быть индивидуальные предприниматели и (или) коммерческие организации. Участниками хозяйственных обществ и вкладчиками в товариществах на вере могут быть граждане и юридические лица.
Основные права участников хозяйственного товарищества или общества:
-
участвовать в управлении хозяйственного товарищества или общества;
-
получать информацию о деятельности товарищества или общества и знакомится с его бухгалтерскими книгами и иной документацией;
-
принимать участие в распределении прибыли;
-
получать в случае ликвидации товарищества или общества часть имущества, оставшегося после расчета с кредиторами, или его стоимость.
Основные обязанности участников хозяйственного товарищества или общества:
-
вносить вклады в порядке, размерах, способами и в сроки, предусмотренные учредительными документами;
-
не разглашать конфиденциальную информацию о деятельности товарищества или общества;
-
другие обязанности, предусмотренные учредительными документами.
Хозяйственные товарищества могут создаваться в форме: полного товарищества или товарищества на вере.
Полное товарищество –– товарищество, участники которого (полные товарищи) в соответствии с заключенным между ними договором занимаются предпринимательской деятельностью от имени товарищества и несут ответственность по его обязательствам принадлежащим им имуществом.
Рис. 1 Классификация предприятий по организационно-правовым различиям
Товарищество на вере (коммандитное товарищество) –– товарищество, в котором наряду с участниками, осуществляющими от имени товарищества предпринимательскую деятельность и отвечающими по обязательствам товарищества своим имуществом (полными товарищами), имеются один или несколько участников-вкладчиков (коммандитистов), которые несут риск убытков, связанных с деятельностью товарищества, в пределах сумм, внесенных ими вкладов и не принимают участия в осуществлении товариществом предпринимательской деятельности.
Лицо может быть полным товарищем только в одном товариществе на
Общество с ограниченной ответственностью учреждается одним или несколькими лицами общества, уставный капитал которого разделен на доли, определенными учредительными документами; участники общества с ограниченной ответственностью не отвечают по его обязательствам и несут риск убытков, связанных с деятельностью общества, в пределах стоимости внесенных ими вкладов.
Общество с дополнительной ответственностью учреждается одним или несколькими лицами общества, уставный капитал которого разделен на доли, определенными учредительными документами; участники такого общества несут солидарную субсидированную ответственность по его обязательством своим имуществом в одинаковом для всех кратном размере к стоимости их вкладов, определяемом учредительными документами общества.
При банкротстве одного из участников –– его ответственность по обязательствам общества разделяется между остальными участниками пропорционально их вкладам, если иное не предусмотрено учредительными документами общества.
Акционерное общество –– общество, уставный капитал которого распределен на определенное число акций. Участники акционерного общества (акционеры) не отвечают по его обязательствам и несут риск убытков, связанных с деятельностью общества в пределах стоимости принадлежащих им акций. Законом предусмотрены закрытые и открытые акционерные общества.
Открытое акционерное общество –– акционерное общество, участники которого могут отчуждать принадлежащие им акции без согласия других акционеров. Такое акционерное общество проводит открытую подписку на выпускаемые им акции и их свободную продажу. Открытое акционерное общество ежегодно публикует для всеобщего сведения годовой отчет, бухгалтерский баланс, отчет о прибылях и убытках.
Закрытое акционерное общество –– акционерное общество, акции которого распределяются только среди его участников (учредителей) или иного заранее определенного круга лиц. Такое общество не вправе проводить открытую подписку на выпускаемые им акции.
Учредители акционерных обществ заключают меду собой договор, определяющий порядок осуществления ими совместной деятельности по созданию общества, размер уставного капитала общества, категории выпускаемых акций и порядок их размещения и др. Доля привилегированных акций в общем объеме уставного капитала не должна превышать 25 %.
Дочернее хозяйственное общество –– это такое общество, если другое общество (основное) или товарищество в силу преобладающего участия в его уставном капитале, либо в соответствии с заключенным договором имеет возможность определять решения, принимаемые таким обществом.
Зависимое хозяйственное общество признается таковым, если другое (преобладающее, участвующее) общество имеет более 20 % голосующих акций акционерного общества или 25 % уставного капитала общества с ограниченной ответственностью.
Производственный кооператив (артель) –– добровольное объединение граждан на основе членства для совместной производственной деятельности или иной хозяйственной деятельности (производство, переработка сбыт промышленной или сельскохозяйственной продукции, торговля, бытовое обслуживание, оказание других услуг), основанной на их личном трудовом или ином участии и объединении его членами (участниками) имущественных, паевых взносов. Учредительный документ производственного кооператива –– устав.
Унитарное предприятие, основанное на праве хозяйственного ведения, создается по решению уполномоченного на то государственного органа или органа местного самоуправления. Собственник имущества предприятия, основанного на праве хозяйственного ведения, не отвечает по обязательствам предприятия.
Унитарное предприятие, основанное на праве оперативного управления, создается на базе имущества, находящегося в федеральной собственности по решению Правительства РФ (федеральное казенное предприятие). Российская Федерация несет субсидированную ответственность по обязательствам казенного предприятия при недостаточности имущества.
3. Фирма использует капитал К и труд L в такой комбинации, что их предельные продукты МРк = 10, МРl= 16. Цены факторов соответственно Рк =3, Рl =4. Что делать фирме?
а) использовать больше труда и меньше капитала.
б) использовать меньше труда и больше капитала.
в) повысить заработную плату.
Объясните ответ.
Характеристики
Тип файла документ
Документы такого типа открываются такими программами, как Microsoft Office Word на компьютерах Windows, Apple Pages на компьютерах Mac, Open Office - бесплатная альтернатива на различных платформах, в том числе Linux. Наиболее простым и современным решением будут Google документы, так как открываются онлайн без скачивания прямо в браузере на любой платформе. Существуют российские качественные аналоги, например от Яндекса.
Будьте внимательны на мобильных устройствах, так как там используются упрощённый функционал даже в официальном приложении от Microsoft, поэтому для просмотра скачивайте PDF-версию. А если нужно редактировать файл, то используйте оригинальный файл.
Файлы такого типа обычно разбиты на страницы, а текст может быть форматированным (жирный, курсив, выбор шрифта, таблицы и т.п.), а также в него можно добавлять изображения. Формат идеально подходит для рефератов, докладов и РПЗ курсовых проектов, которые необходимо распечатать. Кстати перед печатью также сохраняйте файл в PDF, так как принтер может начудить со шрифтами.












