101189 (576031)
Текст из файла
Тема
Организация многоагрегатной работы и совмещение профессий
Содержание
Введение
1. Совмещение профессий
2. Многостаночное обслуживание
Заключение
Введение
Эффективность осуществления производственных процессов, использование способов труда, затраты на изготовление продукции и ее качество в значительной мере зависят от выбора той или иной формы организации работы: совмещения профессий (функций), многоагрегатного обслуживания, коллективной (бригадной) работы. Технический прогресс приводит к тому, что увеличивается количество рабочих функций, переходящих от рабочего к машине, в силу чего у рабочего растет время наблюдения за работой оборудования. Такое положение неизбежно ставит вопрос о том, чтобы наряду с усилением использования машины во времени наиболее полно использовать и рабочее время рабочего, чтобы каждый рабочий как можно большую часть рабочего времени был занят выполнением производственной работы. С этой целью и используется совмещение профессий, специальностей и функций, когда рабочий наряду с выполнением своей основной работы полностью или частично выполняет работу, которую раньше выполнял другой исполнитель. Этой же цели служит и многостаночное (многоагрегатное) обслуживание, при котором рабочий одновременно обслуживает несколько станков (агрегатов).
1.Совмещение профессий
Совмещение профессий – это выполнение одним работником разнообразных функций или работ при овладении несколькими профессиями или специальностями.
Совмещение профессий играет важную роль в обеспечении рационального использования рабочего времени, полнейшей загрузки оборудования, эффективного использования кадров, повышение квалификации, а также является значительной причиной повышения эффективности работы без дополнительных трудовых ресурсов. Оно влияет на содержание работы, улучшение работоспособности, формирование качественно нового профиля работника, снижение текучести кадров, удовлетворенность работой, способствует расширению возможностей творческого подхода к ней.
Выбор наиболее целесообразных вариантов совмещения профессий в каждом случае основывается на изучении затрат рабочего времени, загруженность исполнителей.
Формы совмещения профессий определяются и такими факторами как тип производства, уровень механизации работы, вид ее организации. В случае совмещения профессий один работник выполняет функции и работы, которые характерны для разных профессий. Совмещение может быть полным и частичным. Как следствие уменьшается общая численность работников тех профессий, которые совмещаются.
Наиэффективнейшим является совмещение профессий, специальности, которые взаимосвязаны ходом технологического процесса, единством обрабатываемых предметов работы, выполнением основного и вспомогательного процессов. Среди эффективных форм организации труда, которые способствуют повышению продуктивности труда, важное место составляет многостаночное обслуживание.
2. Многостаночное обслуживание
Многостаночное (многоагрегатное) обслуживание базируется на совмещении профессий и определенной очереди выполнения ручных операций на нескольких единицах оборудования. Другими словами, один работник или группа (бригада) исполнителей работают одновременно на нескольких агрегатах либо машинах, используя ручные приемы на каждом из них во время автоматической работы всех других. В результате несколько агрегатов работают параллельно или параллельно-последовательно, при этом количество операторов будет меньшей, чем количество единиц оборудования, которые обслуживаются ими.
Рациональное построение многостаночного оборудования состоит в таком подборе операций, который обеспечивает наибольшую загруженность оборудования и полную занятость работника – многостаночника.[1, с 110-111]
При организации многостаночного обслуживания необходимо решение трех основных задач:
1.Найти оптимальные нормы обслуживания и численности с учетом взаимодействия между операторами – многостаночниками, наладчиками и другими группами рабочих.
2.Определить длительность цикла изготовления единицы продукции на одном станке с учетом его возможных простоев в ожидании обслуживания рабочими. Эта величина называется нормой длительности. Она характеризует станкоемкость единицы продукции по данной операции и измеряется в единицах времени (с, мин и т.п.)
3.Установить норму трудоемкости операции на единицу продукции для рабочих каждой группы исходя из норм длительности, обслуживания и численности. Нормы трудоемкости продукции по данной операции измеряются в человеко-секундах, человеко-минутах и т.п. [2,с 274] Рациональное построение многостаночного обслуживания состоит в таком подборе операций, которые обеспечивают наибольшую загрузку оборудования и полную занятость работника-многостаночника В связи с этим осуществляются:
-
Расчет возможного количества оборудования, которое обслуживается;
-
Построение графиков обслуживания оборудования;
-
Расчет длительности цикла многостаночного обслуживания, коэффициентов загрузки оборудования и загрузки рабочего-многостаночника;
-
Определение затрат на единицу оперативного времени работы оборудования по разным вариантам количества оборудования, которое обслуживается;
Для эффективной организации многостаночного обслуживания необходимо решить такие задачи:
-
Создание организационных условий для его введения;
-
Установление норм времени на выполнение технологических операций с выделением времени на выполнение ручных приемов и активный контроль работы станка (агрегата);
-
Установление маршрута движения для многостаночника и определение времени на переход работника от одного станка к другому.
Основными организационными условиями развития многостаночного обслуживания являются:
1) рациональное планирование участка, который обеспечивает надлежащий контроль за работой станков и кратчайшие маршруты перехода работника от одного станка к другому;
2) усовершенствование форм разделения и организации труда ( передача ряда обслуживающих функций вспомогательным рабочим и введение регламентного обслуживания, переход к коллективным формам организации труда также);
3) рациональный подбор деталей, которые подлежат обработке на многостаночном комплексе, с точки зрения конструктивных форм и размеров, сходство технологических операций и переходов;
4) увеличение размеров партий деталей, которые обрабатываются на основе специализации рабочих мест многостаночников;
5) усовершенствование структуры затрат времени на выполнение операций путем автоматизации технологического процесса, изменений режимов обработки и др.
Важно подчеркнуть, что в организации многостаночного оборудования существенную роль играют структура, длительность и повторяемость операций. [3, c 176-177] Таким образом, если при обслуживании одним рабочим одного станка достаточно установить одну норму (норму времени), то при многостаночной работе необходимо установление трех норм: нормы обслуживания для рабочего(бригады), нормы длительности, определяющей станкоемкость операции, и нормы, определяющей трудоемкость операции. При многостаночной работе нормированное время должно включать оптимальную величину объективно возможных простоев станка (агрегата) в ожидании обслуживания многостаночниками, т.е. при многостаночной работе норма длительности имеет следующую структуру:
Нд=tc+t3+tпт+tорм+tотл+tпз
где tс – свободное машинное (аппаратурное)время, т.е. время однократной непрерывной работы станка (аппарата) без какого-либо участия рабочего; это время затрачивается на одну деталь либо несколько деталей, изготовляемых непрерывно из одной заготовки (например, из одного прутка), или в многоместном приспособлении, или при бункерной (магазинной) подаче заготовок в зону обработки; t3- время однократной занятости многостаночника на одном станке; tпт- время объективно возможных перерывов в работе оборудования, связанных с ожиданием многостаночников; tорм- время обслуживания рабочего места; tотл- время на отдых и личные надобности; tпз-подготовительно - заключительное время.
Наличие времени перерывов tпт в составе нормы времени является одной из важнейших особенностей многостаночной работы. Оптимальная величина tпт Устанавливается в результате расчета оптимальных норм обслуживания и численности. Чем больше величина нормы обслуживания, тем при прочих равных условиях больше время tпт. Нормы труда при многостаночной работе должны рассчитываться в той последовательности, в которой они были перечислены выше, т. е. сначала определяются нормы обслуживания (численности), а затем на их основе – нормы времени. Этот порядок определяется зависимостью между указанными нормами и характером исходной информации, необходимой для расчета каждой из них.
Для расчета норм обслуживания и численности в качестве исходных данных используются величины свободного машинного (аппаратурного) времени tс и времени занятости рабочего на одном станке t3. Если станки обслуживаются рабочими нескольких групп (операторами, наладчиками и т.п.), то величины t3 должны быть указаны для рабочих каждой группы. Кроме того, должен быть задан порядок обслуживания станков рабочими различных групп. Следует учитывать, что при обслуживании станков рабочими различных групп в зависимости от конкретных условий расчет норм обслуживания и численности для многостаночников может выполняться как при фиксированном разделении и кооперации труда, так и в процессе решения общей задачи оптимизации форм разделения труда, норм обслуживания и численности. Каждому варианту норм обслуживания и численности соответствует определенная величина объективно возможных простоев оборудования в ожидании обслуживания рабочими. С учетом этих перерывов устанавливается норма длительности изготовления единицы продукции на одном станке рабочего времени многостаночника. Исходя из норм длительности обслуживания и численности рассчитывается норма времени (трудоемкости) на единицу продукции. На основе норм времени, обслуживания и численности определяются нормы выработки и нормированные задания.
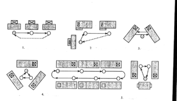
Величина норм обслуживания и численности определяется прежде всего величинами tс и t3. Чем больше частное tс: t3, тем больше станков может приходиться на одного рабочего. Проще всего нормы обслуживания и численности рассчитываются при циклических процессах, когда рабочий обслуживает оборудование постоянно по одному маршруту и на каждом из станков периоды работы и обслуживания повторяются через определенный отрезок времени – цикл многостаночного обслуживания. При нециклических процессах оборудование обслуживается по мере его остановки, без соблюдения одного и того же порядка обхода станков. Такое обслуживание характерно для многостаночников в тех случаях, когда величины свободного времени и времени занятости существенно колеблются. При этом соблюдение определенного маршрута обслуживания неэффективно, так как может вызвать значительные простои оборудования и рабочих. [2, с 274] Нециклическая система характеризуется эпизодическим возникновением потребности в обслуживании, а циклическая – постоянным. Во время циклического обслуживания работник последовательно выполняет вспомогательную работу, переходя от станка к станку, во время нециклического – он подходит к тому станку, на котором закончилась автоматическая работа, независимо от расположения станка на участке. Циклическое обслуживание осуществляется на поточных линиях и на рабочих местах, на которых работают станки с одинаковым или близким по длительности временем обработки детали. На рабочих местах, которые представляют собой участки поточных линий, применяется сторожевой или маршрутный методы обслуживания. По сторожевому методу работник, наблюдая за всеми станками, определяет необходимость обслуживания того или иного из них. При этом возможны два варианта их обслуживания: без приоритетов, когда станки обслуживаются в порядке возникновения необходимости, и с приоритетами, когда очередность обслуживания определяется с учетом стоимости и степени загруженности станка. Работая по маршрутному методу, работник обслуживает станки по ранее определенному маршруту. Выбор форм организации работы и зон обслуживания зависит от многих экономических, организационных, социальных и психофизиологических факторов. В любом случае форма организации работы должна быть оптимальна с точки зрения расширения трудовых функций и обеспечения возможности для повышения квалификации работников, исключения монотонности работы, восприятия трудовых процессов, уменьшения расстояний переходов, снижения нервного напряжения работника. Экономическая целесообразность многостаночного обслуживания обеспечивается выбором таких форм организации работы и зон обслуживания, по которым суммарные затраты на производство продукции наименьшие. При дефиците рабочей силы применение многостаночного обслуживания дает наибольшую эффективность. Самые распространенные варианты обслуживания оборудования и маршруты движения работников во время многостаночного обслуживания приведены на рис.1.
Рис.1 Самые распространенные варианты расположения оборудования и маршруты движения работника при многостаночном обслуживании.
1 – линейное; 2 – смешанное; 3 – угловое; 4 – кольцевое; 5 – П-подобное.
В процессе циклического обслуживания станков, которые расположены по линии (первый вариант планирования на рис.1), работник-многостаночник по завершении цикла обслуживания всех станков делает поворотный переход к первому станку. В случае кольцевого размещения станков поворотные переходы отсутствуют. Таким образом, если станков больше трех и используется циклическое обслуживание, то целесообразно преимущество отдать кольцевым маршрутам. Во время обслуживания двух агрегатов следует располагать оборудование по третьему варианту планирования: в нем переходы работника от станка к станку отсутствуют. Если работник обслуживает три станка, удобнее всего располагать оборудование в виде буквы П, поскольку в этом случае переходы являются сами короткими. Классическим вариантом построения многостаночной работы является обслуживание станков-дублеров, когда длительность и структура операций на станках, которые обслуживаются, относительно постоянные.[1, с 115-117]
Характеристики
Тип файла документ
Документы такого типа открываются такими программами, как Microsoft Office Word на компьютерах Windows, Apple Pages на компьютерах Mac, Open Office - бесплатная альтернатива на различных платформах, в том числе Linux. Наиболее простым и современным решением будут Google документы, так как открываются онлайн без скачивания прямо в браузере на любой платформе. Существуют российские качественные аналоги, например от Яндекса.
Будьте внимательны на мобильных устройствах, так как там используются упрощённый функционал даже в официальном приложении от Microsoft, поэтому для просмотра скачивайте PDF-версию. А если нужно редактировать файл, то используйте оригинальный файл.
Файлы такого типа обычно разбиты на страницы, а текст может быть форматированным (жирный, курсив, выбор шрифта, таблицы и т.п.), а также в него можно добавлять изображения. Формат идеально подходит для рефератов, докладов и РПЗ курсовых проектов, которые необходимо распечатать. Кстати перед печатью также сохраняйте файл в PDF, так как принтер может начудить со шрифтами.














