66500 (573626), страница 2
Текст из файла (страница 2)
3. Регенерація активного гранульованого вугілля
Вугілля в результаті термічної обробки майже повністю відновлює свої адсорбційні властивості. Процес регенерації складається з послідовного промивання вугілля водою і прожарення без доступу повітря. Регенерацію вугілля першої і другої груп адсорберів доцільно проводити роздільно.
Для здійснення регенерації промите вугілля направляють в пропарник, аналогічний по конструкції адсорберу періодичної дії, і промивають киплячою водою, циркулюючою через шар вугілля по замкнутому контуру. Частина адсорбованих вугіллям речовин при цьому вимивається водою. Відпрацьовану воду спускають з пропарника в каналізацію, а вугілля звільняють від води за допомогою пари і направляють в пекти на регенерацію.
Для термічної регенерації застосовується барабанна, що обертається, пекти, така, що працює на рідкому паливі, або шахтна пекти з гравітаційним рухом вугілля, в якій як паливо використовується природний газ.
Барабанна пекти (мал. 1) є циліндровим барабаном, що обертається, 2, встановлений під кутом 1-1,5° у бік топки. Одним кінцем барабан примикає до топки, яка складається з камери згорання 4 і камери змішення 3. Іншим кінцем барабан входить в камеру для виведення газів.
Мал. 1. Барабанна пекти для сушки і прожарення активного гранульованого вугілля
Внутрішня поверхня барабана і топки викладена вогнетривкою цеглиною.
Регенерація здійснюється за принципом протитечії при безпосередньому контакті вугілля і розжарених (750-850 °С) топкових газів. Вологе вугілля, що поступає з пропарника, рівномірно подається дозатором 1 в барабан 2 і в результаті його обертання переміщається назустріч топковим газам, розбавленою водяною парою. При цьому органічні нецукора, адсорбовані вугіллям, згорають і поверхня вугілля звільняється. Прожарене вугілля вивантажується на вібротранспортер 5, охолоджується водою і просівається на ситі для відділення пороши. Втрати вугілля при регенерації і відсіюванні складають не більше 7% до його маси.
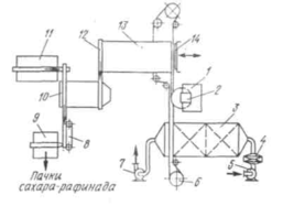
4. Одержання пресованого цукру-рафінаду на автоматизованих лініях
Розвиток пресового способу виробництва цукру-рафінаду сприяв створенню високопродуктивних автоматичних ліній, в яких об'єднані процеси пресування, сушки, фасовки і упаковки.
Потокова лінія для вироблення цукру-рафінаду в пачках. Лінія (мал. 2) складається з пресово-сушарного агрегату (ПСА) і колочно-пакувальної машини.
Мал. 2. Схема автоматизованої лінії виробництва цукру-рафінаду з використанням пресово-сушарного агрегату і колочно-пакувальної машини
Лінія включає дисковий прес 1, сушильний-охолоджувальну установку 3, транспортний пристрій 6, вентилятор 5 для сушки цукру, вентилятор 7 для охолоджування цукру і підігрівач повітря 4.
Сушильний-охолоджувальна установка довжиною 4,9 м, шириною 2,7 м і заввишки 3,2 м має два яруси. У ній безперервно переміщаються 43 підвісних вагончика типу етажерки. Спочатку вагончики проходять через верхній ярус, потім опускаються в нижній і на протилежному кінці знову піднімаються на верхній ярус.
Рафінадна кашка з бункера 2 поступає в прес-форми. Бруски, що відпресували, з диска преса стикаються на верхню стрічку пульсуючого транспортера і, досягнувши сушильний-охолоджувальної установки, укладаються на полки вагончиків.
Вагончики є рами з полицями (44 в кожній рамі), розташованими одна над іншою із зазором для проходження повітря. На одній полиці розміщується 56 брусків.
Сушка цукру-рафінаду проводиться в другому ярусі сушарки протитечією повітря, нагрітого до 85 °С, а охолоджування – в нижньому ярусі холодним повітрям. Цикл сушки 420 хв.
Висушені бруски цукру-рафінаду виштовхуються з підвісних вагончиків на нижню гілку сталевої стрічки транспортера і за допомогою автомата 14 поступають в накопичувач 13. Звідти стрічковим транспортером 12 подаються до колочної машини 10, розколюються на шматочки і потім пакувальними машинами укладаються в картонні коробки, виготовлені автоматом 11. Наповнені коробки по стрічковому транспортеру 5 доставляються до автомата 9 для обклеювання кришкою. Готові пачки комплектуються в збірні пакети.
Виробнича потужність автоматизованої лінії при упаковці в пачки масою 1 кг складає 30 т/доб. Міцність цукру-рафінаду 2,9–3,4 Мпа.
В даний час вітчизняні цукрорафінадні заводи оснащуються більш довершеними пресово-сушарними агрегатами К.5-ПРА в комплекті з колочно-пакувальними машинами. Виробнича потужність їх 30 т/доб цукру-рафінаду.
На деяких заводах встановлені автоматизовані лінії фірми «Шамбон» (Франція) для пресування, сушки і упаковки цукру-рафінаду продуктивністю 50 і 100 т/доб, оснащені роторними пресами.
Апаратурно-технологічна схема лінії фірми «Шамбон» приведена на мал. 3.
Рафінадна кашка вологістю 1,6-1,8% подається через бункер 1 в наповнювальну коробку роторного преса 2, де підтримується постійний рівень кашки, що забезпечує рівномірну подачу її в прес-форми. У міру обертання ротора матриці заповнюються кашкою, підводяться під опорну рухому плиту, і кашка пресується в брикети. Брикети укладаються в касети, піднімаються елеватором 6 по висхідній сушильній шахті 7 вгору, проходять по горизонтальному тунелю 5 і спускаються по низхідній шахті, що охолоджує, 4.
Мал. 3. Схема автоматизованої лінії виробництва цукру-рафінаду фірми «Шамбон»
На одній касеті укладається 6 кг цукру-рафінаду, зазор між касетами для проходу повітря складає 54,6 мм.
Брикети висушуються гарячим повітрям при температурі 72-75 °С у висхідній шахті і горизонтальному тунелі, а в другій половині низхідної шахти охолоджуються потоком холодного повітря. Цикл сушки 30 хв.
З шахти, що охолоджує, 4 касети з цукром подаються транспортером до механізму укладання 3, де брикети групуються в три прямокутники і переміщаються в зону укладання в коробки.
Присоси укладальника, що знаходяться під розрідженням, переносять один ряд брикетів в коробку, вакуум відключається, і брикети залишаються в коробці. Операція повторюється ще 2 рази, і коробка масою 1 кг нетто виявляється заповненій. У ній поміщається 180 брикетів – в три ряди по 60 шт.
Коробки з брикетами цукру-рафінаду по стрічковому транспортеру 8 подаються до машини 9, де закриваються кришками. Готові пачки упаковуються в групові пакети (у одному пакеті 20 пачок масою 1 кг або 40 пачок масою 0,5 кг).
Разом з випуском цукру-рафінаду в пачках масою 0,5 і 1 кг виробляється також кусковий пресований цукор-рафінад в дрібній фасовці з розміром брикетів 10x22х30 мм, загорнутий в окремі пакетики по два брикети загальною масою 15±1 р. Протягом 1 міни автомат завертає 150 пакетиків.
5. Накреслити та описати апаратурно-технологічну схему цукрорафінадного виробництва з двома рафінадними кристалізаціями
У рафінадному відділенні бурякоцукрового заводу застосовується схема з двома рафінадними кристалізація мі (мал. 4), що є продовженням схеми продуктового відділення бурякоцукрового заводу.
Цукор-песок
Цукор-песок
вода
вода
промои
Приготування клерсу




Приготування сиропу І рафінадної кристалізації

Приготування сиропу ІІ рафінадної кристалізації












Фільтруванняе клерсу
Фільтрування клерсу
Фільтрування клерсу
Знебварвлення
клерсу
Знебварвлення
клерсу
Знебварвлення
клерсу
Ультра-марин



Уварювання утфеля І рафінадної кристалізації
Уварювання утфеля ІІ рафінадної кристалізації
Підсинювання клерсу
Клерс
Клерс


Центрифугування утфеля І рафінадної кристалізації
Центрифугування утфеля ІІ рафінадної кристалізації




перший оттек
другий оттек
другий оттек
перший оттек
в продуктовое отделение
Змішування і пресування рафінадної кашки


















Висушування, охолодження та колка сахару-рафінаду



Фасовка та упаковка Сахару-рафінаду

Пресованный сахар-рафінад
Мал. 4. Технологічна схема цукрорафінадного відділення бурякоцукрового заводу
По цій схемі пробілений цукор-пісок утфеля I кристалізації прямо з-під центрифуг без сушки і обліку передають на приготування сиропу I рафінадної кристалізації. Туди ж направляють другий відтікав цього утфеля і відходи, отримані при пресуванні і колці цукру-рафінаду. Для знебварвлення сиропу I рафінадної кристалізації використовують свіже порошкоподібне активне вугілля, яке після відділення від сиропу подають на знебварвлення сиропу II рафінадної кристалізації. Перший відтікав утфеля I рафінадної кристалізації і другою відтікав утфеля II рафінадної кристалізації забирають на приготування сиропу II рафінадної кристалізації, а перший відтікав II рафінадній кристалізації направляють в продуктове відділення на уварювання утфеля I кристалізації. Відпрацьоване активне вугілля без промивки у вигляді суспензії додають до нефільтрованого соку II сатурації.
Вологий цукор I і II рафінадних кристалізації змішують, просівають для відділення грудок, пресують в бруски, сушать, розколюють на шматочки, фасують і упаковують.
При необхідності можна виводити рафінований цукор-пісок. Тоді цукор I і II рафінадних кристалізації замість клерсу пробілюють водою і висушують в сушильний-охолоджувальній установці.
Укорочена технологічна схема рафінування цукру без продуктових утфелів, коли перший відтікав утфеля II рафінадної кристалізації переробляється разом з бурякоцукровими утфелями, має певні переваги: знижуються втрати сахарози від розкладання, підвищуються доброякісність утфеля I кристалізації в продуктовому відділенні, а отже, і якість цукру-піску, використовуваного на приготування сиропу I рафінадної кристалізації.
Після закінчення переробки буряка рафінадне відділення бурякоцукрового заводу продовжує працювати на цукрі-піску, що привіз, по схемі з двома рафінадними і трьома продуктовими кристалізаціями, виконуючи всі вимоги по веденню технологічного режиму цукрорафінадного виробництва. Для отримання утфелів продуктових кристалізації використовують устаткування продуктового відділення, що звільнилося.