48449 (572192)
Текст из файла
Задание 1. Дан двумерный массив размерностью 5x6, заполненный целыми числами, введёнными с клавиатуры. Сформировать одномерный массив, каждый элемент которого равен наибольшему по модулю элементу соответствующего столбца.
Входные данные:
matr[5][6] - двумерный массив.
Выходные данные:
mas[6] - одномерный массив.
Текст программы:
#include
#include
#include
#define N 5
#define M 6
void main(void)
{
int matr[N][M];
int mas[M];
int i,j;
do{
clrscr();
printf("Введите двумерный массив \n");
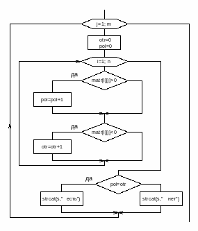
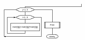
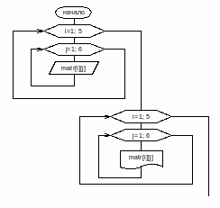
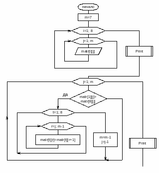
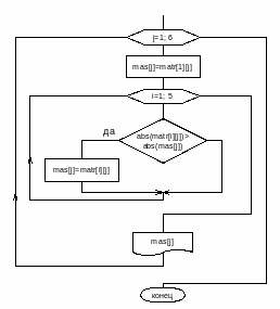
for(i=0;i for(j=0;j { scanf("%d",&matr[i][j]); } printf("\n двумерный массив:\n"); for(i=0;i { for(j=0;j printf("%7d",matr[i][j]); printf("\n"); } printf("\n массив наибольших по модулю элементов:\n"); for(j=0;j { mas[j]=matr[0][j]; for(i=0;i if(abs(matr[i][j])>abs(mas[j])) mas[j]=matr[i][j]; printf("%7d",mas[j]); } printf("\n\n1 - повторить"); }while(getch()=='1'); } Блок-схема: Тестирование: двумерный массив: 1 -3 5 -7 0 0 0 5 8 -9 3 0 3 4 -8 4 3 0 -4 3 0 7 3 0 0 3 3 7 1 0 массив наибольших по модулю элементов: -4 5 8 -9 3 0 Задание 2. Дан двумерный массив n * m. Определить, есть ли в данном массиве столбец, в котором равное количество положительных и отрицательных элементов. Входные данные: matr[n][m] - двумерный массив, n, m - размер массива. s[60] - строка. Текст программы: #include #include #include void main(void) { int i,j; int n,m; int matr[10][10]; int pol,otr; char s[60]; do{ strcpy(s,0); clrscr(); printf("Введите размер массива (n*m)\n"); scanf("%d %d",&n,&m); printf("Введите массив\n"); for(i=0;i for(j=0;j scanf("%d",&matr[i][j]); printf("\nОпределить, есть ли в данном массиве столбец,\ в котором\nравное количество положительных и отрицательных элементов.\n"); for(j=0;j { otr=0; pol=0; for(i=0;i { if(matr[i][j]<0) ++otr; if(matr[i][j]>0) ++pol; } if(pol==otr) strcat(s," есть"); else strcat(s," нет"); } printf("\n"); for(i=0;i { for(j=0;j printf("%6d",matr[i][j]); printf("\n"); } printf("%s",s); printf("\n\n1 - повторить"); }while(getch()=='1'); } Блок-схема: Тестирование: Определить, есть ли в данном массиве столбец, в котором равное количество положительных и отрицательных элементов. 0 1 -2 3 4 0 2 -4 5 -8 0 0 9 -7 0 0 -3 4 0 0 есть нет есть нет есть Задание 3. Дан двумерный массив размерностью 8x7. а). Удалить все столбцы, а которых первый элемент больше последнего. б). Заменить все элементы первых трёх столбцов на их квадраты. Входные данные: matr[8][7] - двумерный массив. Функции: Print - вывод массив на экран. Текст программы: #include #include #define N 8 #define M 7 void Print(int matr[][M],int m) { int i,j; for(i=0;i for(j=0;j printf("%6d",matr[i][j]); printf("\n"); } } void main(void) { int m; int i,j; int matr[N][M]; int r,t; do{ m=M; clrscr(); printf("Введите массив\n"); for(i=0;i for(j=0;j scanf("%d",&matr[i][j]); } clrscr(); printf(" массив\n"); Print(matr,m); for(j=0;j { if(matr[0][j]>matr[N-1][j]) { for(t=0;t for(r=j;r matr[t][r]=matr[t][r+1]; --m; --j; } } printf("а) .Удалить все столбцы, а которых первый элемент больше последнего.\n"); Print(matr,m); for(j=0;j<3;j++) for(i=0;i { matr[i][j]*=matr[i][j]; } printf("б). Заменить все элементы первых трёх столбцов на их квадраты.\n"); Print(matr,m); printf("\n\n1 - повторить"); }while(getch()=='1'); } Блок-схема: Функция Print Тестирование: массив 1 2 3 4 5 6 7 -8 0 5 5 4 4 5 4 5 5 5 5 5 5 5 5 5 -7 5 5 5 9 4 4 5 0 5 3 5 6 3 4 5 4 5 6 7 8 9 0 4 8 -4 5 9 0 9 9 0 а) .Удалить все столбцы, в которых первый элемент больше последнего. 2 3 5 6 0 5 4 4 5 5 5 5 5 5 5 5 4 4 0 5 6 3 5 4 7 8 0 4 5 9 9 9 б). Заменить все элементы первых трёх столбцов на их квадраты. 4 9 25 6 0 25 16 4 25 25 25 5 25 25 25 5 16 16 0 5 36 9 25 4 49 64 0 4 25 81 81 9
Характеристики
Тип файла документ
Документы такого типа открываются такими программами, как Microsoft Office Word на компьютерах Windows, Apple Pages на компьютерах Mac, Open Office - бесплатная альтернатива на различных платформах, в том числе Linux. Наиболее простым и современным решением будут Google документы, так как открываются онлайн без скачивания прямо в браузере на любой платформе. Существуют российские качественные аналоги, например от Яндекса.
Будьте внимательны на мобильных устройствах, так как там используются упрощённый функционал даже в официальном приложении от Microsoft, поэтому для просмотра скачивайте PDF-версию. А если нужно редактировать файл, то используйте оригинальный файл.
Файлы такого типа обычно разбиты на страницы, а текст может быть форматированным (жирный, курсив, выбор шрифта, таблицы и т.п.), а также в него можно добавлять изображения. Формат идеально подходит для рефератов, докладов и РПЗ курсовых проектов, которые необходимо распечатать. Кстати перед печатью также сохраняйте файл в PDF, так как принтер может начудить со шрифтами.














