151361 (566921)
Текст из файла
Реферат
Определение магнитной восприимчивости слабомагнитных микрочастиц
Цель работы: Научиться определять магнитную восприимчивость диа- и парамагнитных частиц с помощью изучения магнитофоретического движения.
Оборудование: Электромагнит, источники тока, микроскоп, магнитофоретическая ячейка, цифровой фотоаппарат (с возможностью съемки 30 кадров/сек.), амперметр, измеритель магнитной индукции (тесламетр).
Теоретическая часть
Макроскопический магнитный момент микрочастиц возникает под действием внешнего магнитного поля в результате ларморовской прецессии электронных орбит, а также ориентирования ненулевых магнитных моментов структурных единиц. Первая составляющая магнитного момента направлена навстречу полю (диамагнетизм), а другая вдоль поля (парамагнетизм). Магнитное состояние макроскопически однородного тела характеризуют вектором намагниченности
, численно равным магнитному моменту единицы объема. В достижимых обычными техническими средствами магнитных полях намагниченность диа- и парамагнитных веществ является линейной функцией напряженности поля:
. (1)
Магнитная восприимчивость
положительна у парамагнитных и отрицательна у диамагнитных веществ. Абсолютная величина магнитной восприимчивости диа – и парамагнетиков составляет значения порядка 10-6 (ед. СГСМ), ничтожно малые по сравнению с восприимчивостью ферромагнитных материалов (
).
Согласно электродинамике сплошных сред, на тело объемом V, обладающее магнитной восприимчивостью
и помещенное в среду с восприимчивостью
в неоднородном магнитном поле
, масштаб неоднородности которого велик по сравнению с размерами тела, действует электродинамическая сила
(
) . (2)
Поведение взвешенной в жидкости частицы под действием магнитного поля обычно изучают путем микроскопирования на фоне гравитационного оседания в узком канале. Уравнение движения частицы записывают в безинерционном приближении из условия взаимной компенсации магнитной, седиментационной и вязкой сил:
. (3)
Здесь
диаметр частицы,
вязкость жидкости,
радиус-вектор, проведенный из начала координат в центр частицы,
вектор ускорения свободного падения,
разность плотностей частицы и жидкости,
коэффициент формы частицы, равный единице для сферы.
Строго говоря, уравнение (3) справедливо для уединенной частицы, находящейся в неограниченном объеме жидкости. На практике для исключения взаимного гидродинамического влияния частиц их объемная концентрация в суспензии составляет 0.05% и менее. Существенное влияние на вязкое сопротивление движению уединенной частицы могут оказывать стенки канала. В рассматриваемой методике этот источник погрешности удается исключить.
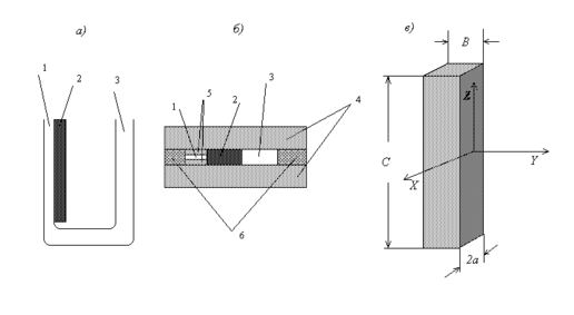
Магнитофоретическая ячейка (рис. 1а) включает U – образный вертикальный канал, измерительное плечо 1 которого примыкает к прямоугольному магнитному стержню 2. Исследуемая суспензия подается через уравновешивающее плечо 3 канала. Горизонтальное сечение ячейки изображено на рис. 1б.
1 – измерительное плечо канала, 2 – магнитный стержень, 3 - уравновешивающее плечо канала, 4 – стеклянные пластинки, 5 – вставки из покровного стекла, 6 - торцевые уплотнения.
Рис. 1
Благодаря вставкам 5 ширина измерительного канала гораздо меньше толщины магнитного стержня. Внешнее однородное магнитное поле прикладывается в горизонтальном направлении в плоскости U–образного канала. Под действием градиента напряженности магнитного поля, создаваемого ферромагнитным стержнем, на вертикальное перемещение частицы под действием силы тяжести накладывается горизонтальное перемещение по направлению к стержню для парамагнитных частиц (
) или от стержня для диамагнитных. Скорость гравитационного оседания частицы и скорость ее горизонтального магнитофоретического движения зависят от вязкого сопротивления, которое, в свою очередь, зависит от положения частицы между стенками канала. При этом, поскольку влияние стенок на коэффициент вязкого сопротивления одинаково для всех направлений движения, траектория частицы не зависит от ее расстояния до стенки канала, даже если это расстояние в процессе движения изменяется. Это обстоятельство, обоснованное далее теоретически, является основным мотивом нашего выбора именно метода траектории для восстановления магнитных свойств частицы в магнитофоретических экспериментах.
Рассчитаем магнитное поле вертикального ферромагнитного стержня прямоугольного сечения размерами 2a, B, С, причем длина стержня С намного больше двух других размеров (см. рис. 1в). Введем декартову систему координат с началом в геометрическом центре поверхности стержня, обращенной к каналу (см. рис. 1в). Стержень намагничен до насыщения однородным внешним полем
, приложенным вдоль оси Y. Выбирая область наблюдения вблизи начала координат, будем считать стержень неограниченным вдоль оси Z.
Перейдем к безразмерным переменным, используя в качестве масштаба расстояния полутолщину стержня a и масштаба собственного поля – величину
, где
намагниченность насыщения стержня. Пусть
безразмерный радиус-вектор точки, принадлежащей стержню.
Безразмерная напряженность поля, создаваемого неограниченным вдоль z стержнем в точке
определяется соотношением (
)
,
. (4)
В результате интегрирования находим для отличных от нуля компонент собственного поля соотношения
, (5)
.
Далее, учитывая однородность внешнего поля, приведем выражение для магнитной силы (2) к форме
, (6)
и введем магнитофоретический потенциал
согласно
,
. (7)
Выбирая в качестве масштаба магнитофоретического потенциала величину
, запишем безразмерный потенциал
в виде
,
. (8)
Следует отметить, что величина может быть положительной либо отрицательной в зависимости от знака В теоретическом анализе будем рассматривать в качестве эффективной восприимчивости частиц, взвешенных в немагнитной среде, и говорить о парамагнитных ( или диамагнитных () частицах. Тогда обезразмеренный принятым способом магнитофоретический потенциал относится к парамагнитным частицам, а взятый с обратным знаком – к диамагнитным. При этом парамагнитные частицы движутся в направлении минимума потенциала , а диамагнитные – в направлении максимума.
Движение частицы в плоскости x =0. Переходя к безразмерным координатам, распишем уравнение движения (2) в плоскости x = 0 по компонентам
,
. (9)
Первое уравнение в (9) описывает свободное осаждение (
) или всплытие (
) частицы со скоростью
, второе уравнение в (9) перепишем в форме
, (10)
Вводим магнитофоретический параметр
,(11)
характеризующий отношение магнитной и гравитационной сил. Согласно (10) время наблюдения и изменение положения частицы относительно поверхности магнитного стержня под действием магнитной силы связаны соотношением
,
. (12)
Зависимость (12) может быть положена в основу методики экспериментального определения магнитофоретического параметра M, для чего ее следует сопоставить с результатами измерения зависимости горизонтального положения частицы от времени. Для восстановления магнитной восприимчивости частицы по значению M необходимо знать разность плотностей частицы и жидкости и значение магнитной восприимчивости последней.
При выводе (12) предполагается, что частица находится в плоскости x = 0 и ее перемещениями поперек канала можно пренебречь. На практике строго обеспечить и проконтролировать эти условия может оказаться затруднительным. При приближении частицы к стенкам канала вязкое сопротивление ее движению будет нарастать, а скорость движения уменьшаться.
Влияние этого фактора можно исключить, положив в основу метода регистрацию траектории частицы в плоскости (y, z). Переписав уравнения движения (9) в дифференциалах, находим, что вертикальное и горизонтальное перемещения частицы связаны уравнением
, (13)
в котором вязкое сопротивление не фигурирует. Введем функцию
. При этом
и траектория частицы описывается соотношением
. (14)
Сравнение зависимости (14) с результатами экспериментального изучения траектории частицы позволяет восстановить магнитофоретический параметр M. При условии, что параметры магнитной системы
и
, а также плотности частицы
и жидкости
известны, уравнение (11) позволяет вычислить разность восприимчивостей частицы и жидкости
. Далее может быть вычислена либо восприимчивость частиц по известной восприимчивости жидкости либо наоборот. В первом случае будем говорить о прямом методе, во втором – об обратном.
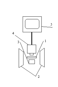
Экспериментальная установка
Рис. Вид установки
Установка (рис. 2, вид сверху) включает в себя измерительную ячейку 1, помещенную между полюсами 2 электромагнита, подсветку 3, блок микроскопирования 4 с цифровой видеокамерой, персональным компьютером 5 предназначенным для обработки результатов видеосъемки. Размеры сечения магнитного стержня составляют 0.4 4 мм. Блок микроскопирования обеспечивает возможность наблюдения в вертикальной плоскости. Объектив цифровой камеры служит окуляром блока микроскопирования. Процесс движения частицы регистрируется с частотой 30 кадров в секунду. Путем обработки последовательной серии кадров определяется изменение координат частицы во времени.
Рис. 2
Характеристики
Тип файла документ
Документы такого типа открываются такими программами, как Microsoft Office Word на компьютерах Windows, Apple Pages на компьютерах Mac, Open Office - бесплатная альтернатива на различных платформах, в том числе Linux. Наиболее простым и современным решением будут Google документы, так как открываются онлайн без скачивания прямо в браузере на любой платформе. Существуют российские качественные аналоги, например от Яндекса.
Будьте внимательны на мобильных устройствах, так как там используются упрощённый функционал даже в официальном приложении от Microsoft, поэтому для просмотра скачивайте PDF-версию. А если нужно редактировать файл, то используйте оригинальный файл.
Файлы такого типа обычно разбиты на страницы, а текст может быть форматированным (жирный, курсив, выбор шрифта, таблицы и т.п.), а также в него можно добавлять изображения. Формат идеально подходит для рефератов, докладов и РПЗ курсовых проектов, которые необходимо распечатать. Кстати перед печатью также сохраняйте файл в PDF, так как принтер может начудить со шрифтами.















