150336 (566843)
Текст из файла
Практическая работа
Тема: Изучение устройства и принцип действия контакторов постоянного и переменного тока.
Цель: Изучить устройства и принцип действия контакторов постоянного и переменного тока.
Ход работы:
Контакторы постоянного тока строятся, как правило, однополюсными, но на токи до 40 А, а в отдельных сериях на токи до 100-160 А выполняются и многополюсными с различными комбинациями главных контактов,
Главные контакты в большинстве конструкций - рычажного типа. Вращение контакта выполняется на призме (р токоподвод осуществляется гибкой связью, выполненной либо из переплетенных тонких медных проволок, либо набранной из медных шинок толщиной 0,1 мм. Характерным для контакторов постоянного тока является расположение контактов на плече, большем, чем плечо якоря магнитной системы. Зазор контактов составляет 8-20 мм. Ход магнитной системы, соответствующий этому зазору, 3 - 8 мм.
На большие токи главные контакты во многих сериях выполняются двухступенчатыми и состоят из основных и дугогасительных контактов.
Дугогасительные системы устроены на принципе гашения электрической дуги поперечным магнитным полем в дугогасительных камерах. Магнитное поле гашения в подавляющем большинстве конструкций возбуждается последовательной дугогасительной катушкой. Большее распространение получают камеры с узкими щелями и дугогасительные устройства, ограничивающие размеры дуги объемом камеры.
Конструктивная компоновка контактора должна обеспечивать: получение уравновешенной подвижной системы без дополнительных противовесов, замену катушки без разборки аппарата, хороший доступ к контактным соединениям, контактам для их обслуживания и замену контактов без отключения монтажных проводов, высокую износостойкость опор якоря.
Конструкции контакторов постоянного тока весьма разнообразны, ниже рассмотрены некоторые из них.
Контакторы серии КПВ-600 выпускаются на токи 100, 160, 250 и 630 А и напряжение до 600 В однополюсные, с замыкающим или размыкающим главным контактом. Контакторы (рис.1) имеют моноблочную конструкцию, собираются и регулируются на скобе магнитопровода. Предназначаются для тяжелых режимов работы - до 1200 включений в час. Механическая износостойкость 20 млн, циклов Контакторы серии КМ-2900 предназначены для нормальных условий работы. Они выпускаются на токи до 300 А постоянного тока и до 600 А переменного тока, одно – и многополюсные, с различными главными контактами. Магнитная система шихтованная прямоходовая, общая для контакторов постоянного и переменного тока. Контакторы обладают высокой коммутационной способностью и достаточной механической и электрической износостойкостью.
Рисунок 1. - Контактор серии КПВ - 600.
1 - магнитная система; 2 - скоба магнитопровода; 3 - контактная система; 4 - дугогасительная система.
Конструкции контакторов переменного тока для нормальных условий работы отличаются от конструкций контакторов постоянного тока. Конструкции же контакторов переменного тока для тяжелых режимов работы, изготовляемых на одном заводе, характеризуются универсальностью. Некоторые новые серии разработаны пригодными для работы как на постоянном, так и на переменном токе, что позволяет организовать производство в более широких масштабах.
Контакторы серий КТ-6000 и КТ-7000 и ряд их модификаций выполняются на базе единой серии контакторов КТ-6000 на токи 63 - 630 А и напряжения 380, 500 и 660 В с числом полюсов 1-5 (основная модификация - 3), с замыкающими и смешанными контактами. Частота включений до 1200 в час
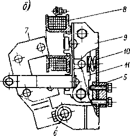
У
стройство и общая компоновка контакторов серии КТ-6000 показаны на рисунке 2.
Рисунок 2. Общая компоновка (а), магнитная (б) и контактно-дугогасительная (в) системы контакторов серии КТ-6000.
1 - подшипники; 2 - вспомогательные контакты; 3 - блоки полюсов;
4 - блок электромагнитной системы; 5 - изолированная стальная рейка; 6 - вал; 7 - якорь; 8 - втягивающая катушка; 9 - монтажная скоба;
10 - амортизирующие пружины; 11 - сердечник; 12 - изоляционная монтажная колодка; 13 - дугогасительная катушка с магнитопроводом и неподвижным контактом; 14 - дугогасительная камера; 15 - подвижный контакт; 16 - контактная пружина; 17 - контактодержатель; 18 - гибкая связь.
Конструкция контакторов блочная. Блоки собираются на металлической рейке. Такая конструкция весьма удобна при конвейерной сборке и в эксплуатации. Кинематическая схема - поворотного типа, с вращением в подшипниках. Повышение механической износостойкости получено за счет соответствующего подбора трущихся пар и исключения ударов в подшипниках. Подвижная система контактора всемерно облегчена. Якорь магнитной системы скреплен с залом жестко. Сердечник амортизирован. Повышение коммутационной износостойкости достигнуто за счет уменьшения времени дребезга контактов при включении и применения магнитного гашения, где имеет место интенсивное выдувание дуги с контактов. Применение магнитного гашения и камеры с широкой щелью вынудило, вс избежание перекрытий через дугу, удалить полюсы друг от друга. Размеры контакторов увеличились.
Характеристики
Тип файла документ
Документы такого типа открываются такими программами, как Microsoft Office Word на компьютерах Windows, Apple Pages на компьютерах Mac, Open Office - бесплатная альтернатива на различных платформах, в том числе Linux. Наиболее простым и современным решением будут Google документы, так как открываются онлайн без скачивания прямо в браузере на любой платформе. Существуют российские качественные аналоги, например от Яндекса.
Будьте внимательны на мобильных устройствах, так как там используются упрощённый функционал даже в официальном приложении от Microsoft, поэтому для просмотра скачивайте PDF-версию. А если нужно редактировать файл, то используйте оригинальный файл.
Файлы такого типа обычно разбиты на страницы, а текст может быть форматированным (жирный, курсив, выбор шрифта, таблицы и т.п.), а также в него можно добавлять изображения. Формат идеально подходит для рефератов, докладов и РПЗ курсовых проектов, которые необходимо распечатать. Кстати перед печатью также сохраняйте файл в PDF, так как принтер может начудить со шрифтами.















