48386 (566511), страница 2
Текст из файла (страница 2)
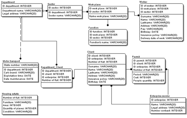
При переходе на физический уровень особого внимания заслуживают такие типы связей как “многие-ко-многим” и «супертипа с подтипами».
Стандарт EDEF1X допускает присутствие в модели обоих типов связей. Однако без их разрешения физическая база данных будет далека от оптимальной. ERwin предоставляет возможность разрешения этих связей.
Стандартным разрешением связи “многие-ко-многим” является механизм, показанный на рис. 3.
Рис. 2. Разрешение связи "многие-ко-многим"
На логическом уровне проектирования БД существовала связь «многие-ко-многим» между сущностями Отделение и Клиент. В результате перехода на физический уровень образовалась дополнительная сущность с соответствующей областью первичных ключей:
Рис.3 Переход на физический уровень
8. Скрипт для создания БД в Access:
' Starting Access Basic DAO Session...
Dim ERwinWorkspace As Workspace
Dim ERwinDatabase As Database
Dim ERwinTableDef As TableDef
Dim ERwinQueryDef As QueryDef
Dim ERwinIndex As Index
Dim ERwinField As Field
Dim ERwinRelation As Relation
Set ERwinWorkspace = DBEngine.WorkSpaces(0)
Set ERwinDatabase = ERwinWorkspace.OpenDatabase(sERwinDatabase)
' CREATE TABLE "Client"
Set ERwinTableDef = ERwinDatabase.CreateTableDef("Client")
Set ERwinField = ERwinTableDef.CreateField("ID client", DB_INTEGER)
ERwinField.Required = True
ERwinTableDef.Fields.Append ERwinField
Set ERwinField = ERwinTableDef.CreateField("ID enterprise", DB_INTEGER)
ERwinField.Required = True
ERwinTableDef.Fields.Append ERwinField
Set ERwinField = ERwinTableDef.CreateField("Number of flat", DB_INTEGER)
ERwinField.Required = True
ERwinTableDef.Fields.Append ERwinField
Set ERwinField = ERwinTableDef.CreateField("Surname", DB_TEXT, 18)
ERwinTableDef.Fields.Append ERwinField
Set ERwinField = ERwinTableDef.CreateField("Name", DB_TEXT, 18)
ERwinTableDef.Fields.Append ERwinField
Set ERwinField = ERwinTableDef.CreateField("Lastname", DB_TEXT, 18)
ERwinTableDef.Fields.Append ERwinField
Set ERwinField = ERwinTableDef.CreateField("Address", DB_TEXT, 18)
ERwinTableDef.Fields.Append ERwinField
Set ERwinField = ERwinTableDef.CreateField("Insurance policy", DB_TEXT, 18)
ERwinTableDef.Fields.Append ERwinField
Set ERwinField = ERwinTableDef.CreateField("Birthday", DB_DATETIME)
ERwinTableDef.Fields.Append ERwinField
ERwinDatabase.TableDefs.Append ERwinTableDef
' CREATE INDEX "PrimaryKey"
Set ERwinTableDef = ERwinDatabase.TableDefs("Client")
Set ERwinIndex = ERwinTableDef.CreateIndex("PrimaryKey")
Set ERwinField = ERwinIndex.CreateField("ID client")
ERwinIndex.Fields.Append ERwinField
Set ERwinField = ERwinIndex.CreateField("ID enterprise")
ERwinIndex.Fields.Append ERwinField
Set ERwinField = ERwinIndex.CreateField("Number of flat")
ERwinIndex.Fields.Append ERwinField
ERwinIndex.Primary = True
ERwinTableDef.Indexes.Append ERwinIndex
' CREATE TABLE "Department"
Set ERwinTableDef = ERwinDatabase.CreateTableDef("Department")
Set ERwinField = ERwinTableDef.CreateField("ID department", DB_INTEGER)
ERwinField.Required = True
ERwinTableDef.Fields.Append ERwinField
Set ERwinField = ERwinTableDef.CreateField("Department name", DB_TEXT, 18)
ERwinTableDef.Fields.Append ERwinField
Set ERwinField = ERwinTableDef.CreateField("Legal address", DB_TEXT, 18)
ERwinTableDef.Fields.Append ERwinField
ERwinDatabase.TableDefs.Append ERwinTableDef
' CREATE INDEX "PrimaryKey"
Set ERwinTableDef = ERwinDatabase.TableDefs("Department")
Set ERwinIndex = ERwinTableDef.CreateIndex("PrimaryKey")
Set ERwinField = ERwinIndex.CreateField("ID department")
ERwinIndex.Fields.Append ERwinField
ERwinIndex.Primary = True
ERwinTableDef.Indexes.Append ERwinIndex
' CREATE TABLE "Department_Client"
Set ERwinTableDef = ERwinDat base.CreateTableDef("Department_Client")
Set ERwinField = ERwinTableDef.CreateField("ID department", DB_INTEGER)
ERwinField.Required = True
ERwinTableDef.Fields.Append ERwinField
Set ERwinField = ERwinTableDef.CreateField("ID client", DB_INTEGER)
ERwinField.Required = True
ERwinTableDef.Fields.Append ERwinField
Set ERwinField = ERwinTableDef.CreateField("ID enterprise", DB_INTEGER)
ERwinField.Required = True
ERwinTableDef.Fields.Append ERwinField
Set ERwinField = ERwinTableDef.CreateField("Number of flat", DB_INTEGER)
ERwinField.Required = True
ERwinTableDef.Fields.Append ERwinField
ERwinDatabase.TableDefs.Append ERwinTableDef
' CREATE INDEX "PrimaryKey"
Set ERwinTableDef = ERwinDatabase.TableDefs("Department_Client")
Set ERwinIndex = ERwinTableDef.CreateIndex("PrimaryKey")
Set ERwinField = ERwinIndex.CreateField("ID department")
ERwinIndex.Fields.Append ERwinField
Set ERwinField = ERwinIndex.CreateField("ID client")
ERwinIndex.Fields.Append ERwinField
Set ERwinField = ERwinIndex.CreateField("ID enterprise")
ERwinIndex.Fields.Append ERwinField
Set ERwinField = ERwinIndex.CreateField("Number of flat")
ERwinIndex.Fields.Append ERwinField
ERwinIndex.Primary = True
ERwinTableDef.Indexes.Append ERwinIndex
' CREATE TABLE "Enterprise-sender"
Set ERwinTableDef = ERwinDatabase.CreateTableDef("Enterprise-sender")
Set ERwinField = ERwinTableDef.CreateField("ID enterprise", DB_INTEGER)
ERwinField.Required = True
ERwinTableDef.Fields.Append ERwinField
Set ERwinField = ERwinTableDef.CreateField("Name", DB_TEXT, 18)
ERwinTableDef.Fields.Append ERwinField
Set ERwinField = ERwinTableDef.CreateField("Legal address", DB_TEXT, 18)
ERwinTableDef.Fields.Append ERwinField
Set ERwinField = ERwinTableDef.CreateField("Number contract", DB_INTEGER)
ERwinTableDef.Fields.Append ERwinField
ERwinDatabase.TableDefs.Append ERwinTableDef
' CREATE INDEX "PrimaryKey"
Set ERwinTableDef = ERwinDatabase.TableDefs("Enterprise-sender")
Set ERwinIndex = ERwinTableDef.CreateIndex("PrimaryKey")
Set ERwinField = ERwinIndex.CreateField("ID enterprise")
ERwinIndex.Fields.Append ERwinField
ERwinIndex.Primary = True
ERwinTableDef.Indexes.Append ERwinIndex
' CREATE TABLE "Function"
Set ERwinTableDef = ERwinDatabase.CreateTableDef("Function")
Set ERwinField = ERwinTableDef.CreateField("ID function", DB_INTEGER)
ERwinField.Required = True
ERwinTableDef.Fields.Append ERwinField
Set ERwinField = ERwinTableDef.CreateField("ID work place", DB_INTEGER)
ERwinField.Required = True
ERwinTableDef.Fields.Append ERwinField
Set ERwinField = ERwinTableDef.CreateField("ID sector", DB_INTEGER)
ERwinField.Required = True
ERwinTableDef.Fields.Append ERwinField
Set ERwinField = ERwinTableDef.CreateField("Function's name", DB_TEXT, 18)
ERwinTableDef.Fields.Append ERwinField
ERwinDatabase.TableDefs.Append ERwinTableDef
' CREATE INDEX "PrimaryKey"
Set ERwinTableDef = ERwinDatabase.TableDefs("Function")
Set ERwinIndex = ERwinTableDef.CreateIndex("PrimaryKey")
Set ERwinField = ERwinIndex.CreateField("ID function")
ERwinIndex.Fields.Append ERwinField
Set ERwinField = ERwinIndex.CreateField("ID work place")
ERwinIndex.Fields.Append ERwinField
Set ERwinField = ERwinIndex.CreateField("ID sector")
ERwinIndex.Fields.Append ERwinField
ERwinIndex.Primary = True
ERwinTableDef.Indexes.Append ERwinIndex
' CREATE TABLE "Housing estate"
Set ERwinTableDef = ERwinDatabase.CreateTableDef("Housing estate")
Set ERwinField = ERwinTableDef.CreateField("Number of flat", DB_INTEGER)
ERwinField.Required = True
ERwinTableDef.Fields.Append ERwinField
Set ERwinField = ERwinTableDef.CreateField("Furniture", DB_TEXT, 18)
ERwinTableDef.Fields.Append ERwinField
Set ERwinField = ERwinTableDef.CreateField("Area", DB_INTEGER)
ERwinTableDef.Fields.Append ERwinField
Set ERwinField = ERwinTableDef.CreateField("Quantity of places", DB_INTEGER)
ERwinTableDef.Fields.Append ERwinField
Set ERwinField = ERwinTableDef.CreateField("Condition", DB_TEXT, 18)
ERwinTableDef.Fields.Append ERwinField
ERwinDatabase.TableDefs.Append ERwinTableDef
' CREATE INDEX "PrimaryKey"
Set ERwinTableDef = ERwinDatabase.TableDefs("Housing estate")
Set ERwinIndex = ERwinTableDef.CreateIndex("PrimaryKey")
Set ERwinField = ERwinIndex.CreateField("Number of flat")
ERwinIndex.Fields.Append ERwinField
ERwinIndex.Primary = True
ERwinTableDef.Indexes.Append ERwinIndex
' CREATE TABLE "Motor transport"
Set ERwinTableDef = ERwinDatabase.CreateTableDef("Motor transport")
Set ERwinField = ERwinTableDef.CreateField("State number", DB_TEXT, 18)
ERwinField.Required = True
ERwinTableDef.Fields.Append ERwinField
Set ERwinField = ERwinTableDef.CreateField("ID department", DB_INTEGER)
ERwinField.Required = True
ERwinTableDef.Fields.Append ERwinField
Set ERwinField = ERwinTableDef.CreateField("Car's brand", DB_TEXT, 18)
ERwinTableDef.Fields.Append ERwinField
Set ERwinField = ERwinTableDef.CreateField("Explotation time", DB_DATETIME)
ERwinTableDef.Fields.Append ERwinField
Set ERwinField = ERwinTableDef.CreateField("Date maintenance", DB_DATETIME)
ERwinTableDef.Fields.Append ERwinField
ERwinDatabase.TableDefs.Append ERwinTableDef
' CREATE INDEX "PrimaryKey"
Set ERwinTableDef = ERwinDatabase.TableDefs("Motor transport")
Set ERwinIndex = ERwinTableDef.CreateIndex("PrimaryKey")
Set ERwinField = ERwinIndex.CreateField("State number")
ERwinIndex.Fields.Append ERwinField
ERwinIndex.Primary = True
ERwinTableDef.Indexes.Append ERwinIndex
' CREATE TABLE "Permit"
Set ERwinTableDef = ERwinDatabase.CreateTableDef("Permit")
Set ERwinField = ERwinTableDef.CreateField("ID permit", DB_INTEGER)
ERwinField.Required = True
ERwinTableDef.Fields.Append ERwinField
Set ERwinField = ERwinTableDef.CreateField("ID client", DB_INTEGER)
ERwinField.Required = True
ERwinTableDef.Fields.Append ERwinField
Set ERwinField = ERwinTableDef.CreateField("ID enterprise", DB_INTEGER)
ERwinField.Required = True
ERwinTableDef.Fields.Append ERwinField
Set ERwinField = ERwinTableDef.CreateField("Number of flat", DB_INTEGER)
ERwinField.Required = True
ERwinTableDef.Fields.Append ERwinField
Set ERwinField = ERwinTableDef.CreateField("Period", DB_TEXT, 18)
ERwinTableDef.Fields.Append ERwinField
Set ERwinField = ERwinTableDef.CreateField("Cost", DB_INTEGER)
ERwinTableDef.Fields.Append ERwinField
Set ERwinField = ERwinTableDef.CreateField("People quantity", DB_INTEGER)
ERwinTableDef.Fields.Append ERwinField
ERwinDatabase.TableDefs.Append ERwinTableDef
' CREATE INDEX "PrimaryKey"
Set ERwinTableDef = ERwinDatabase.TableDefs("Permit")
Set ERwinIndex = ERwinTableDef.CreateIndex("PrimaryKey")
Set ERwinField = ERwinIndex.CreateField("ID permit")
ERwinIndex.Fields.Append ERwinField
Set ERwinField = ERwinIndex.CreateField("ID client")
ERwinIndex.Fields.Append ERwinField
Set ERwinField = ERwinIndex.CreateField("ID enterprise")
ERwinIndex.Fields.Append ERwinField
Set ERwinField = ERwinIndex.CreateField("Number of flat")
ERwinIndex.Fields.Append ERwinField















