166259 (566414)
Текст из файла
ЛАБОРАТОРНАЯ РАБОТА № 1
Опыт 1. Получение метана и опыты с ним
Оборудование и реактивы: Круглодонная пробирка, спиртовка, штатив, лапка штатива, пробка с газоотводной стеклянной и резиновой трубкой, трубка с оттянутым концом, две U-образные трубки, спички, фарфоровая ступка с пестиком, ацетат натрия, раствор брома в воде, оксид кальция, гидроксид натрия, раствор перманганата калия, активированный уголь, электроплитка, стеклянная палочка.
Ход работы: Ацетат натрия до опыта обезвоживают. Соль CH3COONa .3H2O помещают в фарфоровую чашечку, нагревают, помешивая стеклянной палочкой. Ацетат натрия вначале растворяется в кристаллизационной воде, затем, после испарения воды, выделяется в твердом виде. После того как затвердевшая соль снова расплавится, ей дают остыть в эксикаторе и измельчают в ступке пестиком.
Оксид кальция перед использованием прокалить, охладить в эксикаторе и измельчить.
К едкому натру, предварительно измельченному в фарфоровой ступке, добавляют оксид кальция, в соотношении 2:1 по объему порошков. Полученную смесь называют натронной известью. Оксид кальция необходим для устранения гигроскопичности едкого натра.
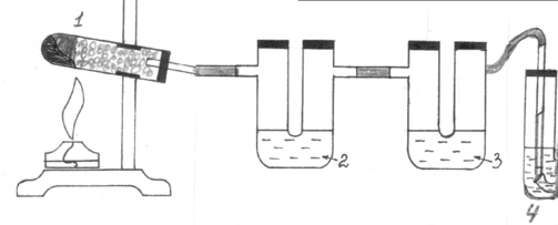
Реакционную круглодонную пробирку на 3/4 наполняют смесью ацетата натрия с натронной известью в соотношении объемов порошков 1:3 или 1:2. Смесь тщательно перемешивается в фарфоровой ступке. Собирают прибор согласно рис. 1.
Рис. 1. Получение метана и опыты с ним.
Реакционную пробирку подсоединяют к системе из двух U-образных трубок. Правое колено второй трубки закрывают пробкой со стеклянной трубкой, имеющей оттянутый конец. Трубку заполняют активированным углем. В одну U-образную трубку наливают слабый раствор перманганата калия, в другую - бромную воду. Пробирку-реактор прогревают. Избегают чрезмерного перегрева, что приводит к побочным реакциям и получению нежелательных продуктов - ацетона, непредельных углеводородов, углекислого газа и т. д. Для улавливания этих веществ используют стеклянную трубку с активированным углем, которую подсоединяют к газоотводной трубке перед входом газов в первую U-образную трубку.
Метан, полученный в ходе реакции, проходит через растворы KMnO4 и Br2, обесцвечивания растворов не наблюдается (установка герметична, если пробулькивание газов происходит синхронно в обоих растворах). По окончании опыта подносят пламя спички или лучины к отверстию трубки с оттянутым концом. Наблюдают горение метана. Записать уравнения химических реакций.
Техника безопасности: Поджигать метан после установления устойчивого синхронного пробулькивания газа в растворах, но не в первые минуты прохождения метана. Соблюдать правила нагревания, не держать спиртовку руками.
Утилизация. Раствор KMnO4 и бромную воду использовать повторно. Продукт реакции - карбонат натрия с примесью ацетата натрия и натронной извести перенести полностью в емкость-нейтрализатор. U-образные трубки мыть под вытяжкой слабым щелочным раствором гидроксида кальция.
Опыт 2. Получение этилена и опыты с ним.
Оборудование и реактивы: Реакционная пробирка, газоотводная трубка, две U-образные трубки, стеклянная трубка с активированным углем (с оттянутым концом), спиртовка, штативы с лапками, кипятильники, хлоркальциевая трубка, этиловый спирт, серная концентрированная кислота, бромная вода, раствор перманганата калия, активированный уголь.
Ход работы: В сухую пробирку-реактор (рис. 2.) наливают заранее приготовленную и охлажденную смесь (6 мл) одной части спирта с тремя частями серной концентрированной кислоты. В пробирку помещают несколько кипятильников для равномерного кипения реакционной смеси. Пробирку закрепляют в штативе. Подсоединить пробирку-реактор к U-образным трубкам, используя резиновые шланги (см. рис. установки), в которых находятся раствор KMnO4 и бромная вода. Правое колено второй U-образной трубки закрывают пробкой со вставленной стеклянной трубкой, имеющей оттянутый конец. Трубка заполняется предварительно активированным углем.
Так как в процессе нагревания спирта и серной кислоты кроме этилена получаются другие вещества (SO2, диэтиловый эфир, CO2 и др.), некоторые из которых также могут обесцвечивать раствор KMnO4 и бромную воду, то на пути газовой смеси из пробирки-реактора перед первой U-образной трубкой, следует
Рис. 2. Получение этилена и опыты с ним.
поместить хлоркальциевую трубку с активированным углем.
Пробирку-реактор нагреть до равномерного кипения. Наблюдать равномерное синхронное пробулькивание воздуха, а затем этилена через раствор KMnO4 и бромную воду. Окраска растворов постепенно исчезает. После полного обесцвечивания растворов поднести пламя спички или горящей лучины к трубке с оттянутым концом и поджечь этилен. Написать уравнения реакций, объяснить наблюдаемые явления.
Техника безопасности. Поджигать этилен после полного обесцвечивания раствора KMnO4 и бромной воды. Прибор должен быть герметичным, что определяется синхронным пробулькиванием газа через растворы KMnO4 и бромной воды.
Утилизация. Вследствие окисления спирта в пробирке-реакторе остается обуглившаяся смесь неопределенного состава, которую полностью переносят в емкость-нейтрализатор. В раствор, оставшийся после обесцвечивания перманганата калия, добавить немного крепкого подкисленного H2SO4 раствора KMnO4 и прокипятить. Все имеющиеся органические соединения окисляются до углекислого газа и воды:
Cх Hу Oz + KMnO4 + H2SO4 → MnSO4 + K2SO4 + CO2 + H2O.
Раствор KMnO4 использовать многократно. Утилизацию полученного MnSO4 (после отработки раствора) см.: VIII кл., тема "Галогены". В раствор, оставшийся после обесцвечивания бромной воды, добавить небольшую порцию железного порошка и несколько капель соляной кислоты средней концентрации:
Fe + HCI = FeCI2 + 2H.
Через некоторое время бромпроизводные восстановятся атомарным водородом до углеводородов и бромид-ионов, к примеру, по схеме:
C2H4Br2 + 2H = C2H6 + 2HBr (FeBr2).
Далее добавить несколько капель хлорной воды:
2FeBr2 + 3CI2 = 2FeCI3 + 2Br2.
Полученный раствор имеет желтовато-бурый цвет бромной воды, который можно использовать для определения непредельных углеводородов и демонстрации окислительных свойств брома. Далее фильтрованием отделяют железный порошок, который промывают, сушат и используют вновь.
ЛАБОРАТОРНАЯ РАБОТА № 2
Опыт 1. Получение этилена дегидратацией этанола над оксидом алюминия
Описанный выше опыт получения этилена дегидратацией этанола в присутствии H2SO4 (конц) приводит к образованию большого количества оксида серы (IV) и множества других токсичных соединений, опасных для окружающей среды. Оксид серы (IV) очень быстро обесцвечивает раствор KMnO4 и бромную воду, что делает некорректным описанный опыт в целях учебной демонстрации: C2H5OH + 2H2SO4 = 2C+2SO2 + 5H2O, далее:
C + 2H2SO4 = CO2 + 2SO2 + 2H2O (при нагревании)
5SO2+2KMnO4+2H2O = K2SO4+2MnSO4+2H2SO4
SO2+Br2+2H2O = H2SO4+2HBr
Более простой и экологически чистый вариант получения этилена основан на пропускании паров спирта над нагретым твердым катализатором из оксида алюминия.
Оборудование и реактивы: Демонстрационная круглодонная пробирка, стеклянные и резиновые газоотводные трубки, две U-образные трубки, пробирки, стеклянная трубка с оттянутым концом, штатив, лапка штатива, спиртовка, лучинка, этанол, промытый и прокаленный песок, катализатор из глины в смеси с оксидом аллюминия, вода дистиллированная.
Ход работы: Готовят катализатор. Для этого накануне занятия смешивают глину с оксидом алюминия в соотношении 2:1, смачивают водой, хорошо перемешивают и выкатывают из них горошины, которые сушат на воздухе.
В демонстрационную пробирку (1) насыпают сухой песок (3-4 см. высотой) и пропитывают его спиртом. Поверх песка помещают катализатор почти до краев пробирки. Пробирку-реактор закрепляют в лапке штатива с небольшим наклоном (дно выше отверстия) и соединяют с двумя U-образными трубками (рис.3). Тщательно прогревают катализатор, затем другой спиртовкой нагревают песок, смоченный спиртом так, чтобы постоянно в емкости имелись пары спирта (не перегревать!). В данных условиях кроме этилена может получаться и бутадиен, который ставит под сомнение корректность опыта. Для поглощения бутадиена в первую U-образную трубку (2) наливают этанол. Растворимость бутадиена в спирте 15 мл на 100 мл растворителя. Весь бутадиен остается в спирте, так как газовая смесь, выходящая из первой U-образной трубки, не дает розовой окраски с раствором качественного реактива на бутадиен - хинона.
Рис. 3. Получение этилена дегидратацией этанола над твердым катализатором.
Другая U-образная трубка (3) заполняется спиртом или водой для получения раствора этилена. Растворимость этилена в воде и спирте 25,6 и 360 мл на 100 мл растворителя соответственно. Таким образом, можно получить раствор этилена в воде и спирте, которые используют для определения непредельных органических веществ.
Отросток последней U-образной трубки соединяют с газоотводной трубкой, которую помещают в пробирку (4) вначале с бромной водой, а затем с раствором перманганата калия. Наблюдают обесцвечивание растворов. Перед окончанием опыта к газоотводной трубке присоединяют стеклянную трубку с оттянутым концом. Поджигают этилен пламенем лучинки. Наблюдают горение этилена светящимся пламенем. Написать уравнения реакций.
Техника безопасности. 1. Демонстрационная пробирка-реактор прогревается равномерно во избежание растрескивания и возгорания газообразных веществ, образующихся в пробирке. 2. Подставить противень с песком под нагреваемую пробирку. 3. Установка должна быть герметичной.
Утилизация. Раствор бутадиена и этилена в спирте использовать в спиртовках, а также для демонстрации их непредельного характера Обесцвеченный раствор KMnO4 и бромную воду утилизировать согласно прописям в предыдущем опыте.
Опыт 2. Получение ацетилена и опыты с ним
Оборудование и реактивы: Демонстрационная пробирка Вюрца, газоотводные стеклянные и резиновые трубки, две U-образные трубки, трубка с оттянутым концом, заполненная активированным углем, штативы, лапки штатива, шприц, игла шприца, резиновые пробки, пинцет, лучинка, спички, карбид кальция, насыщенный раствор хлорида натрия, раствор KMnO4, бромная вода.
Ход работы: Осторожно поместить в пробирку Вюрца (4) несколько кусочков карбида кальция. Отверстие пробирки закрывают пробкой (5). Далее соединяют пробирку-реактор с U-образными трубками согласно рис. 4.
Работу выполняют на демонстрационном столе, так как побочные продукты реакции технического карбида кальция с водой полностью поглощаются адсорбентом – активированным углем. Важно обеспечить герметичность установки, что достигается плотным прилеганием пробок и резиновых трубок к стеклянным пробиркам и стеклянным трубкам.
Рис. 4. Получение ацетилена и опыты с ним.
Правое колено второй U-образной трубки закрывают пробкой со стеклянной трубкой, заполненной активированным углем. В U-образные трубки наливают разбавленный раствор KMnO4 и бромную воду. Длинной иглой шприца прокалывают резиновый шланг, соединяющий реактор с первой U-образной трубкой, и медленно вводят насыщенный раствор хлорида натрия в пробирку-реактор с карбидом кальция, регулируя количеством прилитого раствора интенсивность выделения ацетилена.
Наблюдают обесцвечивание растворов KMnO4 и бромной воды. После обесцвечивания растворов подносят пламя лучинки к трубке с активированным углем, наблюдают коптящее пламя горящего ацетилена. Написать уравнения химических процессов и объяснить наблюдаемые явления.
Техника безопасности. Не брать руками кусочки карбида кальция. Добавлять водный раствор хлорида натрия к карбиду кальция малыми порциями. Израсходовать весь карбид кальция. Проверить герметичность установки: должно быть синхронное пробулькивание пузырьков газа через оба раствора в U-образных трубках.
Утилизация. В пробирку-реактор заливаем из шприца крепкий раствор KMnO4 и перемешиваем содержимое. Ацетилен и другие продукты гидролиза (H2S, PH3 и др.) окисляются, воздух остается чистым. Через некоторое время пробирку открываем, полученную суспензию сложного состава сливаем в емкость-нейтрализатор со щелочным раствором.
Утилизацию обесцвеченного раствора KMnO4 и бромной воды проводить согласно прописям в опыте № 2.
Характеристики
Тип файла документ
Документы такого типа открываются такими программами, как Microsoft Office Word на компьютерах Windows, Apple Pages на компьютерах Mac, Open Office - бесплатная альтернатива на различных платформах, в том числе Linux. Наиболее простым и современным решением будут Google документы, так как открываются онлайн без скачивания прямо в браузере на любой платформе. Существуют российские качественные аналоги, например от Яндекса.
Будьте внимательны на мобильных устройствах, так как там используются упрощённый функционал даже в официальном приложении от Microsoft, поэтому для просмотра скачивайте PDF-версию. А если нужно редактировать файл, то используйте оригинальный файл.
Файлы такого типа обычно разбиты на страницы, а текст может быть форматированным (жирный, курсив, выбор шрифта, таблицы и т.п.), а также в него можно добавлять изображения. Формат идеально подходит для рефератов, докладов и РПЗ курсовых проектов, которые необходимо распечатать. Кстати перед печатью также сохраняйте файл в PDF, так как принтер может начудить со шрифтами.















