147238 (566337)
Текст из файла
Цель работы: получение практических навыков построения внешней скоростные характеристики двигателя и оценки потерь в трансмиссии автомобиля.
1. Краткие теоретические сведения
Исходными для определения сил, обеспечивающих движение автомобиля, являются скоростные характеристики двигателя. При изучении тягово-скоростных свойств автомобиля главным образом определяются показатели, соответствующие работе двигателя с полной подачей топлива, т. е. по внешней скоростной характеристике. Скоростные характеристики получают стендовыми испытаниями по стандартным методикам. В настоящее время на автомобилях используются почти исключительно поршневые двигатели внутреннего сгорания.
Для анализа тягово-скоростных свойств автомобиля с использованием стандартной внешней скоростной характеристики двигателя необходимо принять во внимание то, что при эксплуатации часть мощности двигателя затрачивается на неучтенные при снятии стендовой внешней характеристики потребители и условия, в которых работает двигатель, отличаются от стандартных. С этой целью вводится коэффициент коррекции кр. В табл. 1.1 приведены средние значения коэффициента кр при пользовании внешних характеристик, полученных по различным стандартам.
Таблица 1.1
Комплектация и стандартные условия стендовых испытаний двигателей
| Стандарт (страна) | Элементы и агрегаты, отключаемые при измерении параметров внешней скоростной характеристики двигателя | Давление, кПа | Температура, °С | Коэффициент коррекции, kp |
| ГОСТ 14846-81 | Нетто: приборы, обслуживающие шасси и кузов Брутто: вентилятор и приборы, обслуживающие шасси | 100 | 25 | 0,95..Д96 0,93...0,95 |
| DIN (ФРГ) | Радиатор, приборы, обслуживающие шасси и кузов | 100 | 20 | 0,95...0,96 |
| SAE старый (США) | Воздухоочиститель, глушитель, генератор, вентилятор, радиатор, приборы, обслуживающие шасси и кузов | 99,2 | 29,4 | 0,86...0,88 |
| SAE новый (США) | Радиатор, приборы, обслуживающие шасси и кузов | 99,2 | 29,4 | 0,95...0,96 |
| IS (Япония) | Глушитель, радиатор, приборы, обслуживающие шасси и кузов | 100 | 15 | 0,95...0,96 |
Для оценки тягово-скоростных свойств автомобиля большое значение имеет характер кривой Мk = f(n), имеющей максимум при частотах nmin < ni < nN.
Увеличение нагрузки на двигатель, работающий в диапазоне частот пм nM < ni < nN при неизменном положении органа управления подачей топлива, вызовет падение частоты вращения коленчатого вала. Однако при этом крутящий момент М/с* развиваемый двигателем возрастет и двигатель сможет автоматически приспособиться к изменению нагрузки, т. е. будет работать устойчиво. В случае же работы двигателя в диапазоне частот nM < ni < nN пм при падении частоты вращения коленчатого вала вызванной увеличением нагрузки, крутящий момент Мк также снизится, двигатель не сможет преодолеть возросшую нагрузку и будет работать неустойчиво.
Пределы изменения нагрузки на двигатель, соответствующей его устойчивой работе, оценивают запасом крутящего момента М3:
, (1.1)
где МКmах - максимальный крутящий момент, Н*м;
МKN - крутящий момент на режиме максимальной мощности, Н*м.
Крутящий момент на режиме максимальной мощности определяется по формуле:
, (1.2)
где Nemax - максимальная мощность двигателя, кВт;
nN - частота вращения коленчатого вала двигателя на режиме максимальной мощности, мин-1.
Отношение
называется коэффициентом приспосабливаемости по моменту.
Для расчета показателей тягово-скоростных свойств, особенно применением ЭВМ, удобно пользоваться не графическими, а аналитическими зависимостями Ne = f(n) и Мк = f(n).
Зависимость Ne = f(n) аппроксимируется формулой кубического трехчлена:
, (1.3)
где Ne, n - текущие значения мощности и частот вращения коленчатого вала двигателя;
а, b, с - коэффициенты, постоянные для данного двигателя.
Пользуясь формулами (1.2) и (1.3) найдем:
, (1.4)
где Мк - текущее значение крутящего момента, Н*м.
Коэффициенты а, b и с можно определить следующим образом:
- для двигателей, снабженных ограничителем максимальной частоты вращения коленчатого:
, (1.5)
где
- коэффициент приспосабливаемости по частоте.
Коэффициент приспосабливаемости по частоте определяется:
, (1.6)
Правильность расчета коэффициентов проверяется по условию
а + Ь—с = 1.
- для двигателей, не имеющих ограничители максимальной частоты вращения коленчатого вала:
; (1.7)
Правильность расчета коэффициентов проверяется по условию а + 2b-Зс = 0.
Определение потерь в трансмиссии автомобиля
Оцениваются потери мощностью потерь на трение Nтр и КПД трансмиссии ηТ.
Мощность Nтр можно представить в виде трех слагаемых, пропорциональных:
- Ne характеризует потери на трение в зубчатых зацеплениях и в подшипниках трансмиссии;
- V характеризует трение в сальниках, трение в подшипниках, имеющих предварительный натяг;
- V2 характеризует гидравлические потери, связанные с вращением зубчатых колес механизмов трансмиссии в масле, залитом в их картере.
Суммарная мощность, теряемая в трансмиссии:
, (1.8)
где ат и bт - коэффициенты, зависящие от числа механизмов в трансмиссии, их конструкции, включенной передачи, массы автомобиля, температуры масла в механизмах трансмиссии и др;
к и l - число соответственно цилиндрических и конических или гипоидных зубчатых пар, через которые на данной передаче последовательно передается мощность;
m - число карданных шарниров, через которые последовательно передается мощность.
КПД трансмиссий можно определить:
, (1.9)
2. Расчетная часть
За объект расчёта принимается двигатель модели ЗИЛ-508.10 (бензиновый), устанавливаемый на автомобиле ЗИЛ 431410.
Исходные данные, необходимые для выполнения расчетной части приведены в табл. 1.2.
Таблица 1.2
Исходные данные
| Параметр | Обозначение | Значение |
| Модель двигателя | - | ЗИЛ-508.10 |
| Максимальная мощность, кВт | Neтах | 110 |
| Частота вращения коленчатого вала при максимальной мощности, мин | nN | 3200 |
| Максимальный крутящий момент, Нм | MKN | 402 |
| Частота вращения коленчатого вала при максимальном крутящем моменте, мин' | nM | 1800 |
| Наличие ограничителя | - | Да |
1. Определение MKN, М3, kω
Крутящий момент на режиме максимальной мощности можно определить по формуле (1.2):
Запас крутящего момента определяется по формуле (1.1):
Для определения коэффициента приспособляемости по частоте используется формула (1.6):
2. Определение коэффициентов а,b,с
Для двигателей с ограничителем коэффициенты а, Ь, с определяются по формуле (1.5):
Проверка правильности расчета коэффициентов: а + b - с = 0,852+1,32 – 1,171 = 1,001 - условие выполняется.
3. Расчет текущих значений мощности и крутящего момента. Примем nmin =1000 мин-1, а nN = 3200 мин-1, nМmax = 1800 мин-1. По формулам (1.3), (1.4) определим мощность и крутящий момент, развиваемые двигателем при частоте вращения коленчатого вала:
Аналогично рассчитываются мощность и крутящий момент при других частотах вращения коленчатого вала, результаты вычислений представлены в табл. 1.3.
Таблица 1.3.
Результаты расчета параметров внешней скоростной характеристики двигателя ЗИЛ 645
| № п/п | n, мин-1 | Ne, КВт | Mk, H*м |
| 1 | 1000 | 39.5 | 377.24 |
| 2 | 1245 | 50.81 | 389.77 |
| 3 | 1490 | 62.06 | 397.79 |
| 4 | 1735 | 72.9 | 401.3 |
| 5 | 1980 | 83 | 400.31 |
| 6 | 2225 | 91.98 | 394.81 |
| 7 | 2470 | 99.52 | 384.81 |
| 8 | 2715 | 105.27 | 370.3 |
| 9 | 2960 | 108.88 | 351.28 |
| 10 | 3200 | 110 | 328.28 |
По данным табл. 1.3 строится внешняя скоростная характеристика двигателя ЗИЛ 645 (рис. 1.1).
4. Определение КПД трансмиссии автомобиля на различных режимах работы
При работе двигателя на режиме полной мощности второй член выражения (1.9) уменьшается и им можно пренебречь.
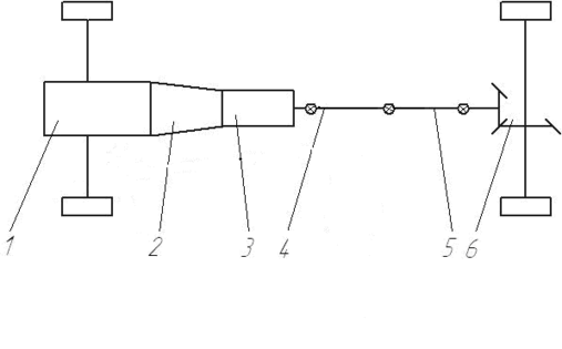
Для определения коэффициентов k, l, m и оценки потерь в трансмиссии используют структурную схему, представленную на рис. 1.2.
Рис. 1.1 Внешняя скоростная характеристика двигателя ЗИЛ-431410
1-зависимость
, 2-зависимость
Рис. 1.2 Структурная схема трансмиссии автомобиля ЗИЛ-431410:
Характеристики
Тип файла документ
Документы такого типа открываются такими программами, как Microsoft Office Word на компьютерах Windows, Apple Pages на компьютерах Mac, Open Office - бесплатная альтернатива на различных платформах, в том числе Linux. Наиболее простым и современным решением будут Google документы, так как открываются онлайн без скачивания прямо в браузере на любой платформе. Существуют российские качественные аналоги, например от Яндекса.
Будьте внимательны на мобильных устройствах, так как там используются упрощённый функционал даже в официальном приложении от Microsoft, поэтому для просмотра скачивайте PDF-версию. А если нужно редактировать файл, то используйте оригинальный файл.
Файлы такого типа обычно разбиты на страницы, а текст может быть форматированным (жирный, курсив, выбор шрифта, таблицы и т.п.), а также в него можно добавлять изображения. Формат идеально подходит для рефератов, докладов и РПЗ курсовых проектов, которые необходимо распечатать. Кстати перед печатью также сохраняйте файл в PDF, так как принтер может начудить со шрифтами.
















