Исправленный МОЙ (561166), страница 3
Текст из файла (страница 3)
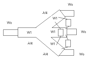
Коэффициент связи, на рабочей длине волны, равен С41 = -3дБ. Данной длине волны соответствует стандартный прямоугольный волновод с поперечным сечение 22,86 х 10,16 мм. Толщина стенки волноводно-щелевого делителя мощности t = 1,02. Тогда поперечный размер отверстия связи а = 45,72 мм, а электрический размер а/λ0 = 1,385. По графику определяем электрическую длину отверстия связи волноводно-щелевого делителя мощности l/λ0 = 1.3, и, следовательно, длину l = 43 мм.
При выполнении условия
а/1.5λ0 < λ/λ0 < a/λ0
0.924 < λ/λ0 < 1.385
находим элементы матрицы рассеяния на рабочей длине волны:
S31 = 0.7*exp(i*80º)
S41 = 0.68*exp(i*345º)
S11 = S21 = 0.104*exp(i*300º)
Отсюда находим характеристики волноводно-щелевого делителя мощности:
1) Коэффициент связи – это отношение мощности Pi, прошедшей в плечо i, к мощности Pj, поданной на вход j при подключении согласованных нагрузок к остальным плечам:
C41 = 10*lg|S41|² = -3.35 дБ
2) Фаза коэффициента связи:
Ф41 = arg|S41| = 345º
3) Неравномерность деления мощности определяется отклонением реального коэффициента связи от заданного:
L41 = |C410 – 10*lg|S41|²| = 0.35 дБ
4) Коэффициент отражения на входе представляет собой модуль соответствующего диагонального элемента МР:
Г1 = |S11| = 0.104
5) Коэффициент стоячей волны:
Кстu1 = (1+|S11|) / (1-|S11|) = 1.232
6) Развязка между k-м и J-м плечами:
R21 = 10*lg(1 / |S21|²) = 19.659 дБ
7) Направленность между i-м и k-м плечами ДМ – это отношение мощности на выходе рабочего i-го плеча к мощности, прошедшей в развязанное плечо k из-за неидеальности ДМ при возбуждении j-го плеча и наличии согласованных нагрузок на всех остальных входах
B42 = 10*lg(|S41| / |S21|)² = 16.561 дБ
Расчет отражательного фазовращателя
Фазовращатели СВЧ предназначены для изменения фазы отраженной или проходящей волны на требуемую величину. Разнообразные конструкции таких устройств широко используются в трактах СВЧ, особенно в трактах ФАР. Различают отражательные и проходные фазовращатели СВЧ. Отражательные фазовращатели отображаются на эквивалентной схеме как двухполюсники, а проходные – как четырёхполюсники. Существуют фазовращатели механические, электрические и электромеханические. Различают также фазовращатели с плавным или дискретным изменениями фазы.
Простейший отражательный механический фазовращатель представляет собой отрезок линии передачи с короткозамыкающим поршнем. Такое устройство характеризуется матрицей рассеивания, вырождающейся в одно число – коэффициент отражения от входа фазовращателя. При изменении положения поршня в линии изменяется и фаза коэффициента отражения. Дискретный отражательный фазовращатель строится на основе полупроводниковых выключателей. Волноводный вариант такого фазовращателя показан на рисунке ниже:
1 - прямоугольный волновод
2 - n-i-p-i-n - диод
3 - диафрагма
Продольная постоянная распространения волны H10 в волноводе:
KzH10=3.325
Возьмём дискрету изменения фазы Δφ:
При такой дискрэте фазы для поворота фазы на 3600 необходимо сделать семь диафрагм (0, 45, 90, 135, 180, 225, 270, 315).
Расстояние между диафрагмами определяется по формуле:
Нагрузки СВЧ на эквивалентной схеме представляются в виде двухполюсника, который характеризуется величиной коэффициента отражения Г. Матрица рассеивания нагрузки вырождается в число S11=Г. В трактах СВЧ находят применение согласованные и реактивные нагрузки.
Идеальная согласованная нагрузка имеет Г=0. На практике используются нагрузки с
в полосе частот 20%. Требования в фазе отражённой волны не предъявляются. По величине допустимой поглощаемой мощности различают нагрузки на низкий (≤ 1Вт.) и высокий уровни мощности.
Качество нагрузки существенно зависит от длины l и профиля нагрузки. Для клиновидных нагрузок l берётся порядка λ
Согласованные нагрузки используются а измерительной аппаратуре СВЧ-диапазона, в качестве антенны при настройке её тракта СВЧ, в промышленных установках СВЧ-нагрева различных влагосодержащих материалов.
Расчет коаксиального волновода
Для соединения делителя мощности и фазовращателей будем использовать коаксиальный волновод.
При выборе коаксиального волновода необходимо учесть 2 условия:
p*(r1+r2) Что бы не возникало опасности электрического пробоя через волновод не должен проходить сигнал мощностью больше допустимой, максимальная мощность будет подводиться к центральному излучателю Po=126.6 Вт Pdop=Pmax/3 Максимальное напряжение при котором наступает пробой в воздухе. кВ/см МВт Рассчитаем волновое сопротивление коаксиала: проницаемость диэлектрика Ом МВт
Расчёт коаксиально-волноводного перехода.
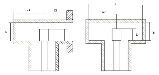
Полосковый делитель мощности имеет коаксиальный выход, а ферритовый фазовращатель имеет вход для прямоугольного волновода. Для того чтобы соединить делитель мощности и фазовращатель необходимо расчитать коаксиально волноводный переход.
Штырь, являющийся продолжением внутреннего провода коаксиала, располагают посредине широкой стенки волновода
середина стенки волновода
Расстояние до короткозамыкающей стенки Z1 берут равным четверти длины волны:
см
Для хорошего согласования высоту штыря L берут равной /4:
см
В переходе помимо основной волны может возникнуть высшая (в данном случае H30), поэтому для уменьшения её амплитуды в N раз расстояние Z2 выбирают следующим образом
см
Электрическая прочность излучателя.
Для того что бы не возникло проблем излучатель должен пропускать мощность больше проходящей через него, максимальная мощность будет проходить через центральных два излучателя P1,-1=77.6 Вт.
Расчёт полоскового делителя мощности
Равномерное деление.
Ом
Ом
9. Соединение волноводов.
Для соединения волноводов используется дроссельно-фланцевое соединение. Оно обеспечивает надежный контакт между соединяемыми волноводами электрическим путём. Такое соединение отличается наличием канавки во фланце, глубиной d и шириной y, и радиальной проточки с размером l и шириной z. Канавка представляет собой короткозамкнутый коаксиал, в котором возбуждается волна H11, а радиальная проточка – участок так называемого радиального волновода. Чтобы входное сопротивление на рабочей частоте равнялось нулю, необходимо взять глубину канавки d=λH11\4, а размер проточки l=λ0\4.
Диапазонность дроссельного соединения увеличивается, если y>z. Обычно y=(2….5)z. Дроссельно-фланцевые соединения обеспечивают
в полосе частот 20%.
10. Нагрузки СВЧ.
- волноводная клиновидная нагрузка.
11. Список литературы.
Д.И. Воскресенский, В.Л. Гостюхин, В.М. Максимов, Л.И. Пономарёв
«Антенны и устройства СВЧ» 1999г.
Д.И. Воскресенский
«Проектирование фазированных антенных решёток» 2003г.
В.М. Максимов
«Линии передачи СВЧ-диапазона». 2002г.
В.М. Максимов
«Устройства СВЧ: основы теории и элементы тракта». 2002г.
Справочник по волноводам.
21















