ВСН 197-91 (558407), страница 2
Текст из файла (страница 2)
Толщину бетонных покрытий h определяют расчетом. При использовании для покрытия бетонов, указанных в обязательном приложении 1, классов для нормативной нагрузки 50 кН на колесо минимальную толщину покрытия принимают по табл. 1.
Таблица 1
| Основание | Минимальная толщина, см, покрытия при интенсивности движения расчетной нагрузки, ед/сут, на полосу | ||||
| более 2000 | 1000-2000 | 500—1000 | 100—500 | менее 100** | |
| Бетонное (мелкозернистый бетон, шлакобетон) | 22 | 20 | 18(16) | 18*(16) | 15* |
| Из материалов, укрепленных органическими вяжущими | 22 | 20 | 18(16) | 18*(16) | 15* |
| Из щебня, гравия, шлака | — | 22 | 20(18) | 18*(16) | 16* |
| Из песка, песчано-гравийной смеси | — | — | 20(18) | 18(16) | 16 |
* Толщина основания в этих случаях может быть на 2 см меньше указанной в п. 2.3.
** Сооружаются при соответствующем технико-экономическом обосновании.
Примечания. 1. В скобках приведена толщина покрытия для облегченного типа дорожной одежды.
2. Если в поперечных швах штыри не применяются, толщину покрытия увеличивают на 2 см.
2.7. В покрытии устраивают продольные и поперечные швы (сжатия и расширения), делящие покрытие на плиты определенной длины и ширины. В конце рабочей смены или при длительных перерывах в бетонировании (более 2 — 4 ч) устраивают рабочие швы по типу швов сжатия и при необходимости швы расширения. Для предохранения покрытия от трещинообразования в раннем возрасте часть швов сжатия устраивают как контрольные и в первую очередь в свежеуложенном бетоне.
В швах предусматривают штыревые соединения. Пазы швов заполняют герметизирующим материалом.
Длину плит lсж (расстояние между поперечными швами сжатия) на укрепленном основании и на устойчивом земляном полотне принимают по расчету, но не более 25 h, на земляном полотне с ожидаемыми неравномерными осадками (включая насыпи высотой более 3 м) — 22 h, а в местах перехода из выемок в высокие насыпи, в местах примыкания к искусственным сооружениям и в покрытиях шириной 6 м и менее — 20 h.
2.8. Продольные швы предусматривают при ширине покрытия более 23 h.
Контрольные швы, по конструкции аналогичные швам сжатия, обеспечивающие температурно-усадочную трещиностойкость в раннем возрасте, устраивают через каждые 2 — 3 плиты.
2.9. При устройстве швов расширения руководствуются данными табл. 2. Ширину швов расширения (толщину прокладки) принимают равной 3 см.
Таблица 2
| Ожидаемая температура нагрева покрытия | Толщина покрытия, см | Расстояние между швами расширения, число плит, при температуре воздуха во время бетонирования, °С | ||||
| в летнее время, °С | менее 5 | 5-10 | 10-15 | 15-20 | более 20 | |
| Менее 40 | 20—24 | 9 | 9 | ¾* | ¾ | ¾ |
| Менее 20 | 9 | 9 | 9 | ¾* | — | |
| Более 40 | 20—24 | 9 | 9 | 9 | ¾* | ¾ |
| Менее 20 | 9 | 9 | 9 | 9 | — | |
* См. п. 2.11.
Примечание. При устройстве контрольных швов через две плиты швы расширения устраивают через 10 плит.
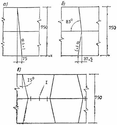
2.10. Для повышения продольной устойчивости, лучшей совместной работы плит, увеличения динамической устойчивости основания и повышения транспортно-эксплуатационных качеств рекомендуется поперечные швы устраивать наклонным в плане или в виде “елочки” с уклоном к перпендикуляру 1:10 (рис. 2). Количество штырей в продольном шве рассчитывают с учетом массы соседних плит без штырей в продольном шве.
Рис. 2. Варианты расположения швов сжатия в плане для повышения комфортности движения, для уменьшения уступов между плитами (а, б и в), ровности покрытия в жаркое время года (б и в)
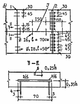
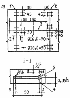
2.11. Штыри в продольных и поперечных швах располагают в соответствии с рис. 3. Конструкции швов расширения и сжатия принимают по рис. 3 и 4.
Рис. 3. Расположение штырей в швах покрытий на цементогрунтовом (а), щебеночном и песчаном (б) основаниях:
1 — шов сжатия; 2 — шов расширения; 3 — продольный шов; 4 — установочные шпильки (Æ5, l = 13¸16 см), приваренные к штырям; 5 — изоляция места сварки с помощью специальных колпачков или полиэтиленовой пленки; 6 — заполнитель (при приварке к штырям продольного шва шпилек диаметром 8 — 18 мм (в торец) длина штырей может быть уменьшена до 50 см)
При устройстве покрытий на цементогрунтовом основании толщиной не менее 18 см бетоноукладчиками со скользящими формами и допущении проектной организацией уступов между плитами в поперечных швах высотой 3 мм (см. расчет основания) допускается в поперечных швах штыри не применять. Толщину покрытия в этом случае увеличивают на 2 см, а швы расширения при температуре бетонирования более 10°С допускается не устраивать.
Для повышения продольной устойчивости рекомендуется в примыкающих к шву расширения швах сжатия, а также в швах сжатия для случаев, отмеченных в табл. 2 звездочкой, применять в нижней части деревянные прокладки треугольного сечения высотой 5 — 6 см.
Рис. 4. Конструкция шва расширения:
1 — прокладка из выдержанной в воде древесины; 2 — каркас для фиксации прокладки и штырей, свариваемых в кондукторе; 3 — штыри в битумной изоляции, привязываемые к каркасу; 4 — температурный компенсатор (колпачок), обеспечивающий смещение штыря в бетоне не менее чем на 2 см; 5 — заполнитель (герметик)
2.12. При устройстве швов сжатия и расширения не допускается отклонения перекосов и наклонов штырей и прокладок от проектного положения более чем на 1 см. При устройстве пазов швов сжатия и расширения в свежеуложенном бетоне радиус закругления кромок швов не должен превышать 8 мм. Длина зоны обмазки штырей в поперечных швах разжиженным битумом составляет 2/3 длины штырей, толщина обмазки не должна превышать 0,3 мм.
Температурные колпачки, надеваемые на штыри швов расширения, должны обеспечивать свободное смещение штыря в бетоне не менее чем на 2 см.
Штыри в продольных швах устанавливают без битумной обмазки, с допущением перекосов не более чем на 5 см.
2.13. Паз швов сжатия может быть в сечении прямоугольным, ступенчатым или с наклонными стенками. Ширина паза швов сжатия может быть от 4 до 15 мм, глубина паза — не менее 0,25 h.
Ширина паза над швом расширения принимается равной 33 — 35 мм, глубина до верха доски — 40 — 60 мм.
Расстояние между верхней частью доски шва расширения, снимаемой после бетонирования, и поверхностью сооружаемого покрытия должна быть не менее 10 мм.
Перед мостами и путепроводами устраивают не менее трех швов расширения без штырей и прокладок, шириной по 6 см каждый, через 15 — 30 м друг от друга. Швы заполняют сильно сжимаемым материалом, например песком, обработанным битумом; вверху шва устанавливают готовую резиновую пустотелую или пористую прокладку высотой 6 см.
2.14. Армирование плит по индивидуальным проектам применяется как вариант при тяжелых нагрузках, при слабых основаниях и при отклонениях в качестве бетона. Для армирования следует применять арматуру периодического профиля диаметром 8 — 16 мм класса А-П в виде отдельных продольных стержней, длина которых меньше длины плиты на 100 — 200 см, или в виде плоских сеток той же длины с продольной арматурой, со средним расходом ее 2,3 — 3,4 кг на 1 м2 покрытия.
При армировании краев покрытия в нижней зоне (на высоте 40 мм от нижней плоскости) двумя стержнями (диаметром 10 — 12 мм, А-П) или высокопрочной проволокой (2 Æ 5, Вр-П или 3 Æ 4, Вр-П) стержни должны быть короче длины плит на 100 см, проволока может проходить через поперечные швы сжатия насквозь.
Конструкция асфальтобетонных покрытий с цементобетонным основанием
2.15. Асфальтобетонные покрытия на цементобетонном основании могут быть одно-, двух- и трехслойными. Толщина слоя асфальто- и цементобетона определяется расчетом, но не должна быть менее значений, указанных в табл. 3.
Таблица 3
| Класс бетона | Предел прочности бетона на растяжение при изгибе, | Толщина, см, асфальтобетона hа (цементобетона) при интенсивности расчетной нагрузки, авт./сут. | ||||||||
| кгс/см2 (МПа) | более 2000 | 1000 — 2000 | 500 ¾ 1000 | 100 — 500 | ||||||
| Ввtв1,5 | 20(2,0) | 18,0 22 | 17,0 21 | 17,0 20 | 16,0 19 | |||||
| Ввtв1,75 | 25(2,5) | 18,0 19 | 18,0 18 | 18,0 17 | 16,0 17 | |||||
| Ввtв2,4 | 30(3,0) | 17,0 18 | 16,5 17 | 16,5 16 | 16,0 16 | |||||
| Ввtв2,8 | 36(3,5) | 16,5 17 | 16,0 17 | 16,0 16 | 14,0 16 | |||||
Примечания. 1. Значение толщины приведены для суточных колебаний температуры на поверхности асфальтобетона (цементобетона) Ап = 15°С.
2. При других суточных колебаниях температуры толщина слоя асфальтобетона определяется по формуле
=haAп/15, цементобетона — по формуле h¢ = h
.
3. Значения ожидаемого суточного перепада An приведены в обязательном приложении 2.
4. При устройстве трещинопрерывающих слоев толщину асфальтобетонного слоя уменьшают на 30%.
Допускается применять в основании укатываемый бетон (тощий, перпакт-бетон) с обеспечением максимального срока службы основания в качестве покрытия.















