ВСН 197-91 (558407), страница 15
Текст из файла (страница 15)
Приложение 5
Рекомендуемое
МЕТОДЫ КОНТРОЛЯ ПАРАМЕТРОВ КОНСТРУКЦИИ ЖЕСТКИХ ДОРОЖНЫХ ОДЕЖД
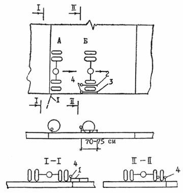
Такие параметры конструкции жестких дорожных одежд, как эквивалентный модуль упругости основания под покрытием, толщина покрытия, модуль упругости и прочность бетона, а также коэффициенты вариации по этим параметрам, могут дополнительно контролироваться с помощью замеров прогибов нагруженных углов плит или замеров кривизны изгиба плит под колесной нагрузкой в точках контроля. Прогиб угла плит определяется с помощью консольного прогибомера, опирающегося на обочину кривизна изгиба плиты — с помощью трехточечных прогибомеров, устанавливаемых возле колес нагружения или между ними (рис. П. 5.1). Первый отсчет снимают, когда нагрузка находится в точке контроля, второй — после съезда нагрузки с этой точки за пределы зоны прогиба т.е. на 4 — 6 м.
Эквивалентный модуль упругости
(МПа) основания определяют по формуле
где Р — нагрузка на колесную опору, Н; w — прогиб угла плиты, mст — коэффициент, учитывающий влияние стыков; если стыки работают, то mст = 0,7, если нет, то mст = 1,0.
Определение Ео должно проводиться до начала временной эксплуатации покрытия, т. е. до появления под углами плит пластических деформаций основания.
Толщину покрытия h (см) определяют по формуле
где h1 — толщина плиты в базовых (3 — 6) точках, аналогичных точкам контроля по условиям работы, см; f1 — стрела изгиба в базовых точках от той же нагрузки, что и в контрольных точках; f —стрела изгиба плиты в контрольной точке.
Если толщина покрытия в базовых точках неизвестна, то толщина плиты в контрольных точках с достаточной для определения коэффициента вариации точностью определяется по следующим формулам:
для центра плиты
для края плиты
где lпp — длина трехточечного прогибомера.
Величину Е можно определить из прочности бетона по формуле
вытекающей из табличных данных СНиП 2.06.08-85.
Если толщину покрытия в контрольных точках можно определить параллельно непосредственным замером, то появляется возможность:
а) при известных значениях f1, h1, Rpи1, f, h определить прочность бетона на растяжение при изгибе относительно известной прочности Rpи1 в базовых точках:
Рис. П. 5.1. Расположение колесной нагрузки трехточечных прогибомеров (1, 2 и, как вариант, 3) — при определении эквивалентного модуля упругости основания (А), толщины покрытия (Б); индикатор прогибомера (4); направление съезда автомобиля с точки испытания
б) при известных значениях f1, h1, Rи, f, h определить прочность бетона на сжатие:
Если известно E1, то
При определении коэффициентов вариации можно применять вероятные или усредненные значения Rpи1, h1 и E1.















