СНиП 3.01.03-84 (556899), страница 3
Текст из файла (страница 3)
Обязательное
УСЛОВИЯ ОБЕСПЕЧЕНИЯ ТОЧНОСТИ
ВЫСОТНЫХ ИЗМЕРЕНИЙ
| Условия измерений, типы приборов | Средние квадратические погрешности превышения на станции, мм | |||
| 1 | 2-3 | 5 | 10 | |
| Неравенство плеч на станции, м, не более | 4 | 7 | 10 | 15 |
| Высота визирного луча над препятствием, м, не менее | 0,3 | 0,2 | ||
| Типы нивелиров по ГОСТ 10528—76 или им равноточные | Н-05 и модифика-ции | Н-3 и модификации | Н-10 и модифика-ции | |
| Типы реек для нивелиров по ГОСТ 11158-83 или им равноточные | РН-05 | РН-3 | РН-10 | |
| Типы лазерных приборов или им равноточные | ¾ | ¾ | ПИЛ-1 (ТУ ОДО.397.202); ЛВ-5М (ТУ 2.787.001); УКЛ-1 (ТУ ЛУ ШФ2.404.000) | |
| Типы реек для лазерных приборов | ¾ | ¾ | Рейка с фотоприемником; РН-3 для ЛВ-5М | |
ПРИЛОЖЕНИЕ 4
Обязательное
УСЛОВИЯ ОБЕСПЕЧЕНИЯ ТОЧНОСТИ ПЕРЕДАЧИ
ОТМЕТОК ПО ВЫСОТЕ
| Условия измерений, типы приборов | Средние квадратические погрешности определения отметок на монтажном горизонте относительно исходного, мм | ||||
| 3 | 4 | 5 | 6 | 15 | |
| Высота монтажного горизонта, м | До 15 | Св. 15 до 60 | Св. 60 до 100 | Св. 100 до 120 | — |
| Неравенство плеч на станции, м, не более | 5 | 15 | |||
| Высота визирного луча над препятствием, м, не менее | 0,2 | 0,3 | 0,1 | ||
| Методика работы | Взятие отсчета на монтаж-ном горизон-те | Одновременное взятие отсчетов на верхнем и нижнем горизонтах | Взятие отсчета на монтаж-ном горизон-те | ||
| Типы нивелиров, реек, теодолитов или им равноточные | Н-3 и модификации, РН-3 | H-05 и модификации; РН-05 | Н-10 и модификации; РН-10; Т-5; Т-30 | ||
| Типы рулеток | ОПК2-20 АНТ/1, ОПК2-30 АНТ/1, ОПК2-50 АНТ/1 | ОПК3-20 АНТ/10 | |||
| Натяжение рулеток, Н (кгс) | 100 (10) | 50 (5) | |||
ПРИЛОЖЕНИЕ 5
Обязательное
УСЛОВИЯ ОБЕСПЕЧЕНИЯ ТОЧНОСТИ ПЕРЕДАЧИ
ТОЧЕК И ОСЕЙ ПО ВЕРТИКАЛИ
| Процессы, условия измерений, тип приборов | Средние квадратические погрешности передачи точек, осей по вертикали, мм | |||
| 2 | 2,5 | 3 | 4 | |
| Высота проецирования, м | До 15 | Св. 15 до 60 | Св. 60 до 100 | Св. 100 до 120 |
| Центрирование прибора | Оптичес-ким центри-ром или нитяным отвесом | Оптическим центриром | ||
| Фиксация точек | Карандашом на гладкой поверхности, палетке | Керном на исходном горизонте и карандашом по палетке | ||
| Минимальное расстояние от визирного луча до строительной конструкции, м | 0,2 | 0,1 | ||
| Количество приемов, не менее | 1 | 2 | ||
| Типы приборов или им равноточные | Т 30 | Т 2, ПИЛ-1 | ЦО-1, П3Л | |
ПРИЛОЖЕНИЕ 6
Справочное
СХЕМЫ РАЗБИВОЧНЫХ СЕТЕЙ
СТРОИТЕЛЬНОЙ ПЛОЩАДКИ И ЗДАНИЯ
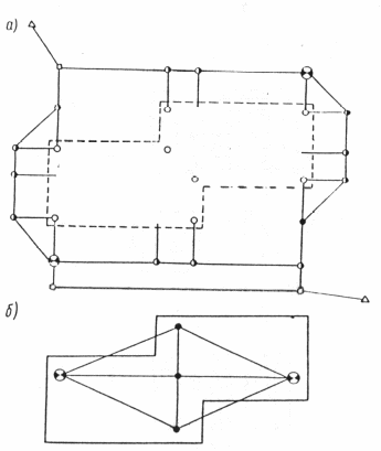
Черт. 1. Схемы разбивочной сети строительной площадки в виде
а — строительной сетки; б — красных линий; в — центральной системы Условные обозначения:
ÿ — пункты разбивочной сети строительной площадки; D — пункты государственной геодезической сети; — строительная площадка; — проектируемые здания
Черт. 2. Схемы разбивочной сети здания
а — внешней; б — внутренней
Условные обозначения:
— репер, совмещенный с осевым знаком; — временный осевой знак, конструкция которого приведена в обязательном приложении 11; —постоянные осевые знаки, конструкции которых приведены в обязательных приложениях 7—10; — осевой знак на здании; ÿ — пункты разбивочной сети строительной площадки; D — пункты государственной геодезической сети
ПРИЛОЖЕНИЕ 7
Рекомендуемое
ЗАКРЕПЛЕНИЕ ОСНОВНЫХ ИЛИ ГЛАВНЫХ
РАЗБИВОЧНЫХ ОСЕЙ ЗДАНИЯ ДО 5 ЭТАЖЕЙ,
СООРУЖЕНИЯ ВЫСОТОЙ ДО 15 М
С ПРОДОЛЖИТЕЛЬНОСТЬЮ СТРОИТЕЛЬСТВА ДО 0,5 ГОДА, ВНУТРИПЛОЩАДОЧНЫХ ИНЖЕНЕРНЫХ СЕТЕЙ,
ОГРАЖДЕНИЕ ЗНАКА
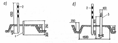
а — геодезический знак закрепления основных или главных разбивочных осей здания до 5 этажей, сооружения высотой до 15 м с продолжительностью строительства до 0,5 года, внутриплощадочных инженерных сетей: 1 — металлический стержень í16 мм; 2 — бетон класса В7,5; б — ограждение знака: 3 — деревянный столб размером 1800х80х80 мм или металлическая труба í30—50 мм; 4 — доска размером 1500х80х20 мм или металлический уголок размером 25х25х2 мм.
ПРИЛОЖЕНИЕ 8
Рекомендуемое
ЗАКРЕПЛЕНИЕ ОСНОВНЫХ ИЛИ ГЛАВНЫХ
РАЗБИВОЧНЫХ ОСЕЙ ЗДАНИЯ СВЫШЕ 5 ЭТАЖЕЙ,
СООРУЖЕНИЯ ВЫСОТОЙ СВЫШЕ 15 М
С ПРОДОЛЖИТЕЛЬНОСТЬЮ СТРОИТЕЛЬСТВА ДО 0,5 ГОДА
1 — деревянная крышка; 2 — металлическая пластина размером 200х200х10 мм; 3 — металлическая труба í30 мм; 4 — якорь; 5 — бетон класса В7,5; 6 — песок
ПРИЛОЖЕНИЕ 9
Рекомендуемое
ЗАКРЕПЛЕНИЕ ОСНОВНЫХ ИЛИ ГЛАВНЫХ
РАЗБИВОЧНЫХ ОСЕЙ ЗДАНИЯ {СООРУЖЕНИЯ)
С ПРОДОЛЖИТЕЛЬНОСТЬЮ СТРОИТЕЛЬСТВА БОЛЕЕ 0,5 ГОДА
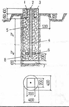
1 — металлическая пластина размером 200х200х15 мм; 2 - заклепка из металла; 3 —анкер í15мм; 4 — металлическая труба í50—70 мм; 5 — бетон классов В7,5 ¾ В12,5; 6 — якорь; 7 — песок; 8 — два слоя рубероида РЧ = 320; h1 соответствует наибольшей глубине промерзания грунта; h2 определяется по таблице
| Грунт | Значение величины h2 при глубине промерзания грунта, м | ||||||||
| h1 | 0,6 | 0,8 | 1,0 | 1,2 | 1,4 | 1,6 | 1,8 | 2,0 | |
| Песчаный | h2 | 0,1 | 0,2 | 0,2 | 0,3 | 0,4 | 0,5 | 0,6 | 0,7 |
| Суглинистый | 0,6 | 0,9 | 1,1 | 1,4 | 1,6 | 1,8 | 2,0 | 2,1 | |
Ограждение знака выполняется согласно рекомендуемому приложению 7
ПРИЛОЖЕНИЕ 10
Рекомендуемое
ЗАКРЕПЛЕНИЕ РАЗБИВОЧНЫХ ОСЕЙ НА СКАЛАХ И БЕТОНЕ
1 — дюбель-гвоздь;
2 — скала, бетон;
3 — обозначение знака (откраска)
Ограждение знака выполняется в виде тура из камней.
ПРИЛОЖЕНИЕ 11
Рекомендуемое
ЗАКРЕПЛЕНИЕ РАЗБИВОЧНЫХ ОСЕЙ ЛИНЕЙНЫХ СООРУЖЕНИЙ
а, б — геодезические знаки; в — схема закрепления знаков разбивочных осей; 1— временный знак из дерева или металла í15-30 мм; 2 — опознавательная веха í50 ¾ 80 мм; 3 - постоянный знак из дерева í100 мм или металла í80 мм
ПРИЛОЖЕНИЕ 12
Обязательное
АКТ
ПРИЕМКИ ГЕОДЕЗИЧЕСКОЙ РАЗБИВОЧНОЙ ОСНОВЫ
ДЛЯ СТРОИТЕЛЬСТВА
___________________________________________________________
(наименование объекта строительства)
г.______________________ „ "___________________19_____г.
Комиссия в составе:
ответственного представителя заказчика _________________________
___________________________________________________________
(фамилий, инициалы, должность)
___________________________________________________________
ответственных представителей генподрядной строительно-монтажной организации ________________________________________________
(фамилия, инициалы, должность)
___________________________________________________________
рассмотрела представленную техническую документацию на геодезическую разбивочную основу для строительства ______________
___________________________________________________________















