all (545090)
Текст из файла
5
Отчет по лабораторной работе № 1МЭИ
ФМАЭК
Отчет по лабораторной работе № 1 :
СПЕКТРОСКОПИЧЕСКИ: ИССЛЕДОВАНИЯ
МОНОКРИСТАЛЛОВ Y3Al5012:Nd3+, YAI03:Nd3+
СНЯТИЕ СПЕКТРОВ ЛЮМИНЕСЦЕНЦИИ ПРИ 7=300 К и 7=77 К
2006 г.
Выполнил: Кузнецов И. В.
Группа : Эл-15-02
Проверил: Антонов В. А.
Дата сдачи: ______________
Цель работы
Ознакомление со спектральной техникой, регистрация спектров люминесценции монокристаллов в пределах спектрального дианазаона от 0,3 до 1,2 мкм при температурах 7=300 К п 7=77 К. Анализ спектров люминесценции, построение диаграммы энергетических уровней иона Nd3+ в матрицах Y3A!5012 и YA103.
Описание (лабораторной установки
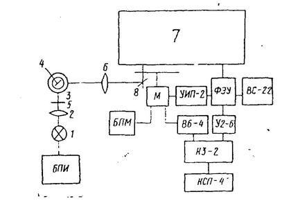
Блок-схема лабораторной установки для снятия спектров люминесценции приведена на рис. 1.1. Основой системы является спектрометр ДФС-12 с дифракционной решеткой с 600 штрихов/мм, обеспечивающей линейную дисперсию в спектральной области 360-1300 нм — 5 А/мм, на схеме он обозначен цифрой 7. В качестве источника возбуждения люминесценции используется лампа типа ДКСШ-500, которая располагается так, чтобы излучение лампы возбуждения, имеющей линейчатый спектр, не попадало в щель спектрального прибора. Излучение источника /, питающегося от блока питания источника (по схеме — БПИ) с помощью конденсатора 2 проектируется на кристалл 4, который располагается в криостате 3. С помощью фильтра 5 из спектра излучения источника «вырезается» участок, несущий основную часть энергии источника и находящийся в синей, фиолетовой и ультрафиолетовой областях спектра. Конденсатором 6 и поворотным заркалом 8 излучение люминесценции исследуемого
Рис. 1.1. Блок-схема установки для снятия спектров люминесценции
Рнс 1 2 Оптическая схема спектрометра ДФС-12
Оптическая схема спектрометра показана на ^ рис. 1.2. Входная щель / прибора расположена в фокальной плоскости зеркального параболического объектива, свет на который направляется от щели плоским поворотным зеркалом 2. Не ред входной щелью прибора помещается красный фильтр, отсекающий проходящую составляющую источника излучения и пропускающий излучение люминесценции кристалла в красном участке спектра. Объектив 3, представляющий собой параболическое зеркало, направляет параллельный пучок на дифракционную решетку 4. Диспергированный свет собирается объективом 5, в фокальной плоскости которого помещается средняя щель 6. Монохроматический свет, пройдя среднюю щель, направляется объективом 9 и поворотным зеркалом 10 на выходную щель //.
Обе дифракционные решетки 4 и 8 установлены на одном столе и одновременно поворачиваются вокруг вертикальной оси от синхронного электродвигателя. Привод является реверсивным. Включение поворота решетки и реверса осуществляется тумблерами на передней панели спектрометра ДФС-12. Там же со шкалы барабана осуществляется считывание длин волн светового потока на выходной щели 11 спектрометр/!. Стрелкой на оптической схеме указана оптическая ось прибора. Из выходной щели выходит только тот узкий участок спектра, который проходит через прибор по его оптической оси.
Пройдя выходную щель, световой поток попадает в регистрационный блок, где световой поток преобразуется в электрический сигнал, интенсивность которого пропорциональна интенсивности падающего па него светового потока. В зависимости от диапазона длин волн, в котором 'происходит запись спектра люминесценции, используются либо ФЭУ-79 (для диапазона 360—600 .им), либо ФЭУ-61 (для 'диапазона длин воли 600 —1200 им), либо фотосопротпвлепие Р —в диапазоне 1200—2600 им. Питание ФЭУ (фотоэлектронных умножителей) осуществляется от стабилизированного высоковольтного выпрямителя ВС-22, а (Ьотоеопротпвлепия — от универсального источника питания УИП-2.
С блока регистрации сигнал полается па узконолосиый резонансный усилитель У2-6. Электрический сигнал усиливается по принципу синхронного детектирования. Для осуществления этого принципа используется механический модулятор света, который формирует люминесцентное излучение монокристалла, попадающее в спектрометр, в переменный световой сигнал. Этот же модулятор формирует опорный переменный сигнал, усиливаемый далее узкополосцым усилителем В6-4
Полезный сигнал с усилителя У2-6 и опорный с усилителя В6-4 подаются на синхронный детектор К.3-2. В последнем происходит демодуляция и интегрирование полезного сигнала, на выходе синхронного детектора включен самописец КСП-4.
(Использование принципа синхронного детектирования даед- возможность отсеивать шумы и помехи по частоте и по фазе, что в конечном итоге позволяет записывать полезные сигналы ниже уровня шумов фотоприемников.
Для снятия спектров люминесценции монокристаллов при низких температурах образец помещается в сосуд Дьюара с оптическими входом и выходом.
| Таблица энергий перезодов для Т =77 К | |||
| N | λ, нм | Е , см-1 | |
| 1 | 869 | 11507,47986 | |
| 2 | 875 | 11428,57143 | |
| 3 | 879 | 11376,56428 | |
| 4 | 884 | 11312,21719 | |
| 5 | 885 | 11299,43503 | |
| 6 | 891 | 11223,34456 | |
| 7 | 893 | 11198,20829 | |
| 8 | 899 | 11123,47052 | |
| Разностные диагональные таблицы (в порядке убывания) | ||||||||
| Х | 11507,48 | 11428,57143 | 11376,56 | 11312,22 | 11299,44 | 11223,34 | 11198,21 | 11123,47 |
| 11507,48 | 0 | 78,90843334 | 130,9156 | 195,2627 | 208,0448 | 284,1353 | 309,2716 | 384,0093 |
| 11428,57 | - | 0 | 52,00715 | 116,3542 | 129,1364 | 205,2269 | 230,3631 | 305,1009 |
| 11376,56 | - | - | 0 | 64,34708 | 77,12925 | 153,2197 | 178,356 | 253,0938 |
| 11312,22 | - | - | - | 0 | 12,78217 | 88,87264 | 114,0089 | 188,7467 |
| 11299,44 | - | - | - | - | 0 | 76,09047 | 101,2267 | 175,9645 |
| 11223,34 | - | - | - | - | - | 0 | 25,13627 | 99,87403 |
| 11198,21 | - | - | - | - | - | - | 0 | 74,73776 |
| 11123,47 | - | - | - | - | - | - | - | 0 |
ЛИТЕРАТУРА
Т. Каминский А. А. «Лазерные кристаллы». М.: Наука, 1975. С. 16— 31; 188—215.
2. Рябцев Г. Г. «Материалы квантовой электроники». М.: Сов. радио, 1972. С. 7—19, il22-430.
3. Е. Ф. Кустов, П. А. Арсеньев. «Элементы квантовой электроники». 4.1. ИОс; 4.2. 150с. М.: Моск. энерт. нн-т, 4972.
4. Зайдель А. 'И., Островская Г. В., Островский 10. И. «Техника и практика спектромепрли». М.: Паука, 1976. С. GG—'123, 333—\360.
5. Справочник по лазерам/Под редакцией А. М. Прохорова, М.: Сов. радио, 1978. Т. 1. С. 259-325; Т. 2. С. 8—11.
Характеристики
Тип файла документ
Документы такого типа открываются такими программами, как Microsoft Office Word на компьютерах Windows, Apple Pages на компьютерах Mac, Open Office - бесплатная альтернатива на различных платформах, в том числе Linux. Наиболее простым и современным решением будут Google документы, так как открываются онлайн без скачивания прямо в браузере на любой платформе. Существуют российские качественные аналоги, например от Яндекса.
Будьте внимательны на мобильных устройствах, так как там используются упрощённый функционал даже в официальном приложении от Microsoft, поэтому для просмотра скачивайте PDF-версию. А если нужно редактировать файл, то используйте оригинальный файл.
Файлы такого типа обычно разбиты на страницы, а текст может быть форматированным (жирный, курсив, выбор шрифта, таблицы и т.п.), а также в него можно добавлять изображения. Формат идеально подходит для рефератов, докладов и РПЗ курсовых проектов, которые необходимо распечатать. Кстати перед печатью также сохраняйте файл в PDF, так как принтер может начудить со шрифтами.















