Записка-КР-Тех_ср-ва (539293), страница 2
Текст из файла (страница 2)
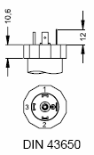
Электрические разъёмы
| Подключение выводов | Разъемы |
| Питание + | 1 |
| Питание - | 2 |
| Защитное заземление | Клемма заземления |
Схема подключения
-
Выбор автоматического регулятора.
Выбираем микропроцессорный регулятор МИНИТЕРМ 400.00
(ftp://80.240.100.130/min400_ko.pdf)
ТЕХНИЧЕСКИЕ ХАРАКТЕРИСТИКИ:
НАЗНАЧЕНИЕ
Регуляторы микропроцессорные МИНИТЕРМ 400.00 предназначены для регулирования давления, расхода, уровня и т.д. при работе с датчиками унифицированного сигнала постоянного тока (шесть входов).
Питание:
-
Напряжение – (24±6)В постоянного тока при амплитуде переменной составляющей от 0.4 до 1.5В;
-
Потребляемая мощность – не более 3.6ВА.
Типы и количество подключаемых датчиков:
-
шесть датчиков 4-20 мА постоянного тока.
Импульсный выход:
-
Вид – “сухой” транзисторный ключ (45В, 0.15А) либо сигнал 0, 24В постоянного тока.
Дискретные выходы:
-
Назначение и количество:
-
- для сигнализации верхнего и нижнего предельных отклонений регулируемого параметра от задания – 2;
-
- для сигнализации отказа – 1;
-
Тип и параметры выходов – “сухой” транзисторный ключ (45В, 0.15А) либо сигнал 0, 24В постоянного тока.
Аналоговый выход:
-
Вид– 0-10В либо 0-5мА постоянного тока;
-
Назначение:
-
-для регуляторов с импульсным выходом – для подключения внешнего регистратора (самописца) регулируемого параметра (например, температуры);
-
-для регулятора с аналоговым выходом - в качестве выходного сигнала регулятора.
-
Интерфейс:
-
RS232C.
-
Расчет передаточной функции ПИ-регулятора. Синтез желаемой ЛАФЧХ.
Если ЛАЧХ разомкнутой системы имеет в области существенных частот (в секторе, отсекаемом линиями
) наклон
, то:
-
Замкнутая САУ устойчива;
-
Переходная функция близка к монотонной;
-
Время регулирования
.
Структура системы с ПИ-регулятором:
Примем время регулирования
.
Вычислим коэффициент усиления ПИ-регулятора
– частота среза
- коэффициент усиления ПИ-регулятора
Структура системы с ПИ-регулятором и численными значениями:
ЛАФЧХ разомкнутой системы с ПИ-регулятором:
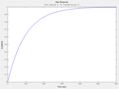
Проверим правильность построения характеристик в Matlab (Simulink):
Структура системы управления с отрицательной обратной связью.
Введем отрицательную обратную связь:
-
Исследование реакции системы на возмущающее воздействие
Подадим возмущающее воздействие и рассмотрим получившийся переходный процесс:
После подачи возмущающего воздействия система вернулась в исходное состояние.
Заключение
В соответствии с заданием была спроектирована промышленная система автоматического регулирования на основе заданных параметров объекта регулирования. Были проанализированы основные элементы системы. Произведен синтез САУ, обеспечивающей время регулирования tр, соответствующее наибольшему значению динамической константы объекта управления при статической ошибке δст=0 и монотонности переходной функции по каналу управления (ξmax=0). Результаты синтеза САУ были подтверждены моделированием в среде MatLab (Simulink).
21
















