2.02.01-83 (2000) Основания зданий и сооружений (524549), страница 11
Текст из файла (страница 11)
Нормативные значения модуля деформации пылевато-глинистых нелессовых грунтов
| Происхождение и | Наименование грунтов | Модуль деформации грунтов Е, МПа (кг/см2), при коэффициенте пористости е, равном | ||||||||||||
| возраст грунтов | и пределы нормативных значений их показателя текучести | 0,35 | 0,45 | 0,55 | 0,65 | 0,75 | 0,85 | 0,95 | 1,05 | 1,2 | 1,4 | 1,6 | ||
| Супеси | 0 £ IL £ 0,75 | - | 32(320) | 24(240) | 16(160) | 10(100) | 7(70) | - | - | - | - | - | ||
| Аллювиальные, Делювиальные, | Суглинки | 0 £ IL £ 0,25 0,25< IL £0,5 0,5< IL £0,75 | - - - | 34(340) 32(320) - | 27(270) 25(250) - | 22(220) 19(190) 17(170) | 17(170) 14(140) 12(120) | 14(140) 11(110) 8(80) | 11(110) 8(80) 6(60) | - - 5(50) | - - - | - - - | - - - | |
| Четвертичные | Озерные, Озерно-аллювиальные | Глины | 0 £ IL £ 0,25 0,25< IL £0,5 0,5< IL £0,75 | - - - | - - - | 28(280) - - | 24(240) 21(210) - | 21(210) 18(180) 15(150) | 18(180) 15(150) 12(120) | 15(150) 12(120) 9(90) | 12(120) 9(90) 7(70) | - - - | - - - | - - - |
| Супеси | 0 £ IL £ 0,75 | - | 33(330) | 24(240) | 17(170) | 11(110) | 7(70) | - | - | - | - | - | ||
| отложения | Флювиоглянциальные | Суглинки | 0 £ IL £ 0,25 0,25 < IL £0,5 0,5 < IL £0,75 | - - - | 40(400) 35(350) - | 33(330) 28(280) - | 27(270) 22(220) 17(170) | 21(210) 17(170) 13(130) | - 14(140) 10(100) | - - 7(70) | - - - | - - - | - - - | - - - |
| Моренные | Супеси Суглинки | IL £ 0,5 | 75(750) | 55(550) | 45(450) | - | - | - | - | - | - | - | - | |
| Юрские отложения оксфордского яруса | Глины | -0,25 £ IL £ 0 0< IL £ 0,25 0,25 < IL £0,5 | - - - | - - - | - - - | - - - | - - - | - - - | 27(270) 24(240) - | 25(250) 22(220) - | 22(220) 19(190) 16(160) | - 15(150) 12(120) | - - 10(100) | |
ПРИЛОЖЕНИЕ 2
Обязательное
РАСЧЕТ ДЕФОРМАЦИЙ ОСНОВАНИЙ1
ОПРЕДЕЛЕНИЕ ОСАДКИ
1. Осадка основания s с использованием расчетной схемы в виде линейно-деформируемого полупространства (п.2.40) определяется методом послойного суммирования по формуле
| где b | - | безразмерный коэффициент, равный 0,8; |
| szp,i | - | среднее значение дополнительного вертикального нормального напряжения в i-м слое грунта, равное полусумме указанных напряжений на верхней zi-1 и нижней zi границах слоя по вертикали, проходящей через центр подошвы фундамента (см. пп. 2-4); |
| hi и Еi | - | соответственно толщина и модуль деформации i-го слоя грунта; |
| n | - | число слоев, на которые разбита сжимаемая толща основания. |
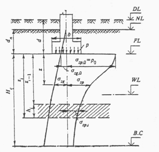
При этом распределение вертикальных нормальных2 напряжений по глубине основания принимается в соответствии со схемой, приведенной на рис. 1.
______________
1В настоящем приложении, кроме специально оговоренных случаев, приняты следующие единицы:
для линейных величин – м (см), для сил – кН (кгс); для напряжений, давлений и модулей деформации – кПа (кгс/см2); для удельного веса – кН/м3 (кгс/см3).
2Далее для краткости слово «нормальное» опускается.
Примечание. При значительной глубине заложения фундаментов расчет осадки рекомендуется производить с использованием расчетных схем, учитывающих разуплотнение грунта вследствие разработки котлована.
2. Дополнительные вертикальные напряжения на глубине z от подошвы фундамента: szp – по вертикали, проходящей через центр подошвы фундамента, и szp,c – по вертикали, проходящей через угловую точку прямоугольного фундамента, определяются по формулам:
szp = ap0; (2)
szp,c = ap0 / 4, (3)
| где a | - | коэффициент, принимаемый по табл.1 в зависимости от формы подошвы фундамента, соотношения сторон прямоугольного фундамента и относительной глубины, равной: x = 2z/b при определении szp и x = z/b при определении szp,c; |
| p0 = p - szg,0 | - | дополнительное вертикальное давление на основание (для фундаментов шириной b ³ 10 м принимается р0 = р); |
| р | - | среднее давление под подошвой фундамента; |
| szg,0 | - | вертикальное напряжение от собственного веса грунта на уровне подошвы фундамента (при планировке срезкой принимается szg,0 = gd, при отсутствии планировки и планировке подсыпкой szg,0 = gdn, где g/ - удельный вес грунта, расположенного выше подошвы, d и dn – обозначены на рис.1). |
Рис.1. Схема распределения вертикальных напряжений
в линейно-деформируемом полупространстве
DL – отметка планировки; NL - отметка поверхности природного рельефа; FL - отметка подошвы фундамента; WL - уровень подземных вод; В.С - нижняя граница сжимаемой толщи; d и dn глубина заложения фундамента соответственно от уровня планировки и поверхности природного рельефа; b - ширина фундамента; р - среднее давление под подошвой фундамента; р0 - дополнительное давление на основание; szg и szg,0 – вертикальное напряжение от собственного веса грунта на глубине z от подошвы фундамента и на уровне подошвы; szp и szр,0 – дополнительное вертикальное напряжение от внешней нагрузки на глубине z от подошвы фундамента и на уровне подошвы; Нс – глубина сжимаемой толщи.
Таблица 1
Коэффициент a
3. Дополнительные вертикальные напряжения szp,а на глубине z по вертикали, проходящей через произвольную точку А (в пределах или за пределами рассматриваемого фундамента с дополнительным давлением по подошве, равным р0 ), определяются алгебраическим суммированием напряжений szр,cj в угловых точках четырех фиктивных фундаментов (рис.2) по формуле
4. Дополнительные вертикальные напряжения szg,nf на глубине z по вертикали, проходящей через центр рассчитываемого фундамента, с учетом влияния соседних фундаментов или нагрузок на прилегающие площади определяются по формуле
где k – число влияющих фундаментов.
5. Вертикальное напряжение от собственного веса грунта szg на границе слоя, расположенного на глубине z от подошвы фундамента, определяется по формуле
где g / - удельный вес грунта, расположенного выше подошвы фундамента;
dn - обозначение – см. рис. 1;
gi и hi - соответственно удельный вес и толщина i-го слоя грунта.
Удельный вес грунтов, залегающих ниже уровня подземных вод, но выше водоупора, должен приниматься с учетом взвешивающего действия воды.
При определении szg в водоупорном слое следует учитывать давление столба воды, расположенного выше рассматриваемой глубины.
6. Нижняя граница сжимаемой толщи основания принимается на глубине z = Hc , где выполняется условие szр = 0,2szg (здесь szр – дополнительное вертикальное напряжение на глубине z = Hc по вертикали, проходящей через центр подошвы фундамента, определяемое в соответствии с указаниями пп. 2 и 4; szg – вертикальное напряжение от собственного веса грунта, определяемое в соответствии с п. 5).
Если найденная по указанному выше условию нижняя граница сжимаемой толщи находится в слое грунта с модулем деформации Е < 5 МПа (50 кгс/см2) или такой слой залегает непосредственно ниже глубины z = Hc , нижняя граница сжимаемой толщи определяется исходя из условия szр = 0,1 szg .
Рис.2. Схема к определению дополнительных вертикальных напряжений szр,а в основании рассчитываемого фундамента с учетом влияния соседнего фундамента методом угловых точек
а - схема расположения рассчитываемого 1 и влияющего фундамента 2; б - схема расположения фиктивных фундаментов с указанием знака напряжений szр,cj в формуле (4) под углом j-го фундамента.
7. Осадка основания с использованием расчетной схемы линейно деформируемого слоя (см. п. 2.40 и рис. 3) определяется по формуле
| где р | - | среднее давление под подошвой фундамента (для фундаментов шириной b < 10 м принимается p = p0 – см. п. 2); |
| b | - | ширина прямоугольного или диаметр круглого фундамента; |
| kc и km | - | коэффициенты, принимаемые по табл. 2 и 3; |
| n | - | число слоев, различающихся по сжимаемости в пределах расчетной толщи слоя Н, определяемой в соответствии с указаниями п. 8; |
| ki и ki-1 | - | коэффициенты, определяемые по табл. 4 в зависимости от формы фундамента, соотношения сторон прямоугольного фундамента и относительной глубины, на которой расположены подошва и кровля i-го слоя соответственно zi=2zi/b и zi-1=2zi-1/b |
| Еi | - | модуль деформации i-го слоя грунта. |
Примечание. Формула (7) служит для определения средней осадки основания, загруженного равномерно распределенной по ограниченной площади нагрузкой. Эту формулу допускается применять для определения осадки жестких фундаментов.
Таблица 2
Коэффициент kc
| Относительная толщина слоя z / = 2H/ b | Коэффициент kc |
| 0 < z / £ 0,5 | 1,5 |
| 0,5 < z / £ 1 | 1,4 |
| 1 < z / £ 2 | 1,3 |
| 2 < z / £ 3 | 1,2 |
| 3 < z / £ 5 | 1,1 |
| z / > 5 | 1,0 |
Таблица 3
Коэффициент km
| Среднее значение модуля деформации грунта основания Е, | Значения коэффициента km при ширине фундамента b, м, равной | ||
| МПа (кгс/см2) | b < 10 | 10 £ b £ 15 | b > 15 |
| E < 10(100) | 1 | 1 | 1 |
| E ³ 10(100) | 1 | 1,35 | 1,5 |
Таблица 4
Коэффициент k
| Коэффициент k для фундаментов | ||||||||
| z = 2z / b | Круглых | Прямоугольных с соотношением сторон h = l / b, равным | ленточных | |||||
| 1 | 1,4 | 1,8 | 2,4 | 3,2 | 5 | (h ³ 10) | ||
| 0,0 | 0,000 | 0,000 | 0,000 | 0,000 | 0,000 | 0,000 | 0,000 | 0,000 |
| 0,4 | 0,090 | 0,100 | 0,100 | 0,100 | 0,100 | 0,100 | 0,100 | 0,104 |
| 0,8 | 0,179 | 0,200 | 0,200 | 0,200 | 0,200 | 0,200 | 0,200 | 0,208 |
| 1,2 | 0,266 | 0,299 | 0,300 | 0,300 | 0,300 | 0,300 | 0,300 | 0,311 |
| 1,6 | 0,348 | 0,380 | 0,394 | 0,397 | 0,397 | 0,397 | 0,397 | 0,412 |
| 2,0 | 0,411 | 0,446 | 0,472 | 0,482 | 0,486 | 0,486 | 0,486 | 0,511 |
| 2,4 | 0,461 | 0,499 | 0,538 | 0,556 | 0,565 | 0,567 | 0,567 | 0,605 |
| 2,8 | 0,501 | 0,542 | 0,592 | 0,618 | 0,635 | 0,640 | 0,640 | 0,687 |
| 3,2 | 0,532 | 0,577 | 0,637 | 0,671 | 0,696 | 0,707 | 0,709 | 0,763 |
| 3,6 | 0,558 | 0,606 | 0,676 | 0,717 | 0,750 | 0,768 | 0,772 | 0,831 |
| 4,0 | 0,579 | 0,630 | 0,708 | 0,756 | 0,796 | 0,820 | 0,830 | 0,892 |
| 4,4 | 0,596 | 0,650 | 0,735 | 0,789 | 0,837 | 0,867 | 0,883 | 0,949 |
| 4,8 | 0,611 | 0,668 | 0,759 | 0,819 | 0,873 | 0,908 | 0,932 | 1,001 |
| 5,2 | 0,624 | 0,683 | 0,780 | 0,844 | 0,904 | 0,948 | 0,977 | 1,050 |
| 5,6 | 0,635 | 0,697 | 0,798 | 0,867 | 0,933 | 0,981 | 1,018 | 1,095 |
| 6,0 | 0,645 | 0,708 | 0,814 | 0,887 | 0,958 | 1,011 | 1,056 | 1,138 |
| 6,4 | 0,653 | 0,719 | 0,828 | 0,904 | 0,980 | 1,041 | 1,090 | 1,178 |
| 6,8 | 0,661 | 0,728 | 0,841 | 0,920 | 1,000 | 1,065 | 1,122 | 1,215 |
| 7,2 | 0,668 | 0,736 | 0,852 | 0,935 | 1,019 | 1,088 | 1,152 | 1,251 |
| 7,6 | 0,674 | 0,744 | 0,863 | 0,948 | 1,036 | 1,109 | 1,180 | 1,285 |
| 8,0 | 0,679 | 0,751 | 0,872 | 0,960 | 1,051 | 1,128 | 1,205 | 1,316 |
| 8,4 | 0,684 | 0,757 | 0,881 | 0,970 | 1,065 | 1,146 | 1,229 | 1,347 |
| 8,8 | 0,689 | 0,762 | 0,888 | 0,980 | 1,078 | 1,162 | 1,251 | 1,376 |
| 9,2 | 0,693 | 0,768 | 0,896 | 0,989 | 1,089 | 1,178 | 1,272 | 1,404 |
| 9,6 | 0,697 | 0,772 | 0,902 | 0,998 | 1,100 | 1,192 | 1,291 | 1,431 |
| 10,0 | 0,700 | 0,777 | 0,908 | 1,005 | 1,110 | 1,205 | 1,309 | 1,456 |
| 11,0 | 0,705 | 0,786 | 0,922 | 1,022 | 1,132 | 1,233 | 1,349 | 1,506 |
| 12,0 | 0,720 | 0,794 | 0,933 | 1,037 | 1,151 | 1,257 | 1,384 | 1,550 |
| Примечание. При промежуточных значениях x и h коэффициент k определяется по интерполяции | ||||||||
8. Толщина линейно-деформируемого слоя Н (рис. 3) в случае, оговоренном в п. 2.40а, принимается до кровли грунта с модулем деформации Е ³ 100 МПа (1000 кгс/см2), а при ширине (диаметре) фундамента b ³ 10 м и среднем значении модуля деформации грунтов основания Е ³ 10 МПа (100 кгс/см2), вычисляется по формуле
| где H0 и y | – | принимаются соответственно равными для оснований, сложенных: пылевато-глинистыми грунтами 9 м и 0,15; песчаными грунтами – 6 м и 0,1; |
| kp | – | коэффициент, принимаемый равным: kp = 0,8 при среднем давлении под подошвой фундамента р = 100 кПа (1 кгс/см2); kp =1,2 при р=500 кПа (5 кгс/см2), а при промежуточных значениях – по интерполяции. |
Рис. 3. схема к расчету осадок с использованием расчетной схемы основания в виде линейно деформируемого слоя.
Если основание сложено пылевато-глинистыми и песчаными грунтами, значение Н определяется по формуле
| где Нs | – | толщина слоя, вычисленная по формуле (8) в предположении, что основание сложено только песчаными грунтами; |
| hcl | – | суммарная толщина слоев пылевато-глинистых грунтов в пределах от подошвы фундамента до глубины, равной Hcl – значению H, вычисленному по формуле (8) в предположении, что основание сложено только пылевато-глинистыми грунтами. |
Значение Н, вычисленное по формулам (8) и (9), должно быть увеличено на толщину слоя грунта с модулем деформации Е <10 МПа (100 кгс/см2), если этот слой расположен ниже Н и толщина его не превышает 0,2Н. При большей толщине слоя такого грунта, а также если вышележащие слои имеют модуль деформации Е <10 МПа (100 кгс/см2), расчет деформаций основания выполняется по расчетной схеме линейно деформируемого полупространства.
ОПРЕДЕЛЕНИЕ КРЕНА ФУНДАМЕНТА
9. Крен фундамента i при действии внецентренной нагрузки определяется по формуле
Таблица 5
Коэффициент ke
| Форма фундамента и направление действия | h =l/b | Коэффициент ke при z / = 2H/ b, равном | |||||||
| момента | 0,5 | 1 | 1,5 | 2 | 3 | 4 | 5 | ¥ | |
| 1 | 0,28 | 0,41 | 0,46 | 0,48 | 0,50 | 0,50 | 0,50 | 0,50 | |
| Прямоугольник | 1,2 | 0,29 | 0,44 | 0,51 | 0,54 | 0,57 | 0,57 | 0,57 | 0,57 |
| с моментом вдоль | 1,5 | 0,31 | 0,48 | 0,57 | 0,62 | 0,66 | 0,68 | 0,68 | 0,68 |
| большей стороны | 2 | 0,32 | 0,52 | 0,64 | 0,72 | 0,78 | 0,81 | 0,82 | 0,82 |
| 3 | 0,33 | 0,55 | 0,73 | 0,83 | 0,95 | 1,01 | 1,04 | 1,17 | |
| 5 | 0,34 | 0,60 | 0,80 | 0,94 | 1,12 | 1,24 | 1,31 | 1,42 | |
| | 10 | 0,35 | 0,63 | 0,85 | 1,04 | 1,31 | 1,45 | 1,56 | 2,00 |
| 1 | 0,28 | 0,41 | 0,46 | 0,48 | 0,50 | 0,50 | 0,50 | 0,50 | |
| Прямоугольник | 1,2 | 0,24 | 0,35 | 0,39 | 0,41 | 0,42 | 0,43 | 0,43 | 0,43 |
| с моментом вдоль | 1,5 | 0,19 | 0,28 | 0,32 | 0,34 | 0,35 | 0,36 | 0,36 | 0,36 |
| меньшей стороны | 2 | 0,15 | 0,22 | 0,25 | 0,27 | 0,28 | 0,28 | 0,28 | 0,28 |
| 3 | 0,10 | 0,15 | 0,17 | 0,18 | 0,19 | 0,20 | 0,20 | 0,20 | |
| 5 | 0,06 | 0,09 | 0,10 | 0,11 | 0,12 | 0,12 | 0,12 | 0,12 | |
| | 10 | 0,03 | 0,05 | 0,05 | 0,06 | 0,06 | 0,06 | 0,06 | 0,07 |
| Круглый | - | 0,43 | 0,63 | 0,71 | 0,74 | 0,75 | 0,75 | 0,75 | 0,75 |
| Примечание. При использовании расчетной схемы основания в виде линейно деформируемого полупространства коэффициент ke принимается по графе, соответствующей z / = ¥. | |||||||||
10. Коэффициент Пуассона v принимается равным для грунтов: крупнообломочных – 0,27; песков и супесей – 0,30; суглинков – 0,35; глин – 0,42.
11. Средние (в пределах сжимаемой толщи Нс или толщины слоев Н) значения модуля деформации и коэффициента Пуассона грунтов основания (
и
) определяются по формулам:
| где Аi | - | площадь эпюры вертикальных напряжений от единичного давления под подошвой фундамента в пределах i-го слоя грунта; для схемы полупространства допускается принимать Аi = szp,ihi (cм. п.1), для схемы слоя – Ai = ki - ki-1 (cм. п.7); |
| Ei, vi, hi, | - | соответственно модуль деформации, коэффициент Пуассона и толщина i-го слоя грунта; |
| Н | - | расчетная толщина слоя, определяемая по п. 8; |
| n | - | число слоев, отличающихся значениями E и v в пределах сжимаемой толщи Hс или толщины слоя H. |
ОПРЕДЕЛЕНИЕ ПРОСАДОК ГРУНТОВ ОСНОВАНИЯ
12. Просадка грунтов ssl основания при увеличении их влажности вследствие замачивания сверху больших площадей (см. пп. 3.2 и 3.5), а также замачивания снизу при подъеме уровня подземных вод определяется по формуле
| где esl,i | – | относительная просадочность i-го слоя грунта, определяемая в соответствии с указаниями п.13; |
| hi | – | толщина i-го слоя; |
| ksl,i | – | коэффициент, определяемый в соответствии с указаниями п. 14; |
| n | – | число слоев, на которое разбита зона просадки hsl, принимаемая в соответствии с указаниями п. 16. |
13. Относительная просадочность грунта esl определяется на основе испытаний образцов грунта на сжатие без возможности бокового расширения по формуле
| где hn,p и hsat,p- | - | высота образца соответственно природной влажности и после его полного водонасыщения (w = wsat) при давлении p, равном вертикальному напряжению на рассматриваемой глубине от внешней нагрузки и собственного веса грунта p = szp + szg – при определении просадки грунта в верхней зоне просадки; при определении просадки грунта в нижней зоне просадки также учитывается дополнительная нагрузка от сил негативного трения (см. пп. 3.4 и 3.8); |
| hn,g | - | высота того же образца природной влажности при p = szg. |
Относительная просадочность грунта при его неполном водонасыщении (wsl £ w < wsat) - e/sl определяется по формуле
| где w | – | влажность грунта; |
| wsat | – | влажность, соответствующая полному водонасыщению грунта; |
| wsl | – | начальная просадочная влажность (п. 3.3); |
| esl | – | относительная просадочность грунта при его полном водоносыщении, определяемая по формуле (14). |
14*. Коэффициент ksl,i, входящий в формулу (13):
при b ³ 12 м – принимается равным 1 для всех слоев грунта в пределах зоны просадки;
при b ³ 3 м – вычисляется по формуле
| где р | – | среднее давление под подошвой фундамента, кПа (кгс/см2); |
| psl,i | – | начальное просадочное давление грунта i-го слоя, кПа (кгс/см2), определяемое в соответствии с указаниями п. 15; |
| р0 | – | давление, равное 100 кПа (1 кгс/см2); |
при 3 м < b < 12 м – определяется по интерполяции между значениями ksl,i , полученными при b = 3 м и b = 12 м.
При определении просадки грунта от собственного веса следует принимать ksl = 1 при Hsl £ 15 м и ksl = 1,25 при Hsl ³ 20 м, при промежуточных значениях Нsl коэффициент ksl определяется по интерполяции.
15. За начальное просадочное давление psl принимается давление соответствующее:
при лабораторных испытаниях грунтов в компрессионных приборах – давлению, при котором относительная просадочность esl равна 0,01;
при полевых испытаниях штампами предварительно замоченных грунтов – давлению, равному пределу пропорциональности на графике «нагрузка-осадка»;
при замачивании грунтов в опытных котлованах – вертикальному напряжению от собственного веса грунта на глубине, начиная с которой происходит просадка грунта от собственного веса.
Рис. 4. Схемы к расчету просадок основания
a – просадка от собственного веса ssl,g отсутствует (не превышает 5 см), возможна только просадка от внешней нагрузки ssl,р в верхней зоне просадки hsl,р (I тип грунтовых условий); б, в, г, - возможна просадка от собственного веса ssl,g в нижней зоне просадки hsl,g, начиная с глубины zg (II тип грунтовых условий); б – верхняя и нижняя зоны просадки не сливаются, имеется нейтральная зона hn; в – верхняя и нижняя зоны просадки сливаются; г – просадка от внешней нагрузки отсутствует; 1- вертикальные напряжения от собственного веса грунта szg; 2 – суммарные вертикальные напряжения от внешней нагрузки и собственного веса грунта sz = szp + szg ; 3 – изменение с глубиной начального просадочного давления psl; Нsl – толщина слоя просадочных грунтов (просадочная толща); d – глубина заложения фундамента.
16. Толщина зоны просадки hsl принимается равной (рис.4)
| hsl = hsl,р | – | толщине верхней зоны просадки при определении просадки грунта от внешней нагрузки ssl,p (п. 3.4), при этом нижняя граница указанной зоны соответствует глубине, где sz = szp + szg = psl (рис. 4а,б) или глубине, где значение sz минимально, если sz,min > psl (рис. 4,в); |
| hsl = hsl,g | – | толщине нижней зоны просадки при определении просадки грунта от собственного веса ssl,g (пп. 3.4, 3.5), т.е. начиная с глубины zg, где sz = рsl или значение sz минимально, если sz,min > psl , и до нижней границы просадочной толщи. |
17. Возможная просадка грунта от собственного веса s/sl,g при замачивании сверху малых площадей (ширина замачиваемой площади Bw меньше размера просадочной толщи Нsl ) определяется по формуле
где ssl,g - максимальное значение просадки грунта от собственного веса, определяемое в соответствии с п. 12.
ОПРЕДЕЛЕНИЕ ДЕФОРМАЦИЙ ОСНОВАНИЙ,
СЛОЖЕННЫХ НАБУХАЮЩИМИ ГРУНТАМИ
18. Подъем основания при набухании грунта hsw определяется по формуле
| где esw,i | - | относительное набухание грунта i-го слоя, определяемое в соответствии с указаниями п. 19; |
| hi | - | толщина i-го слоя грунта; |
| ksw,i | - | коэффициент, определяемый в соответствии с указаниями п. 20; |
| n | - | число слоев, на которое разбита зона набухания грунта. |
19. Относительное набухание грунта esw определяется по формулам:
при инфильтрации влаги
| где hn | – | высота образца природной влажности и плотности, обжатого без возможности бокового расширения давлением р, равным суммарному вертикальному напряжению sz,tot на рассматриваемой глубине (значение sz,tot определяется в соответствии с указаниями п. 21); |
| hsat | – | высота того же образца после замачивания до полного водонасыщения, обжатого в тех же условиях; |
при экранировании поверхности и изменении водно-теплового режима
| где k | - | коэффициент, определяемый опытным путем (при отсутствии опытных данных принимается k = 2); |
| weq | - | конечная (установившаяся) влажность грунта; |
| w0 и e0 | - | соответственно начальные значения влажности и коэффициента пористости грунта. |
20. Коэффициент ksw, входящий в формулу (18), в зависимости от суммарного вертикального напряжения sz,tot на рассматриваемой глубине, принимается равным 0,8 при sz,tot = 50 кПа (0,5 кгс/см2) и 0,6 при sz,tot = 300 кПа (3 кгс/см2), а при промежуточных значениях sz,tot - по интерполяции.
21. Суммарное вертикальное напряжение sz,tot на глубине z от подошвы фундамента (рис. 5) определяется по формуле
| где szр, szg | - | вертикальные напряжения соответственно от нагрузки фундамента и от собственного веса грунта; |
| sz,ad | - | дополнительное вертикальное давление, вызванное влиянием веса неувлажненной части массива грунта за пределами площади замачивания, определяемой по формуле |
| где kg | - | коэффициент, принимаемый по табл. 6. |
Таблица 6
Коэффициент kg
| (d + z) / Bw | Коэффициент kg при отношении длины к ширине замачиваемой площади Lw / Bw, равном | ||||
| 1 | 2 | 3 | 4 | 5 | |
| 0,5 | 0 | 0 | 0 | 0 | 0 |
| 1 | 0,58 | 0,50 | 0,43 | 0,36 | 0,29 |
| 2 | 0,81 | 0,70 | 0,61 | 0,50 | 0,40 |
| 3 | 0,94 | 0,82 | 0,71 | 0,59 | 0,47 |
| 4 | 1,02 | 0,89 | 0,77 | 0,64 | 0,53 |
| 5 | 1,07 | 0,94 | 0,82 | 0,69 | 0,77 |
22. Нижняя граница зоны набухания Hsw (рис. 5):
а) при инфильтрации влаги принимается на глубине, где суммарное вертикальное напряжение sz,tot (п. 21) равно давлению набухания psw;
б) при экранировании поверхности и изменении водно-теплового режима – определяется опытным путем (при отсутствии опытных данных принимается Hsw = 5 м).
Рис. 5. Схема к расчету подъема основания при набухании грунта
23.Осадка основания в результате высыхания набухшего грунта ssh определяется по формуле
| где esh,i | – | относительная линейная усадка грунта i-го слоя, определяемая в соответствии с указаниями п. 24; |
| hi | – | толщина i-го слоя грунта; |
| ksh | – | коэффициент, принимаемый равным 1,3; |
| n | – | число слоев, на которое разбита зона усадки грунта, принимаемая в соответствии с указаниями п. 25. |
24. Относительная линейная усадка грунта при его высыхании определяется по формуле
| где hn | - | высота образца грунта возможной наибольшей влажности при обжатии его суммарным вертикальным напряжением без возможности бокового расширения; |
| hd | - | высота образца в тех же условиях после уменьшения влажности в результате высыхания. |
25. Нижняя граница зоны усадки Hsh определяется экспериментальным путем, а при отсутствии опытных данных принимается равной 5 м.
При высыхании грунта в результате теплового воздействия технологических установок нижняя граница зоны усадки Hsh определяется опытным путем или соответствующим расчетом.
ОПРЕДЕЛЕНИЕ СУФФОЗИОННОЙ ОСАДКИ
26. Суффозионная осадка ssf основания, сложенного засоленными грунтами, определяется по формуле
| где esf,i | - | относительное суффозионное сжатие грунта i-го слоя при давлении р, равном суммарному вертикальному напряжению на рассматриваемой глубине от внешней нагрузки szp и собственного веса грунта szg , определяемое по указаниям п. 27; |
| hi | - | толщина i-го слоя засоленного грунта; |
| n | - | число слоев, на которое разбита зона суффозионной осадки засоленных грунтов. |
27. Относительное суффозионное сжатие esf определяется:
а) при полевых испытаниях статической нагрузкой с длительным замачиванием по формуле
где ssf,p – суффозионная осадка штампа при давлении;
p = szp + szg ;
dp – зона суффозионной осадки основания под штампом;
б) при компрессионно-фильтрационных испытаниях по формуле
| где hsat,p | - | высота образца после замачивания (полного водонасыщения) при давлении p = szp + szg ; |
| hsf,p | - | высота того же образца грунта после длительной фильтрации воды и выщелачивания солей при давлении p. |
| hng | - | высота того же образца природной влажности при давлении pi=szg . |
ПРИЛОЖЕНИЕ 3
Рекомендуемое
РАСЧЕТНЫЕ СОПРОТИВЛЕНИЯ ГРУНТОВ ОСНОВАНИЙ
1. Расчетные сопротивления грунтов основания R0, приведенные в табл. 1-5, предназначены для предварительного определения размеров фундаментов. Область применения значений R0 и R/0 для окончательного определения размеров фундаментов указана в п. 2.42 для табл.1, в п. 3.10 для табл. 4, в п. 8.4 для табл. 5 и в п. 11.5 для табл. 6.
2. Для грунтов с промежуточными значениями e и IL (табл. 1-3), pd и Sr (табл. 4), Sr (табл. 5), а также для фундаментов с промежуточными значениями l (табл. 6) значения R0 и R/0 определяются по интерполяции.
3. Значения R0 (табл. 1-5) относятся к фундаментам, имеющим ширину b0 = 1 м и глубину заложения d0 = 2 м.
При использовании значений R0 для окончательного назначения размеров фундаментов ( пп. 2.42, 3.10 и 8.4) расчетное сопротивление грунта основания R, кПа (кгс/см2), определяется по формулам:
при d £ 2 м (200 см)
R = R0[1 + k1(b – b0)/b0] ´ (d + d0)/2d0 ; (1)
при d > 2 м (200 см)
R = R0[1 + k1(b – b0)/b0] + k2g /II (d - d0), (2)
| где b и d | – | соответственно ширина и глубина заложения проектируемого фундамента, м (см); |
| g/II | – | расчетное значение удельного веса грунта, расположенного выше подошвы фундамента, кН/м3 (кгс/см3); |
| k1 | – | коэффициент, принимаемый для оснований, сложенных крупнообломочными и песчаными грунтами, кроме пылеватых песков, k1 = 0,125, пылеватыми песками, супесями, суглинками и глинами k1 = 0,05; |
| k2 | – | коэффициент, принимаемый для оснований, сложенных крупнообломочными и песчаными грунтами, k2 = 0,25, супесями и суглинками k2 = 0,2 и глинами k2 = 0,15. |
Примечание. Для сооружений с подвалом шириной В £ 20 м и глубиной db ³ 2 м учитываемая в расчете глубина заложения наружных и внутренних фундаментов принимается равной: d = d1 + 2 м [здесь d1 – приведенная глубина заложения фундамента, определяемая по формуле (8) настоящих норм]. При В > 20 м принимается d = d1.
Таблица 1
Расчетные сопротивления R0 крупнообломочных грунтов
| Крупнообломочные грунты | Значение R0, кПа (кгс/см2) |
| Галечниковые (щебенистые) с заполнителем: | |
| песчаным | 600(6) |
| пылевато-глинистым при показателе текучести: | |
| IL £ 0,5 | 450(4,5) |
| 0,5 < IL £ 0,75 | 400(4) |
| Гравийные (дресвяные) с заполнителем: | |
| песчаным | 500(5) |
| пылевато-глинистым при показателе текучести: | |
| IL £ 0,5 | 400(4) |
| 0,5 < IL £ 0,75 | 350(3,5) |
Таблица 2
Расчетные сопротивления R0 песчаных грунтов
| Пески | Значения R0, кПа (кгс/см2), в зависимости от плотности сложения песков | |
| плотные | средней плотности | |
| Крупные | 600(6) | 500(5) |
| Средней крупности | 500(5) | 400(4) |
| Мелкие: | ||
| маловлажные | 400(4) | 300(3) |
| влажные и насыщенные водой | 300(3) | 200(2,0) |
| Пылеватые: | ||
| маловлажные | 300(3) | 250(2,5) |
| влажные | 200(2) | 150(1,5) |
| насыщенные водой | 150(1,5) | 100(1) |
Таблица 3
Расчетные сопротивления R0 пылевато-глинистых (непросадочных) грунтов
| Пылевато-глинистые грунты | Коэффициент пористости е | Значения R0, кПа (кгс/см2), при показателе текучести грунта | |
| IL = 0 | IL = 1 | ||
| Супеси | 0,5 | 300(3) | 300(3) |
| 0,7 | 250(2,5) | 200(2) | |
| 0,5 | 300(3) | 250(2,5) | |
| Суглинки | 0,7 | 250(2,5) | 180(1,8) |
| 1,0 | 200(2) | 100(1) | |
| 0,5 | 600(6) | 400(4) | |
| Глины | 0,6 | 500(5) | 300(3) |
| 0,8 | 300(3) | 200(2) | |
| 1,1 | 250(2,5) | 100(1) | |
Таблица 4
Расчетные сопротивления R0 просадочных грунтов
| R0, кПа (кгс/см2),грунтов | ||||
| Грунты | природного сложения с плотностью в сухом состоянии pd , т/м3 | уплотненных с плотностью в сухом состоянии pd , т/м3 | ||
| 1,35 | 1,55 | 1,60 | 1,70 | |
| Супеси | 300(3) 150(1,5) | 350(3,5) 180(1,8) | 200(2) | 250(2,5) |
| Суглинки | 350(3,5) 180(1,8) | 400(4) 200(2) | 250(2,5) | 300(3) |
| Примечание: В числителе приведены значения R0, относящейся к незамоченным просадочным грунтам со степенью влажности Sr £ 0,5; в знаменателе - значения R0, относящиеся к таким же грунтам с Sr ³ 0,8, а также к замоченным просадочным грунтам. | ||||
Таблица 5
Расчетные сопротивления R0 насыпных грунтов
| R0, кПа (кгс/см2) | ||||
| Характеристики насыпи | Пески крупные, средней крупности и мелкие, шлаки и т.п. при степени влажности Sr | Пески пылеватые, супеси, суглинки, глины, золы и т.п. при степени влажности Sr | ||
| Sr £ 0,5 | Sr ³ 0,8 | Sr £ 0,5 | Sr ³ 0,8 | |
| Насыпи, планомерно возведенные с уплотнением | 250(2,5) | 200(2,0) | 180(1,8) | 150(1,5) |
| Отвалы грунтов и отходов производств: | ||||
| с уплотнением | 250(2,5) | 200(2,0) | 180(1,8) | 150(1,5) |
| без уплотнения | 180(1,8) | 150(1,5) | 120(1,2) | 100(1,0) |
| Свалки грунтов и отходов производств: | ||||
| с уплотнением | 150(1,5) | 120(1,2) | 120(1,2) | 100(1,0) |
| без уплотнения | 120(1,2) | 100(1,0) | 100(1,0) | 80(0,8) |
| Примечание: 1. Значения R0 в настоящей таблице относятся к насыпным грунтам с содержанием органических веществ Iom £ 0,1. 2. Для неслежавшихся отвалов и свалок грунтов и отходов производств значения R0 принимаются с коэффициентом 0,8. | ||||
Таблица 6
Расчетные сопротивления грунтов обратной засыпки R0 для выдергиваемых фундаментов опор воздушных линий электропередачи
| Относительное заглубление фундамента l = d/b | Пылевато-глинистые грунты при показателе текучести IL £ 0,5 и плотности грунта обратной засыпки, т/м3 | Пески средней крупности и мелкие маловлажные и влажные при плотности грунта обратной засыпки, т/м3 | ||
| 1,55 | 1,70 | 1,55 | 1,70 | |
| 0,8 | 32(0,32) | 36(0,36) | 32(0,32) | 40(0,40) |
| 1,0 | 40(0,40) | 45(0,45) | 40(0,40) | 50(0,50) |
| 1,5 | 50(0,50) | 65(0,65) | 55(0,55) | 65(0,65) |
| 2,0 | 60(0,60) | 85(0,85) | 70(0,70) | 85(0,85) |
| 2,5 | - | 100(1,00) | - | 100(1,00) |
| Примечания: 1. Значения R0 для глин и суглинков с показателем текучести 0,5 £ IL £ 0,75 и супесей при 0,5 < IL £ 1,0 принимаются по графе «пылевато-глинистые грунты» с введением понижающих коэффициентов соответственно 0,85 и 0,7. 2. Значения R0 для пылеватых песков принимаются как для песков средней крупности и мелких с коэффициентом 0,85. | ||||
ПРИЛОЖЕНИЕ 4
Рекомендуемое
ПРЕДЕЛЬНЫЕ ДЕФОРМАЦИИ ОСНОВАНИЯ
| Предельные деформации основания | |||
| Сооружения | относительная разность осадок (Ds/L)u | Крен iu | (в скобках максимальная smax,u) осадка, см |
| 1. Производственные и гражданские одноэтажные и многоэтажные здания с полным каркасом: | |||
| железобетонным | 0,002 | - | (8) |
| стальным | 0,004 | - | (12) |
| 2. Здания и сооружения, в конструкциях которых не возникают усилия от неравномерных осадок | 0,006 | - | (15) |
| 3. Многоэтажные бескаркасные здания с несущими стенами из: | |||
| крупных панелей | 0,0016 | 0,005 | 10 |
| крупных блоков или кирпичной кладки без армирования | 0,0020 | 0,005 | 10 |
| то же, с армированием, в том числе с устройством железобетонных поясов | 0,0024 | 0,005 | 15 |
| 4. Сооружение элеваторов их железобетонных конструкций: | |||
| рабочее здание и силосный корпус монолитной конструкции на одной фундаментной плите | - | 0,003 | 40 |
| то же, сборной конструкции | - | 0,003 | 30 |
| отдельно стоящий силосный корпус монолитной конструкции | - | 0,004 | 40 |
| то же, сборной конструкции | - | 0,004 | 30 |
| отдельно стоящее рабочее здание | - | 0,004 | 25 |
| 5. Дымовые трубы высотой Н, м: | |||
| Н £ 100 | - | 0,005 | 40 |
| 100 < Н £ 200 | - | 1/(2H) | 30 |
| 200 < Н £ 300 | - | 1/(2H) | 20 |
| Н > 300 | - | 1/(2H) | 10 |
| 6. Жесткие сооружения высотой до 100 м, кроме указанных в поз. 4 и 5 | - | 0,004 | 20 |
| 7. Антенные сооружения связи: | |||
| стволы мачт заземленные | - | 0,002 | 20 |
| то же, электрически изолированные | - | 0,001 | 10 |
| башни радио | 0,002 | - | - |
| башни коротковолновых радиостанций | 0,0025 | - | - |
| башни (отдельные блоки) | 0,001 | - | - |
| 8. Опоры воздушных линий электропередачи: | |||
| промежуточные прямые | 0,003 | 0,003 | - |
| анкерные и анкерно-угловые, промежуточные угловые, концевые, порталы открытых распределительных устройств | 0,0025 | 0,0025 | - |
| специальные переходные | 0,002 | 0,002 | - |
| Примечания: 1. Предельные значения относительного прогиба (выгиба) зданий, указанных в поз. 3 настоящего приложения, принимаются равными 0,5 (Ds/L)u . 2. При определении относительной разности осадок (Ds/L) в поз. 8 настоящего приложения за L принимается расстояние между осями блоков фундаментов в направлении горизонтальных нагрузок, а в опорах с оттяжками - расстояние между осями сжатого фундамента и анкера. 3. Если основание сложено горизонтальными (с уклоном не более 0,1), выдержанными по толщине слоями грунтов, предельные значения максимальных и средних осадок допускается увеличивать на 20 %. 4. Предельные значения подъема основания, сложенного набухающими грунтами, допускается принимать: максимальный и средний подъем в размере 25 % и относительную неравномерность осадок (относительный выгиб) здания в размере 50 % соответствующих предельных значений деформаций, приведенных в настоящем приложении. 5. Для сооружений, причисленных в поз. 1-3 настоящего приложения, с фундаментами в виде сплошных плит предельные значения средних осадок допускается увеличивать в 1,5 раза. 6. На основе обобщения опыта проектирования, строительства и эксплуатации отдельных видов сооружений допускается принимать предельные значения деформаций основания, отличающиеся от указанных в настоящем приложении. | |||
ПРИЛОЖЕНИЕ 5
Справочное
ОСНОВНЫЕ БУКВЕННЫЕ ОБОЗНАЧЕНИЯ
КОЭФФИЦИЕНТЫ НАДЕЖНОСТИ
| gf | – | по нагрузке; |
| gm | – | по материалу; |
| gg | – | по грунту; |
| gn | – | по назначению сооружения; |
| gс | – | коэффициент условий работы. |
ХАРАКТЕРИСТИКИ ГРУНТОВ
| – | среднее значение характеристики; | |
| Xn | – | нормативное значение; |
| Х | – | расчетное значение; |
| a | – | доверительная вероятность (обеспеченность) расчетных значений; |
| р | – | плотность; |
| рd | – | плотность в сухом состоянии; |
| рbf | – | плотность обратной засыпки; |
| е | – | коэффициент плотности; |
| w | – | влажность природная; |
| wp | – | влажность на границе пластичности (раскатывания); |
| wL | – | влажность на границе текучести; |
| weq | – | конечная (установившаяся) влажность; |
| wsat | – | влажность соответствующая полному водонасыщению; |
| wsl | – | начальная просадочная влажность; |
| wsw | – | влажность набухания; |
| wsh | – | влажность на пределе усадки; |
| Sr | – | степень влажности; |
| IL | – | показатель текучести; |
| g | – | удельный вес; |
| gsb | – | удельный вес с учетом взвешивающего действия воды; |
| psl | – | начальное просадочное давление; |
| psw | – | давление набухания; |
| esl | – | относительная просадочность; |
| esw | – | относительное набухание; |
| esh | – | относительная линейная усадка; |
| esf | – | относительное суффозионное сжатие; |
| Iот | – | относительное содержание органического вещества; |
| Dpd | – | степень разложения органического вещества; |
| с | – | удельное сцепление; |
| j | – | угол внутреннего трения; |
| Е | – | модуль деформации; |
| v | – | коэффициент Пуассона; |
| Rc | – | предел прочности на одноосное сжатие скальных грунтов; |
| сv | – | коэффициент консолидации. |
НАГРУЗКИ, НАПРЯЖЕНИЯ, СОПРОТИВЛЕНИЯ
| F | – | сила, расчетное значение силы; |
| f | – | сила на единицу длины; |
| Fv , Fh | – | вертикальная и горизонтальная составляющие силы; |
| Fs,a ,Fs,r | – | силы, действующие по плоскости скольжения, соответственно сдвигающие и удерживающие (активные и реактивные); |
| N | – | сила нормальная к подошве фундамента; |
| n | – | то же, на единицу длины; |
| G | – | собственный вес фундамента; |
| q | – | равномерно распределенная вертикальная пригрузка; |
| р | – | среднее давление под подошвой фундамента; |
| s | – | нормальное напряжение; |
| t | – | касательное напряжение; |
| и | – | избыточное давление в поровой воде; |
| sz | – | вертикальное нормальное напряжение полное; |
| szg | – | то же, от собственного веса грунта; |
| szp | – | то же, дополнительное от внешней нагрузки (давления фундамента); |
| R | – | расчетное сопротивление грунта основания (предел линейной зависимости «нагрузка-осадка»); |
| R0 | – | расчетное сопротивление грунта (для предварительного назначения размеров фундаментов), принимаемое в соответствии с рекомендуемым приложением 3; |
| Fи | – | сила предельного сопротивления основания, соответствующая исчерпанию его несущей способности. |
ДЕФОРМАЦИИ ОСНОВАНИЙ И СООРУЖЕНИЙ
| s | – | осадка основания; |
| – | средняя осадка основания; | |
| ssl | – | просадка; |
| hsw | – | подъем основания при набухании грунта; |
| ssh | – | осадка основания в результате высыхания набухшего грунта; |
| ssf | – | суффозионная осадка; |
| Ds | – | разность осадок (просадок); |
| i | – | крен фундамента (сооружения); |
| J | – | относительный угол закручивания; |
| и | – | горизонтальное перемещение; |
| sи | – | предельное значение деформации основания; |
| sи ,s | – | то же, по технологическим требованиям; |
| sи,f | – | то же, по условиям прочности, устойчивости и трещиностойкости конструкций. |
ГЕОМЕТРИЧЕСКИЕ ХАРАКТЕРИСТИКИ
| b | – | ширина подошвы фундамента; |
| В | – | ширина подвала; |
| Bw | – | ширина источника замачивания (замачиваемой площади); |
| l | – | длина подошвы фундамента; |
| h = l/b | – | соотношение сторон подошвы фундамента; |
| А | – | площадь подошвы фундамента; |
| L | – | длина здания; |
| d, dn, d1 | – | глубина заложения фундамента соответственно от уровня планировки, от поверхности природного рельефа и приведенная от пола подвала; |
| db | – | глубина подвала от уровня планировки; |
| df, dfn | – | глубина сезонного промерзания грунта соответственно расчетная и нормативная; |
| dw | – | глубина расположения уровня подземных вод; |
| l = d/b | – | относительное заглубление фундамента; |
| h | – | толщина слоя грунта; |
| Нс | – | глубина сжимаемой толщи; |
| Н | – | толщина линейно-деформируемого слоя; |
| Hsl | – | толщина слоя просадочных грунтов (просадочная толща); |
| hsl | – | толщина зоны просадки; |
| hsl,p | – | то же, от внешней нагрузки; |
| hsl,g | – | то же, от собственного веса грунта; |
| Hsw | – | толщина зоны набухания; |
| Hsh | – | то же, усадки; |
| z | – | глубина (расстояние) от подошвы фундамента; |
| z = 2z/b | – | относительная глубина; |
| DL | – | отметка планировки; |
| NL | – | отметка поверхности природного рельефа; |
| FL | – | отметка подошвы фундамента; |
| В.С | – | нижняя граница сжимаемой толщи; |
| B.SL | – | то же, просадочной толщи; |
| B.SW | – | нижняя граница зоны набухания; |
| B.SH | – | то же, зоны усадки; |
| WL | – | уровень подземных вод. |
СОДЕРЖАНИЕ
1. Общие положения
2. Проектирование оснований
Общие указания
Нагрузки и воздействия, учитываемые в расчетах оснований
Нормативные и расчетные значения характеристик грунтов
Подземные воды
Глубина заложения фундаментов
Расчет оснований по деформациям
Расчет оснований по несущей способности
Мероприятия по уменьшению деформаций оснований и влияния их на сооружения
3. Особенности проектирования оснований сооружений, возводимых на просадочных грунтах
4. Особенности проектирования оснований сооружений, возводимых на набухающих грунтах
5. Особенности проектирования оснований сооружений, возводимых на водонасыщенных биогенных грунтах и илах
6. Особенности проектирования оснований сооружений, возводимых на элювиальных грунтах
7. Особенности проектирования оснований сооружений, возводимых на засоленных грунтах
8. Особенности проектирования оснований сооружений, возводимых на насыпных грунтах
9. Особенности проектирования оснований сооружений, возводимых на подрабатываемых территориях
10. Особенности проектирования оснований сооружений, возводимых в сейсмических районах
11. Особенности проектирования оснований опор воздушных линий электропередачи
12. Особенности проектирования оснований опор мостов и труб под насыпями
13*. Особенности проектирования оснований сооружений, возводимых на закарстованных территориях
14*. Особенности проектирования оснований сооружений, возводимых на пучинистых грунтах
15*. Особенности проектирования оснований сооружений, возводимых на намывных грунтах
16*. Проектирование закрепления грунтов
17*. Проектирование искусственного замораживания грунтов
18*. Проектирование водопонижения
Приложение 1. Нормативные значения прочностных и деформационных характеристик грунтов
Приложение 2. Расчет деформаций оснований
Приложение 3. Расчетные сопротивления грунтов оснований
Приложение 4. Предельные деформации основания
Приложение 5. Основные буквенные обозначения
10>10>
















