pb_13-407-01 (524221), страница 27
Текст из файла (страница 27)
(к пп. 8.2.5, 11.13 главы XI)
Значения импульсного коэффициента a при разных удельных сопротивлениях грунта
| Тип заземлителя | Значение импульсного коэффициента при электрическом удельном сопротивлении грунта r, Ом×м | ||||
| До 100 | 100 | 500 | 1000 | 2000 и более | |
| Вертикальный | 0,9 | 0,9 | 0,7 | 0,5 | 0,35 |
| Горизонтальный | 0,9 | 0,8 | 0,6 | 0,4 | 0,3 |
| Комбинированный | 0,9 | 0,7 | 0,5 | 0,3 | - |
Таблица 13
(к п. 8.1.8 главы XI)
| Вид | Место расположения токоотвода | |
| снаружи здания на воздухе | в земле | |
| Круглые токоотводы и перемычки диаметром, мм | 6 | - |
| Круглые вертикальные электроды диаметром, мм | - | 10 |
| Круглые горизонтальные электроды диаметром, мм* | - | 10 |
| Прямоугольные (из квадратной и полосовой стали): | ||
| площадь сечения, мм2 | 48 | 160 |
| толщина, мм | 4 | 4 |
| Из угловой стали: | ||
| площадь сечения, мм2 | - | 160 |
| толщина, мм | - | 4 |
| Трубы стальные с толщиной стенок, мм | - | 3,5 |
____________
* Применяются только для углубления заземлителей и выравнивания потенциалов внутри зданий.
Приложение 2
(к главе XI)
Рис. 1 (к пп. 6.1, 6.4). Отдельно стоящий стержневой молниеотвод:
l - протяженность токопровода от точки А до заземлителя; Sв - наименьшее допустимое расстояние до защищаемого сооружения; Sз - наименьшее допустимое расстояние от заземлителя до металлических коммуникаций; 1 - защищаемое сооружение; 2 - металлические коммуникации
Рис. 2 (к пп. 6.1, 6.3, 6.4). Отдельно стоящий тросовый молниеотвод:
L - расстояние между молниеотводами; L1, L3 - протяженность токопроводов; L2 - высота защищаемого сооружения; Sв1, Sв2 - наименьшие допустимые расстояния от тросового молниеотвода соответственно в точках А и С до защищаемого сооружения; Sз - наименьшее допустимое расстояние от заземления до металлических коммуникаций; 1 - защищаемое сооружение; 2 - металлические коммуникации
Рис. 3 (к пп. 6.3, 11.14). Наименьшие допустимые расстояния от стержневого молниеотвода до защищаемого сооружения
Рис. 4 (к п. 6.3). Наименьшие допустимые расстояния от троса в середине пролета до защищаемого сооружения
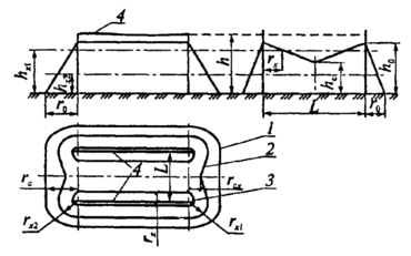
Рис. 5 (к п. 6.3). Наименьшие допустимые расстояния от молниеотвода до защищаемого сооружения
Рис. 6 (к п. 6.8). Схема защиты от заноса высоких потенциалов в хранилище
Рис. 7 (к п. 7.1). Схема зоны зашиты одиночного стержневого молниеотвода:
1, 2 - границы зоны защиты на уровнях земли и высоты защищаемого сооружения соответственно
Рис. 8 (к п. 7.2.1). Схема зоны защиты двойного стержневого молниеотвода:
1, 2, 3 - границы зоны защиты на уровнях земли и высоты защищаемого сооружения соответственно
Рис. 9 (к п. 7.2.2). Схема зоны защиты двух стержневых молниеотводов разной высоты:
1, 2 - границы зон защиты на уровнях земли и высоты защищаемого сооружения соответственно
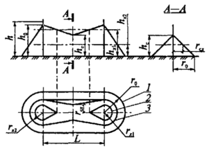
Рис. 10 (к п. 7.3.1). Схема зоны защиты (в плане) многократно стержневого молниеотвода:
L1, L2, L3 - расстояния между молниеотводами; 1, 2 - граница зон защиты на уровнях земли и высоты защищаемого сооружения соответственно
Рис. 11 (к п. 7.4.1). Схема зоны защиты одиночного тросового молниеотвода:
1, 2 - границы зон защиты на уровне земли и высоты защищаемого сооружения соответственно; 3 - трос
Рис. 12 (к п. 7.5.1). Схема зоны защиты двойного тросового молниеотвода:
1, 2, 3 - границы зон защиты на уровнях земли и высот защищаемого сооружения соответственно; 4 - трос
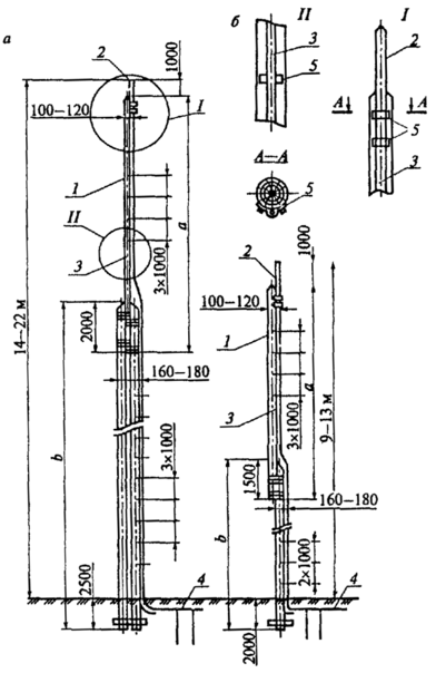
Рис. 13 (к пп. 8.1.1, 8.1.3). Устройство стержневых молниеотводов на деревянных опорах:
а - двух; б - одной
Рис. 14 (к п. 8.1.5). Конструкции молниеприемников из круглой стали (а, б), стальной трубы (в), полосовой стали (г), угловой стали (д):
1 - токоотвод
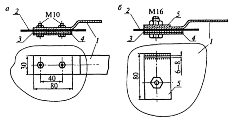
Рис. 15 (к п. 8.1.7). Зажим для присоединения плоского (а) и круглого (б) токоотводов к металлической кровле:
1 - токоотвод; 2 - кровля; 3 - свинцовая прокладка; 4 - стальная пластина; 5 - пластина с приваренным токоотводом
Рис. 16 (к п. 11.11). Двухлучевая (а) и однолучевая (б) схемы расположения электродов при измерении сопротивлений сложных заземлений и одиночных горизонтальных полос:
П - потенциальный электрод; Т - токовый электрод
Рис. 17 (к п. 11.12). Схема измерения сопротивления заземлителей способом трех измерений
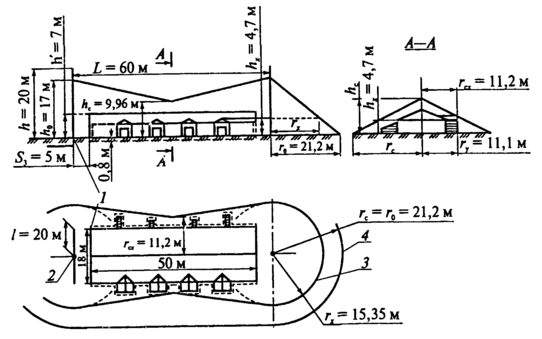
Рис. 18 (к п. 11.14). Схема к примеру расчета молниезащиты хранилища взрывчатых материалов:
1, 2 - заземлители вторичного воздействия и молниеотвода соответственно; 3, 4 - границы зон защиты на уровнях высоты защищенного сооружения и земли соответственно
Приложение 3
(к п. 9 главы I)
| Форма ЖУРНАЛ УЧЕТА ИСПЫТАНИЙ ВЗРЫВЧАТЫХ МАТЕРИАЛОВ* ___________________________________________________________________________ [наименование склада организации (шахты, рудника, карьера и т.п.)] 1. Взрывчатые вещества
___________ * Форма Журнала учета испытаний в зависимости от взрывчатых материалов, установленных видов испытаний может быть изменена. Продолжение
2. Средства инициирования
Продолжение
Рекомендуемая форма | ||||||||||||||||||||||||||||||||||||||||||||||||||||||||||||||||||||||||||||||||||||||||||||||||||||||||||||||||||||||||||||||||||||||||















