terver_2var (514393), страница 2
Текст из файла (страница 2)
3) вероятность попадания случайной величины в интервал
4) математическое ожидание, дисперсию и среднеквадратическое отклонение.
Дано:
Решение:
По формуле Бернулли:
Поставим в соответствие событию: 0 – промах, 1 – одно попадание, 2- два попадания и т.д.
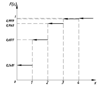
2) значения F(x) – вероятность того, что случайная величина ζ примет значения < x:
4)
Математическое ожидание:
Дисперсия:
Среднеквадратическое отклонение:
Задача №7
Непрерывная случайная величина
имеет плотность вероятности
Найти:
-
функцию распределения F(x)
-
построить графики функции распределения F(x) и плотности вероятности f(x).
-
Вычислить вероятность попадания случайной величины в интервал
-
Найти математическое ожидание, дисперсию, среднее квадратическое отклонение случайной величины
.
Дано:
Решение:
1) Найдем функцию распределения F(x):
2) построим графики f(x) и F(x)
3) Найдем вероятность попадания
в интервал
:
4) Математическое ожидание:
Среднеквадратическое отклонение:
Задача №8
Дана плотность вероятности
случайной величины
.
Найти:
1) математическое ожидание и дисперсию
, используя
для
.
2) плотность вероятности
и построить её график.
3) математическое ожидание и дисперсию
, используя найденную плотность вероятности
.
Дано:
Решение:
1)
Математическое ожидание:
Дисперсия:
2)
Для нахождения плотности случайной величины
, необходимо определить интервалы монотонности ф-ии
:
В данной ситуации нам интересен только интервал
, на котором обратной к функции
является ф-ия
3)
Используя плотность
по формулам
и
Вывод: и тем и другим способом ответы получаются одинаковые.
Задача №9
Дана система двух случайных величин
, закон распределения которой задан таблицей, где
Найти:
Дано:
Таблица 2.
Решение:
2) Найдем математическое ожидание и дисперсию случайных величин
и
:
3) Найдем коэффициенты корреляции
:
Условный закон распределения случайной величины
при условии, что
:
Условный закон распределения случайной величины
при условии, что
:
5) Найдем условные математические ожидания
и
.
Задача №10
Система непрерывных случайных величин
распределена равномерно в области D, ограниченной линиями
Найти:
-
совместную плотность распределения
, предварительно построив область D. -
условные математические ожидания
и
, линии регрессии и построить их график.
Дано:
Решение:
1) Т.к. в области D система распределен равномерно, то
Условная плотность распределения величины
при условии , что
аналогично находим условную плотность распределения случайной величины
при условии, что
График в координатах, где по осям абсцисс-y, по оси ординат-x.
Задача №11
Найти математическое ожидание и дисперсию случайной величины
, где
система случайных величин из задачи 10.
Дано:
Решение:
Находим математическое ожидание:
Находим дисперсию:
















