Отчет по ЛР №16 Анализ на компьютере установившихся гармонических процессов в линейных электрических цепях (1267066)
Текст из файла
Новосибирский государственный технический университет
Кафедра Общей электротехники
Отчёт по лабораторной работе № 16
по ОТЦ
"Анализ на компьютере установившихся гармонических
процессов в линейных электрических цепях"
Факультет: РЭФ
Группа: РТ5-44
Студенты: Пургин Д.В.
Варкентин И.В.
Мошкин К.А.
Преподаватель: Давыденко О.Б.
Новосибирск 2005
Цель работы
Изучить методы автоматизированного анализа установившихся гармонических процессов в линейных электрических цепях (подготовку задачи для решения на компьютере, ввод исходных данных и интерпретацию результатов анализа).
Рабочее задание
-
Подготовиться к работе (сделать заготовку отчёта, выписать исходные данные, провести предварительные расчёты)
-
Выполнить работу на ЭВМ (ввести исходные данные, рассчитать токи ветвей и напряжения обобщённых ветвей методами контурных токов и узловых напряжений, составить баланс мощностей, определить мгновенные значения токов и напряжений ветвей исходной схемы)
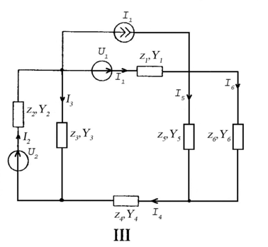
Схема цепи.
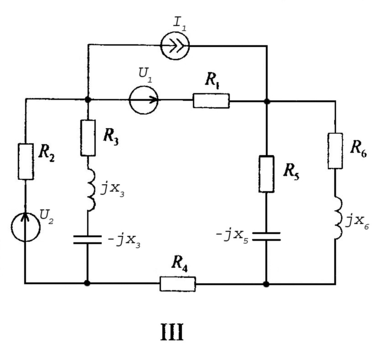
Параметры элементов схемы.
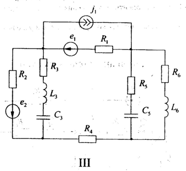
Схема замещения.
Значения параметров в комплексной форме.
Схема с выделенными обобщёнными ветвями
Граф схемы.
Матрицы инциденций.
1. Для метода контурных токов
| ветви контуры | 1 | 2 | 3 | 4 | 5 | 6 |
| I | 0 | 1 | 1 | 0 | 0 | 0 |
| II | 1 | 0 | -1 | 1 | 1 | 0 |
| III | 0 | 0 | 0 | 0 | -1 | 1 |
[ B ] =
2. Для метода узловых напряжений
| ветви узлы | 1 | 2 | 3 | 4 | 5 | 6 |
| (1) | 1 | -1 | 1 | 0 | 0 | 0 |
| (2) | -1 | 0 | 0 | 0 | 1 | 1 |
| (3) | 0 | 1 | -1 | -1 | 0 | 0 |
[ A ] =
Текст программы в среде MathCAD для решения поставленной задачи.
Ввод исходных данных
Array
Z – квадратная матрица комплексных сопротивлений,
U0 – матрица векторов задающих напряжений,
Ik – матрица токов обобщённых ветвей орграфа
I способ: метод контурных токов
Квадратная матрица контурных сопротивлений цепи:
Вектор контурных задающих напряжений цепи:
Вектор комплексов действующих значений контурных токов:
Вектор комплексов действующих значений токов обобщённых ветвей:
Вектор комплексов действующих значений напряжений обобщённых ветвей
(по их комплексным характеристикам в Z-параметрах):
Баланс мощностей:
Pполучаемая = Pотдаваемая – условие баланса выполняется
II способ: метод узловых напряжений
Квадратная матрица комплексных проводимостей обобщённых ветвей:
Квадратная матрица узловых проводимостей цепи:
Вектор узловых задающих токов цепи:
Вектор комплексов действующих значений узловых напряжений:
Вектор комплексов действующих значений напряжений обобщённых ветвей:
Вектор комплексов действующих значений токов обобщённых ветвей
(по их комплексным характеристикам в Y-параметрах):
Баланс мощностей:
Pполучаемая = Pотдаваемая – условие баланса выполняется
Вывод: результаты комплексного анализа гармонического процесса в заданной цепи методами контурных токов и узловых напряжений полностью совпали, что говорит о правильности выполнения каждого метода, при этом сложность обоих методов одинакова.
Определение мгновенных значений токов и напряжений ветвей исходной схемы
Мгновенные значения токов
Мгновенные значения напряжений
Заключение: в данной лабораторной работе мы изучили методы автоматизированного анализа установившихся гармонических процессов в линейных электрических цепях, а именно метод контурных токов и метод узловых напряжений, и установили, что оба метода одинаково точны и дают идентичные результаты при одинаковой сложности их реализации.
Характеристики
Тип файла документ
Документы такого типа открываются такими программами, как Microsoft Office Word на компьютерах Windows, Apple Pages на компьютерах Mac, Open Office - бесплатная альтернатива на различных платформах, в том числе Linux. Наиболее простым и современным решением будут Google документы, так как открываются онлайн без скачивания прямо в браузере на любой платформе. Существуют российские качественные аналоги, например от Яндекса.
Будьте внимательны на мобильных устройствах, так как там используются упрощённый функционал даже в официальном приложении от Microsoft, поэтому для просмотра скачивайте PDF-версию. А если нужно редактировать файл, то используйте оригинальный файл.
Файлы такого типа обычно разбиты на страницы, а текст может быть форматированным (жирный, курсив, выбор шрифта, таблицы и т.п.), а также в него можно добавлять изображения. Формат идеально подходит для рефератов, докладов и РПЗ курсовых проектов, которые необходимо распечатать. Кстати перед печатью также сохраняйте файл в PDF, так как принтер может начудить со шрифтами.
















