Диплом (1234280), страница 4
Текст из файла (страница 4)
Механическая обработка стальных корпусов проводится попарно на универсальных токарных и фрезерных станках с использованием несложных приспособлений (оправок, хомутов).
Испытания опытных МОП [5]. Опытные электровозные МОП со стальными корпусами были изготовлены на Ростовском ЭРЗ, Оренбургском ЛРЗ, Улан-Удэнском JIBPЗ. На Ростовском ЭРЗ и Улан-Удэнском ЛВРЗ корпуса отливались из стали 25Л, на Оренбургском ЛРЗ корпуса изготавливали из стали 3 штамповкой с последующей приваркой бурта.
Первые опытные МОП были установлены на электровозы в 1994 г. в депо Горький-Сортировочный Горьковской дороги, депо Лиски и Россош Юго-Восточной дороги, депо Кавказская и Тимашевская Северо-Кавказской дороги.
В 1995–1996 гг. выпущена в эксплуатацию опытно-промышленная партия МОП со стальными корпусами, которая изготавливалась на Ростовском ЭРЗ и устанавливалась на электровозы при капитальном ремонте. Общее количество МОП в опытно-промышленной партии – 276 комплектов (в комплект входят два вкладыша – верхний и нижний). Вкладыши МОП были установлены на 31 электровоз марок ВЛ80С, ВЛ80К, ВЛ80Т, которые эксплуатировались в восьми депо и на шести железных дорогах в европейской части России. На этих же электровозах часть МОП были серийного изготовления, т. е. латунно-баббитовыми. За эксплуатацией МОП со стальными корпусами велись наблюдения работниками ВНИИЖТа в течение 4 лет с 1994 г. по 1998 г.
Эксплуатационные испытания проводили по специальной программе от момента установки подшипников при заводском ремонте до подъемочного ремонта в депо [5]. В процессе испытаний согласно правилам эксплуатации периодически измеряли зазоры «на масло» и «разбег», которые позволяют устанавливать износ МОП и шеек осей. При осмотрах МОП оценивался характер повреждения баббита и стали. За время наблюдения было два случая замены МОП во время профилактических осмотров по причине местного разрушения баббитового слоя из-за некачественной заливки баббита. Зазоры «на масло» за все время испытаний у опытных МОП несколько меньше, чем у серийных (рисунок 4.2). Наблюдения показали, что МОП со стальными корпусами работают более надежно, чем МОП с латунными корпусами. Такой дефект, как «отлом» бурта, отсутствовал. Пробег электровозов с опытными МОП на конец 1998 г. составлял 300–420 тыс. км.
1 – МОП с латунными корпусами; 2 – МОП со стальными корпусами
Рисунок 4.2 – Изменение зазора «на масло» в МОП электровозов
Ростовский ЭРЗ в настоящее время выпускает серийно МОП со стальными корпусами и баббитовой заливкой, устанавливая их на электровозы при капитальном ремонте.
4.2 Внедрение ультразвуковой дефектоскопии в литейные цеха депо
Наиболее часто в эксплуатации происходит задир моторно-осевых подшипников (рисунок 4.3) [6]. При этом причиной задиров могут быть различные факторы – от недостатка и загрязненности смазки, установки на ось не подогнанных по размеру подшипников, а иногда даже необработанных заготовок до несоответствия бронзы по химическому составу.
Рисунок 4.3 – Задиры в бронзовом слое моторно-осевых подшипников локомотивов
Относительно реже встречаются случаи разрушения МОП в эксплуатации. Как правило, разрушаются половинки МОП, имеющие польстерные окна, и трещины идут от польстерного окна к торцу МОП, особенно если в этих зонах находятся концентраторы напряжений в виде пор или других литейных дефектов либо грубой механической обработки. Так в депо Агрыз характерно огромное количество литейных пор (рисунок 4.4), в том числе и сквозных, при наличии которых данный подшипник по всем нормативным документам нельзя было устанавливать в эксплуатацию.
Рисунок 4.4 – Излом МОП из-за большого количества крупных газовых пор
Причиной образования такого количества литейных пор явилось захолаживание бронзы при отливке и нераскисление ее фосфором.
В дипломном проекте предлагается оснастить литейные цеха ультразвуковым дефектоскопом для проверки новых вкладышей МОП после их отливки. В качестве ультразвукового прибора использовать прибор марки TUD300 представленный на рисунке 4.5 [7].
Рисунок 4.5 – Ультразвуковой прибор марки TUD300 [7]
Ультразвуковой дефектоскоп TUD300 обладает следующими особенностями [7]:
- два способа отображения измерений на дисплее: тип А и тип В;
- три режима обнаружения: совмещенный, раздельно-совмещенный и трансмиссия;
- 10 каналов обнаружения доступны с отдельными параметрами обнаружения и кривыми DAC;
- функция автоусиления;
- контроль и отображение значений эквивалента эха с учетом различных кривых DAC;
- горизонтальные координаты на дисплее изменяются между отрезками звукового пути;
- функция памяти пика;
- во время построения кривой DAC, точки кривой могут повторно редактироваться.
Технические характеристики ультразвукового дефектоскопа TUD300 приведены в таблице 4.1 [7].
Таблица 4.1 – Технические характеристики ультразвукового дефектоскопа TUD300
| Наименование параметра | Значение |
| 1 | 2 |
| Диапазон сканирования, мм | 2,5-5000 |
| Диапазон усиления, дБ | 0-110 |
| D-Delay (сдвиг импульса), мкс | минус 20 до плюс 3400 |
| Р-Delay (задержка датчика), мкс | 0-99,99 |
| Диапазон перестройки скорости УЗК, м/с | 1000-9999 |
| Диапазоны частот, МГц: | 0,2-15 |
| - низкие | 0,2-1 |
| - средние | 0,5-4 |
Окончание табл. 4.1
| 1 | 2 |
| - высокие | 3-15 |
| Вертикальная линейная погрешность, % | 3 |
| Горизонтальная линейная погрешность, % | 2 |
| Динамический диапазон, дБ | 32 |
| Детектирование | положительная полу-волна, отрицательная волна, полная волна и RF (радиочастота) |
| Чувствительность обнаружения, дБ | 50 |
| Режим | эхо-метод, раздельно-совмещенный, сквозной |
| Генератор импульсов | генератор пикового возбуждения |
| Демпфирование, Ом | 50, 150, 400 |
| Подавление | линейный, 0-80 % полной высоты дисплея, шаг 1 % |
| Переключение единиц измерения | мм или дюймы |
| Интерфейс | RS-232 |
| АС Адаптер | 85 - 264 В переменный ток/ 1,0 А, 47 - 63 Гц |
| Диапазон рабочих температур, оС | 0-40 |
| Влажность, % RH | 20-90 |
| Аккумуляторы | литиевые аккумуляторы 4×3,6 В, 4000 мА |
| Время зарядки аккумуляторов, час | 7 |
| Габаритные размеры, мм | 243×173×70 |
| Масса, кг | 1,47 |
4.3 Способ восстановления МОП
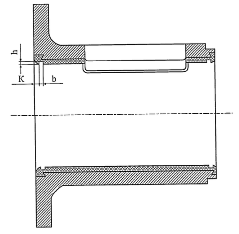
Предлагаемый способ заключается в том, что дополнительно при механической обработке внутри моторно-осевого подшипника, после его расточки под диаметр шейки оси колесной пары, изготавливать кольцевые канавки по краям МОП на расстоянии К от торцов, шириной канавки b и глубиной h (рисунок 4.6) [8].
Рисунок 4.6 – МОП с кольцевыми канавками по краям [8]
Величины размеров зависят от типа МОП. При работе моторно-осевого подшипника трения участки шейки оси колесной пары 2, лежащие в плоскостях канавок, практически изнашиваться не будут, и на шейке образуются кольцевые выступы 1 (рисунок 4.7).
1 – выступы на шейках колесной пары; 2 – ось колесной пары
Рисунок 4.7 – Схема размещения МОП относительно оси колесной пары [8]
В результате формируется лабиринтное уплотнение. Расход масла через сопряжение становится меньше. С увеличением естественного износа рабочей зоны шейки оси колесной пары 2, образовавшиеся выступы на шейках становятся выше 1. И, как следствие этого, расход смазочных материалов еще больше уменьшается, что снижает негативное воздействие на окружающую среду, лабиринтное уплотнение повышает несущую способность масляного клина вкладыша, снижает износ МОП, повышая его ресурс, снижает вероятность попадания моторно-осевой смазки в кожуха зубчатой передачи тяговых двигателей, снижает вероятность попадания влаги и пыли в МОП.
5 РАСЧЕТ СЕБЕСТОИМОСТИ ИЗГОТОВЛЕНИЯ МОТОРНО-ОСЕВЫХ ПОДШИПНИКОВ ЭЛЕКТРОВОЗА 2ЭС5К
5.1 Теоретические основы определения экономической эффективности
Экономическая эффективность производства, перевозок, новой техники и капитальных вложений является критерием целесообразности создания и применения новой техники, реконструкции действующих предприятий, а также мер по совершенствованию производства и улучшению условий труда [9].
Экономическая эффективность капитальных вложений и новой техники в общем виде определяется как соотношение между затратами и результатами, как итоговый показатель качества экономического развития отрасли, предприятия.
Анализ эффективности мероприятий производится по большому кругу показателей стоимостных, натуральных, эксплуатационных и технических. При анализе экономической эффективности капитальных вложений в мероприятия следует помнить, что они дают эффект не сразу, а спустя некоторое время, включающее срок осуществления мероприятия, время основания мероприятий, время основания проектной мощности объекта и достижения расчетных показателей себестоимости, производительности труда и т.д.
Важным требованием к расчету экономической эффективности применяемых решений является сопоставимость сравниваемых вариантов по качественным параметрам техники, фактору времени, по социальным факторам производства, включая влияние на окружающую среду.
При этом необходимо применять одинаковый расчетный срок и выполнять расчеты с одинаковой точностью, а также проводить расчеты на равный объем в год, либо на единицу продукции.















