диплом для архива (1234086), страница 6
Текст из файла (страница 6)
Слои уплотненных отходов находятся в водонасыщенной зоне 6 (ниже уровня фильтрата 7) и в ненасыщенной зоне 8 (выше уровня фильтрата).
При разложении органической составляющей отходов образуется биогаз. Сбор и отвод биогаза на полигоне ТБО производят следующим образом.
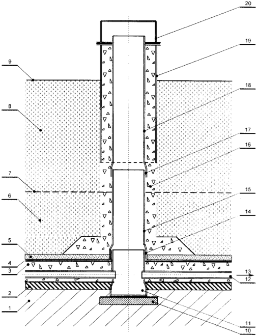
На территории полигона ТБО подготавливают основание 1, на котором монтируют распределенные по площади полигона фундаменты 10, на каждом из которых оборудуют дренажный колодец 11 с открытым верхним концом. На подготовленное основание 1 укладывают многослойный противофильтрационный экран с нижним водоупорным слоем 2, дренажным прослоем 3 с трубчатыми дренами 12, верхним фильтрующим слоем (мембраной заданной проницаемости) 4 и защитным слоем 5. В дренажном прослое 3 многослойного противофильтрационного экрана укладывают горизонтальные трубчатые дрены 12, примыкающие к дренажным колодцам 11 и предназначенные для отвода фильтрата. При этом нижние секции скважины вертикального газового дренажа совмещают с дренажными колодцами трубчатых дрен горизонтального дренажа в основании полигона. Ствол каждой скважины вертикального газового дренажа набирают звеньями 15, 18 и наращивают по мере формирования слоев отходов, при этом нижнее звено 15 выполняют сплошным, без дренажных отверстий (без перфорации стенок) и присоединяют к открытому верхнему концу дренажного колодца 11 с обеспечением герметичности соединения 14, а соединения 17 звеньев между собой выполняются с возможностью взаимных угловых и линейных перемещений секций (т.е. податливыми). Это позволит избежать деформаций (поломок) звеньев в процессе уплотнения отходов. Вокруг ствола скважины устраивают фильтрующую обсыпку 16 при помощи скользящей опалубки 19, представляющей собой отрезок трубы большого диаметра, верхний конец которой перекрывается съемным колпаком-заглушкой 20.
После укладки очередного слоя уплотненных отходов выполняют наращивание скважины вертикального газового дренажа: снимают колпак-заглушку 20, монтируют очередное звено трубы 18, приподнимают опалубку 19 на высоту наращивания, в кольцевое пространство между звеном 18 ствола скважины и опалубкой 19 засыпают материал фильтрующей обсыпки 16, устанавливают на верхнем конце скользящей опалубки и герметично уплотняют колпак-заглушку 20.
Под действием избыточного давления в теле полигона биогаз через фильтрующую обсыпку 16 и отверстия в стенках труб 15, 18 скважины вертикального газового дренажа проникает в ее внутреннюю полость, затем в дренажный колодец 11, откуда, но горизонтальной трубчатой дрене 12 в направлении 13 биогаз отводится к газосборному коллектору и далее для утилизации на газоэнергетическую установку или на факел. При необходимости для повышения эффективности удаления биогаза из массива отходов в полости скважины вертикального газового дренажа понижают давление относительно атмосферного известными способами, например при помощи газодувки.
Далее описанные циклы послойного наращивания повторяют до достижения проектной высоты полигона.
Применение предлагаемого способа сбора и отвода биогаза на полигоне ТБО позволяет обеспечить эффективное и безопасное хранение твердых бытовых и промышленных отходов, снижает загрязнение атмосферы за счет постоянного отвода и утилизации биогаза на протяжении всего срока эксплуатации полигона за счет использования для отвода биогаза надэкрановой дренажной системы, предназначенной для сбора и отвода фильтрата. Такое решение обеспечивает устойчивость газосборной системы независимо от осадок массива отходов, позволяет производить дегазацию массива отходов и отбор биогаза на утилизацию с момента начала образования биогаза параллельно с продолжением работ по складированию отходов.
Формула изобретения
1) Способ сбора и отвода биогаза на полигоне твердых бытовых и промышленных отходов с многослойным противофильтрационным экраном, включающий подготовку основания, монтаж системы вертикального газового дренажа из сети распределенных по площади полигона скважин, собранных из секций и имеющих перфорированные стенки, послойную укладку отходов, наращивание скважин на высоту каждого слоя отходов с применением скользящей опалубки, перекрытие заглушками верхних концов скважин вертикального газового дренажа в каждом цикле наращивания, отличающийся тем, что отвод биогаза из вертикального газового дренажа осуществляют по трубчатым дренам горизонтального дренажа, расположенного в основании полигона, при этом нижние секции труб скважин вертикального газового дренажа выполняют сплошными и присоединяют к дренажным колодцам горизонтальных трубчатых дрен, а верхний конец нижней секции скважины вертикального газового дренажа располагают выше уровня фильтрата над противофильтрационным экраном.
2) Способ по п.1, отличающийся тем, что соединения между секциями выполняют с возможностью взаимных угловых и линейных перемещений секций.
3) Способ по п.1, отличающийся тем, что колодцы, трубы и соединения элементов горизонтального и вертикального дренажа выполняют из антикоррозионных материалов, например из стеклопластика.
На данном рисунке (рисунок 4.6) подробно описана биогазовая установка.
Этапы работы биогазовой установки.
1) Доставка продуктов переработки и отходов в установку. Если отходы жидкие их целесообразно доставлять в реактор с помощью специализированных насосов. Более твердые отходы могут доставляться в реактор вручную, либо по средствам транспортной ленты. В некоторых случаях целесообразно подогреть отходы, дабы увеличить их скорость брожения и распада в биореакторе. Для подогрева отходов используется переходная емкость, в которой продукты переработки доводятся до нужной температуры.
2) Переработка в реакторе. После переходной емкости, подготовленные отходы попадают в реактор. Биореактор представляет собой герметичную конструкцию, изготовленную из особо прочной стали, либо из бетона, имеющего специальное, антикислотное покрытие. В обязательном порядке, реактор должен иметь идеальную тепловую и газовую изоляцию. Даже малейшее попадание воздуха или снижение температуры повлечет остановку процесса брожения и распада. Подогрев реактора осуществляется с помощью трубок с горячей водой. Нагрев воды происходит с помощью вырабатываемого биогаза. Реактор работает без доступа кислорода, в полностью замкнутой среде. Несколько раз в день, с помощью насоса в него можно добавлять новые порции перерабатываемого вещества. Оптимальный температурный режим реактора – около 40 градусов Цельсия. Если температура меньше, то процесс брожения существенно замедлится. Если увеличить температуру, то произойдет быстрое испарение воды, что не позволит отходам полностью распасться.
3) Выход готового продукта. По истечению определенного времени (от нескольких часов, до нескольких дней) появляются первые результаты брожения. Это биогаз и биологические удобрения. В итоге получившийся биогаз попадает в газгольдер (бак для хранения газа). Давление газа в газгольдеры регулируется с помощью клапанов. В случае чрезмерного давления будут задействованы аварийные горелки, которые попросту сожгут лишний газ, и тем самым стабилизируют давление. Получаемый биогаз нуждается в сжатии, после этого его можно использовать, как обычный природный газ. Отдельно следует сказать, что для поддержания работы биогазовой установки требуется около 15% получаемого газа. В свою очередь биологические удобрения попадают в специально подготовленный бак с сепаратором. Происходит разделение на твердые (биогумус) и жидкие удобрения. Биогумус составляет всего лишь около 5% от общего количества получаемых удобрений. Удобрения сразу могут быть использованы по назначению. Дополнительной переработки они не требуют. Работа биогазовой установки непрерывна, в реактор постоянно попадают новые порции перерабатываемого материала, а в газгольдер и сепараторный бак также постоянно попадает газ и биологические удобрения [19].
Рисунок 4.6 Биогазовая установка
1- основание; 2- многослойный противофильтрационный экран;
3- дренажная прослойка; 4- верхний фильтрующий слой;
5- защитный слой; 6- отходы; 7-; 8- отходы; 9-; 10- фундамент;
11- дренажный колодец; 12- горизонтальные трубчатые дрены;
13- направление, куда выходит биогаз; 14- герметичность соединения;
15- звенья; 16- дренажная обсыпка; 17- герметичность соединения;
18- звенья; 19- трубчатая скользящая опалубка;
20- съемный колпак-заглушка.
Биогаз и проблема изменения климата
В последнее время особую актуальность приобрели парниковые свойства метана, содержащегося в биогазе, в связи с проблемой изменения земного климата. Велика вероятность того, что в период с 2008 по 2012 годы вступит в силу так называемый Киотский протокол, в рамках которого развитые страны возьмут на себя обязательства по ограничению выбросов парниковых газов (ПГ), вторым по значению из которых (после углекислого газа) является метан (СН4).
Основной природный источник метана в атмосфере – микробиологический распад органических веществ в анаэробных условиях. Антропогенные источники, в сумме превышающие естественные примерно в два раза, включают технологию выращивания риса, животноводство, анаэробное разложение органики на свалках и в канализационных системах, утечки метана из угольных шахт, нефтяных и газовых месторождений, а также газотранспортных систем [18].
Оценки, сделанные в конце 1980х и 90х годах, показали, что общая эмиссия метана со свалок и полигонов на Земле составляет 3570 млн т/год, или 618% от его общего планетарного выброса в атмосферу. В середине 90х годов глобальная эмиссия метана со свалок была оценена экспертной группой Межправительственной комиссии по изменению климата в 40 млн т/год. При этом отмечалось, что данная величина превышает массу метана, выделяемого угольными шахтами. Комиссия включила свалочный метан в реестр основных ПГ планеты. В опубликованном в 2001 году третьем отчете Комиссии (рабочая группа 1) приводятся данные разных авторов, полученные в 19971999 годах. По этим данным эмиссия метана находится в диапазоне от 35 до 73 млн т/год.
В феврале 2004 года парламент Украины ратифицировал Киотский Протокол. В случае, если Протокол вступит в силу, а сегодня это зависит только от его ратификации Россией или США, присоединившиеся страны возьмут на себя обязательства по ограничению эмиссии ПГ. Одновременно с этим у них появится возможность участвовать в проектах на территории других стран, приводящих к снижению эмиссии ПГ. При этом инвестиции могут быть возвращены за счет передачи единиц снижения эмиссии (ЕСЭ)[1]. Стоимость ЕСЭ будет определяться рыночными механизмами, сегодня она прогнозируется в пределах 310 Евро. Киотский протокол будет действовать в течение пяти лет с 2008 по 2012 годы включительно. Однако, уже сегодня для украинских организаций существует реальная возможность использовать так называемый проектно ориентированный механизм совместного внедрения. При использовании этого механизма, инвестиции в проект могут быть обеспечены за счет «климатических» денег. После реализации проекта инвестор является собственником единиц снижения эмиссии ПГ, полученных в процессе реализации проекта и может продать их на рынке. Уже сегодня существуют организации, готовые покупать ЕСЭ. Например, после ратификации Украиной Киотского протокола у украинских компаний появилась реальная возможность участия в программе ИРАПТ (Erupt), финансируемой Министерством Экономики Королевства Нидерланды. В январе 2004 г. были собраны предварительные заявки в четвертый раунд программы.
Отметим, что проекты создания систем сбора и утилизации биогаза на полигонах ТБО чрезвычайно эффективны с точки зрения проблемы изменения климата. Снижение эмиссии ПГ, равное 50 тыс. тонн СО2экв. в год или 250 тыс. тонн за 20082012 г.г., может быть достигнуто на полигоне, обслуживающем город с населением 350 тысяч жителей. Например, снижение эмиссии ПГ в атмосферу, достигнутое за счет реализации проекта по использованию биогаза на полигоне ТБО Луганска, города с полумиллионным населением, может составить около 70 тыс. т СО2–экв./год [18].
Программы, аналогичные ИРАПТ, развиваются в настоящее время и в других странах, например, Дании, Японии, Канаде, Австрии, Швеции и др.
















