ПЗ (1231563), страница 4
Текст из файла (страница 4)
Рис. 2.7. Конструкция ячейки силового выключателя
1 – низковольтный шкаф;
2 – ниша для дополнительного низковольтного оборудования;
3 – система индикации напряжения;
5 – индикатор готовности к работе коммутационного аппарата;
6 – индикатор выключения нагрузки;
7 – индикатор включения заземления;
8 – таблица обозначения фидеров;
9 – мнемосхема (совокупность сигнальных устройств);
10 – гнезда проверки напряжения;
11 – выключатель;
14 – ручное управление привода заземления;
15 – ручное управление привода ВН;
19 – изолированный ввод для сборной шины;
23 – вводная шина;
25 – пружинный привод трехпозиционного выключателя нагрузки;
27 – трехпозиционный выключателя нагрузки;
30 – ввод подключения заземления;
33 – опорный изолятор;
36 – блокировка переключения между силовым выключателем трехпозиционным ВН;
42 - вакуумный силовой выключатель;
43 – управление приводами;
44 – ручное управление при включения при ручном обслуживании;
45 – механический выключатель;
47, 48, 49– индикаторы;
50 – трехфазный трансформатор тока;
52 – многофункциональная защита;
55 – кабельный канал для прокладки управляющей или кольцевой линии;
56 – опросная блокировка для трехпозиционного выключателя нагрузки;
57 – сборная шина заземления;
58, 59 – перегородка отсека (сборных шин и кабеля);
61 – концевая муфта;
62, 63 – заземление фидеров;
64 – блокировка крышки кабельного отсека в ячейках силового выключателя.
2.4. Разработка системы управления работы электропривода насосной станции
Широкое применение в промышленности в приводах средней и большой мощности для механизмов, работающих с постоянной скоростью получили синхронные двигатели так как обладают рядом преимуществ по сравнению с асинхронными: высокий коэффициент мощности (работа с опережающим cosφ); коэффициент полезного действия мощных синхронных двигателей составляет 0,96-0,98; больший воздушный зазор, чем у асинхронных двигателей (при изнашивании подшипников почти не изменяются свойств синхронных двигателей); отличаются большой перегрузочной способностью; линейно-зависящей от напряжения питающей сети.
Синхронные электроприводы в отношении требований к пусковым режимам и условиям автоматического регулирования возбуждения синхронные двигатели можно разделить на три класса.
Приводы с мало меняющейся нагрузкой. К ним относятся насосы. Мощность этих приводов находится в пределах от нескольких десятков до нескольких тысяч киловатт. Эти приводы обеспечивают пусковой момент Ф; входной момент Ф; и перегрузочная способность Ф. Относятся насосы, вентиляторы, компрессорные турбомашины и др
Приводы с пульсирующей нагрузкой; К этому классу относятся различного рода механизмы возвратно-поступательного движения, поршневые компрессоры и насосы, имеющие мощностью от нескольких сотен до тысячи киловатт; обеспечивают коэффициент kn= 0,4 -1,0; kB = 0,4 - 0,6 и/"'= 1,5 - 2,5.
Привод с резкопеременной нагрузкой. К этой группы приводов относятся буровые лебедки нефтяной промышленности, непрерывные прокатные станы, шаровые мельницы горнорудных предприятий, скиповые лебедки доменных печей и др (мощность от нескольких сотен до десятков тысяч киловатт). Для механизмов этой группы характерно: пуск вхолостую kn = 0,5 -1,0; kB= 0,4 - 0,5; /.., = 2,5 - 3,5 и пуск под нагрузкой kn = 1,2 - 2,0; kB = 1 - 1,5 и /"'=2,5 -3,5. Для повышения устойчивости и улучшения энергетических показателей электропривода необходимо в автоматическом регулировании тока возбуждения.
Современные синхронные двигатели на роторе, кроме обмотки возбуждения (питается постоянным током) имеют специальную пусковую короткозамкнутую обмотку для пуска синхронного двигателя по схеме асинхронного пуска.
Автоматическое управление синхронным приводом предусматривает процессы пуска, синхронизации, торможения и автоматического регулирования тока возбуждения.
Современные синхронные двигатели запускаются при полном или пониженном напряжении. При включении на полное напряжение статорная обмотка через выключатель присоединяется непосредственно к сети. Пуск при пониженном напряжении (если возникает необходимость ограничения пускового тока) применяется с помощью включаемых в статорную цепь реакторов или автотрансформатора. Схема реакторного пуска синхронного двигателя приведена на рисунке 2.8.
В схеме, приведенной на рисунке 2.8 В начале пуска статор присоединяется через реактор Р (выключатель В1 - включен, а В2 – выключен). При достижении двигателем подсинхронной угловой скорости выключателя В2 шунтирует реактор и статор подключается на полное. Автоматизация пуска производится в функции времени.
Рисунок 2.8. Схема реакторного пуска синхронного двигателя
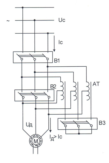
Схема ограничения бросков пускового тока при помощи включения автотрансформатора в цепь статора синхронного двигателя показана на рисунке. 2.9. Сначала включаются выключатели В1 и В3, затем с выдержкой времени отключается выключатель ВЗ и включается В2. По сравнению с реакторным пуском эта схема применять реже так как она сложнее, дороже и менее надежна. Преимущество схемы автотрансформаторного пуска заключающееся в том, что ток, потребляемый из сети, будет меньше, чем при реакторном пуске, так как ток обратно пропорционален напряжению, т. е: Ic/Iд=Iд/Iс , тогда как в реакторном пуске Iд=Iс
Рисунок 2.9. Схема автотрансформаторного пуска синхронного двигателя
При одном и том же пусковом токе, потребляемом из сети, в схеме с автотрансформатором будет обеспечен больший пусковой момент двигателя. Следовательно автотрансформаторный способ пуска рекомендуется, когда требуется повышенный пусковой момент.
В обмотку возбуждения постоянный ток подается от возбудителя (генератора постоянного тока с параллельным возбуждением) или тиристорного преобразователя, (используемого в качестве возбудителя). Возбудитель устанавливается или на валу синхронного двигателя (для быстроходных приводах) или приводится в действие от отдельного асинхронного двигателя с короткозамкнутым ротором (для тихоходных приводов).
При пуске двигателя с помощью токоограничивающих устройств включение тока возбуждения осуществляется в зависимости от жесткости пусковой характеристики в зоне подсинхронной скорости И величины момента нагрузки: - до включения двигателя на полное напряжение (легкий пуск); при полном напряжении (тяжелый пуск). Легкий пуск является более благоприятным в отношении бросков тока при синхронизации и производится при малых моментах нагрузки, вхолостую и небольших моментах инерции привода. При относительно большой нагрузке на валу и значительных моментах инерции привода применяется тяжелый пуск (во время синхронизации может потребоваться большой входной момент).
Когда позволяют питающая сеть и двигатель применяют прямой пуск - это подключение статорной обмотки к сети при глухо подключенном возбудителе (при МС < 0,4 МНОМ ) или С подключением возбудителя при подсинхронной угловой скорости, или с подключением возбудителя через разрядный резистор, который при подсинхронной угловой скорости шунтируется (при МС > 0,4 Мном). На рисунке. 2.10 приведена схема прямого пуска синхронного двигателя низкого напряжения с глухоподключенным возбудителем, насаженным на вал синхронного двигателя.
Рисунок 2.10. Схема прямого пуска СД с возбудителем
Пуск двигателя сводится к включению линейного контактора КЛ.
При некоторой критической угловой скорости происходит возбуждение возбудителя, далее повышение тока возбуждения происходит автоматически по мере роста угловой скорости Критическая угловая скорость составляет около 0,75 синхронной. Сопротивление резистора R в цепи возбуждения возбудителя подбирается так, чтобы возбуждение начиналось при угловой скорости, близкой к синхронной (для уменьшения толчков тока в статоре при синхронизации). Реле минимального напряжения Рф и контактор Кф, контакт которого шунтирует резистор R используются для форсирования возбуждения двигателя при снижении напряжения сети. При восстановлении напряжения сети контактор Кф отключается размыкающим контактом реле Рф.
На рисунке. 2.11 представлена схема управления подачи возбуждения функции тока статора при более тяжелых условиях пуска.
Рисунок 2.11. Схема прямого пуска СД в функции тока статора
Разрядный резистор R1 подключается последовательно с обмоткой возбуждения двигателя и возбудителем. Пуск производится нажатием кнопки КнП, включается контактор КЛ и статор двигателя присоединяется к сети; токовое реле РПВ получает питание от трансформатора тока ТТ. Токовое реле РПВ размыкает свой размыкающий контакт в цепи катушки контактора КВ, а замыкающим контактом включает реле РБ. Далее это реле замыкает свои контакты и становится на самопитание. Реле РБ – необходимо что бы предотвратить включение контактора КВ (за счет времени срабатывания РБ) при подключении двигателя к сети, пока реле РПВ не успело включиться. При асинхронном пуске около подсинхронной угловой скорости ток статора резко уменьшается. Реле РПВ замыкает свой контакт, включая катушку контактора КВ, контакты которого шунтируют разрядный резистор R1 и катушку реле РПВ. Это необходимо, чтобы предотвратить срабатывание реле РПВ броска тока статора при вхождении двигателя в синхронизм.
Для проведения модернизации насосной станции ст.Хабаровск-1 предлагается схема управления работы электроприводов.
Главный элемент водопроводного узла, обеспечивающим подачу воды в магистрали городов, является группа центробежных насосов, приводимых в движение асинхронными трехфазными двигателями. Подача определенного объема воды требуемого давления (определяется необходимым давлением в самой верхней точке магистрали) является основной задачей подсистемы подкачки. Величины требуемых расхода и давления достигаются или изменением положения задвижек непосредственно на выходном трубопроводе насоса или изменением частоты вращения. Метод с использованием задвижек имеет низкий КПД, увеличивает износ запорного и насосного оборудования. Применение метода с изменением частоты вращения предпочтителен, так как валы насосов связаны с роторами электродвигателей напрямую без преобразующих редукторов. Следовательно, изменение скорости вращения валов насосов возможно лишь путем изменения скорости вращения ротора двигателя.
Рассматривать синхронный двигатель в качестве нерегулируемого по угловой скорости привода, можно сформулировать задачи автоматического регулирования в зависимости от условий работы привода следующим образом. Для электроприводов с переменной нагрузкой необходимо стремится к регулированию тока возбуждения по определенному закону (обеспечивая снижения потерь в двигателе и поддержание реактивной мощности).
При кратковременной перегрузке следует, увеличивая возбуждение, повышать статическую устойчивость двигателя (особенно необходимо при понижении напряжения возбудителя).
В приводах с ударной нагрузкой, необходимо обеспечить кратковременное изменение возбуждения для повышения динамической устойчивости. Уменьшение качания ротора относительно синхронной угловой скорости, которые возникают при ударной нагрузке (в результате происходят колебания напряжения в питающей сети и повышение потерь энергии, что неблагоприятно сказывается на режиме работы приводимого механизма) обеспечивает система автоматического регулирования возбуждения.















