Пояснительная записка (1228669), страница 2
Текст из файла (страница 2)
На рисунке 1.1 показан робот, горизонтальная рука которого может вдвигаться и выдвигаться параллельно основанию, двигаться вверх и вниз по вертикальной стойке (оставаясь параллельной основанию), а основание поворачивается вместе с рукой и стойкой вокруг вертикальной оси, образуя рабочую зону, имеющую частично цилиндрическую форму. Это соответствует цилиндрической системе координат, которая определяет точки в пространстве и поэтому подходит для этого типа робота.
Рисунок 1.1 – Робот, действующий в цилиндрической системе координат
1.1.2 Робот, действующий в сферической системе координат
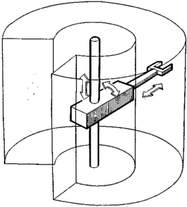
На рисунке 1.2 показан робот, имеющий одну руку, которая может вдвигаться, выдвигаться и вращаться на основании, как и раньше, но использует вращательное вертикальное движение вместо поступательного, образуя в пространстве таким образом частично сферу. Типичные образцы такого рода роботов выпускаются фирмой «Юнимейшн».
Рисунок 1.2 – Робот, действующий в сферической (полярной) системе координат
1.1.3 Робот, действующий в декартовой системе координат
Этот тип робота, рисунок 1.3, обладает тремя взаимно перпендикулярными осями перемещений. Он состоит из стойки, которая движется вверх и вниз, поперечной балки, к которой подвешена стойка, по которой она может двигаться влево и вправо, а балка в свою очередь способна перемещаться вперед и назад. Таким образом, полностью обеспечивается движение по осям х, уи z.
Механические свойства этой конфигурации позволяют широко применять такие роботы там, где требуется высокая точность, например на сборочных операциях.
Рисунок 1.3 – Робот, действующий в декартовой (прямоугольной) системе
1.1.4 Робот, действующий в угловой системе координат
(с рукой, шарнирно сочлененной)
Пример четвертого класса роботов, иногда известных как антропоморфные, приведен на рисунке1.4
Рисунок 1.4 – Робот (рука), действующий в угловой системе координат
Он состоит из способных вращаться соединений, называемых «плечом» и «локтем» (как у человеческой руки), закрепленных на «талии», состоящей из вращающегося основания, которое обеспечивает третью степень свободы. Преимущество такой конфигурации – очень большая рабочая зона, что позволяет минимизировать размеры производственных площадей, необходимых для размещения робота в цехе.
1.1.5 Роботы типа «СКАРА»
В апреле 1981 г. впервые появился робот принципиально новой конструкции, созданный в Японии, названный «СКАРА», рисунок 1.5. SCARA (Selective Compliance Assembly RobotArm) – рука сборочного робота с избирательной податливостью.
Рисунок 1.5 – Робот типа «СКАРА:
Такая конструкция сочетает свойства роботов, действующих в угловой и цилиндрической системах координат. За счет жесткости конструкции в вертикальном направлении роботы типа «СКАРА» могут нести гораздо более высокие полезные нагрузки, чем другие сборочные роботы – до 30 кг.
1.1.6 Параллельно действующий робот (Робот с параллельной кинематикой)
Радикальный отход от традиционных конструкций роботов осуществлен при создании исследовательского робота «ГЭДФЛАЙ». Робот «ГЭДФЛАЙ» имеет диск с инструментами, подвешенный на трех парах стержней. Изменяя длину стержней, можно перемещать рабочий орган по шести степеням свободы.
Робот с параллельной кинематикой изображен на рисунке 1.6
Рисунок 1.6 – Вариант конструкции робота с параллельной кинематикой.
GADFLY (GEC Advanced Device For Assembly) — усовершенствованное как в других роботах, а параллельно, система может быть очень легкой, быстрой и точной. Однако это преимущество сводится на нет из-за малой рабочей зоны. Такие роботы могут найти применение для легких сборочных операций[1].
1.2 Виды захватывающих механизмов
Захватным устройством манипуляторов называется его рабочий орган, предназначенный для захватывания и удерживания предмета производства или технологической оснастки, называемых объектом. ГОСТ 26063—84 устанавливает следующие типы захватных устройств: механические, вакуумные, магнитные. Общим понятием для захватных устройств всех видов является понятие «рабочий элемент». Рабочим элементом называется элемент захватного устройства, вступающий непосредственно в контакт с объектом.
Механическими называются захватные устройства, в которых удерживание объекта осуществляется под действием реакций в точках (зонах) контакта с рабочими элементами, создаваемых двигателем или собственным весом объекта. Механические захватные устройства разделяются на схваты и поддерживающие захватные устройства. Cхватом называется механическое захватное устройство, представляющее собой механизм, удерживающий объект посредством зажима рабочими элементами при их перемещении двигателем. Поддерживающими называются механические захватные устройства, не имеющие подвижных звеньев и представляющие собой опоры, на которых объект удерживается под действием сил тяжести (ковши для захватывания, транспортировки и разливки жидкого металла, крюки, штыри, призматические опорные элементы, лопатки и пр.).
Вакуумными называются захватные устройства, удерживающие объект посредством разрежения воздуха в замкнутой полости рабочего элемента – присоски. Различают активные вакуумные захватные устройства, в которых разрежение воздуха создается принудительно с помощью вакуумных насосов или эжекционных устройств, и пассивные, в которых разрежение воздуха создается за счет его вытеснения при деформировании рабочих элементов.
Магнитными называются захватные устройства, удерживающие объект при действии магнитных сил, создаваемых постоянным магнитом или электромагнитом[2].
1.3 Классификация роботов по назначению
Производственные роботы– это роботы, предназначенные для выполнения тяжелой, монотонной, вредной и опасной для здоровья людей физической работы. Применяются для выполнения различных технологических операций от простого перемещения предметов до сложных сборочных циклов. Производственные роботы бывают: промышленные, строительные, бытовые, сельскогохозяйственные.
Исследовательские роботы. Они служат для поиска, сбора, переработки и передачи информации об исследуемых объектах. К числу таких объектов относятся космическое пространство, поверхности планет, подводное пространство, подземные полости (шахты, пещеры и т. п.), Арктика и Антарктика, пустыни, зараженная местность и другие, труднодоступные для человека области. Примерами таких роботов являются беспилотные летательные аппараты, роботы-саперы, роботы-санитары, различные многоцелевые боевые машины и т.д.
Боевой робот(военный робот) – устройства автоматики, заменяющее человека в боевых ситуациях для сохранения человеческой жизни или для работы в условиях, несовместимых с возможностями человека, в военных целях: разведка, боевые действия, разминирование и т. п.
Учебные роботы – это робот на базе которых происходит изучение с общим принципом работы манипулятора, его пространственное ориентирование и программного обеспечения для его управления.
Первый самый важный этап, по которому необходимо проектировать робота, является определение его рабочей зоной. Рабочая зона промышленного робота – пространство, в котором может находиться рабочий орган манипулятора промышленного робота при его функционировании. Выбор сводится к определениютипаруки робота, в зависимости от системы координат.Выбираем робот с рукой, действующий в угловой системе координат(с рукой, шарнирно сочлененной), такой робот является универсальным, с точки зрения распределения нагрузки и зоны обслуживая.
В учебных целях, рабочею зону необходимо разметить координатной сеткой. Выбор размеров сетки обусловлен точностью с которой нам необходимо позиционировать робота. Разметим плоскость на которой установлено основание робота сеткой с делением 0,1м, по 5 делений в каждую сторону.
Объект роботизации- деталь, изделие, над которым производятся требуемые по технологическому процессу взаимодействия и операции, выполняемые с помощью промышленных роботов и манипуляторов. В нашей работе это будет пластмассовый куб массой 0,1 кг со стороной равной 0,05 м.
После выбора объекта роботизации, необходимо подобрать захват. Выбор захватного механизма определён формой и массой изделия, которое необходимо захватывать и удерживать в процессе его перемещения. Захвату необходимо сообщать такое усилие, чтобы в местах соприкосновения с изделием возникала сила трения покоя, а так жене возникали существенные механических повреждений. Универсальный двухпальцевой захват изображён на рисунке 1.7.
Рисунок 1.7 – Универсальный двухпальцевой захват
Выбор звеньев манипулятора главным образом зависит от рабочей зоны. Манипулятор по своему функциональному назначению должен обеспечивать перемещение объекта в пространстве по заданным координатам. В разрабатываемом роботе-манипуляторе будет реализовано четыре степени свободы, что обеспечит движение по координатам в пространстве, при этом не сильно усложнит конструкцию.
Составление кинематической схему манипулятора. Кроме различия в распределении степеней подвижности вдоль руки робота существенное значение имеет также различные в соотношениях геометрические размеры отдельных ее звенье. Кинематическая схема руки должна обеспечить захват в любой точке заданной рабочей зоны. Для работы в плоскости основания достаточно двух плеч, а для увеличения трёхмерной рабочей зоны необходимо вынести первое плечо на некоторую высоту, пусть будет h = 0,2м, тогда длина двух плеч определиться по формуле:
, (1.1)
где p = 0,5 м – максимальная длина рабочей зоны.
Подставив данные в формулу (3.1), получим:
.
Так как будет два звена руки, полученную длину необходимо разбить на 2 участка. Деление следует осуществить в пропорции приближённому к золотому сечению, это позволит сместить центр масс ближе к основанию робота.
В качестве материала плеч будем использовать алюминиевый профиль AMr3C, он обладает оптимальными свойствами: удельной массой, упругостью, стоимостью. Рассмотрим нагрузки в положении максимально приложенных сил,
. Рассмотрим кинематическую схему рисунок 1.9.
.
Рисунок 1.8 – Кинематическая схема
Выбираем двигатель M3, для захватывающего устройства: Для двухпальцевого ЗУ с двумя подвижными рабочими элементами захвата симметричными относительно оси Х и перемещающиеся симметрично относительно той же оси для расчёта Sтр можно воспользоваться упрощённой методикой, для полезной грузоподъёмностью массы m по формуле[2]:
(1.2)
где С– безразмерный коэффициент, для электропривода
;
= 1- 2,5 – корректирующий коэффициент ( k> 2 при удержании объекта со смещённым центром масс);















