Пояснительная записка (1222980), страница 5
Текст из файла (страница 5)
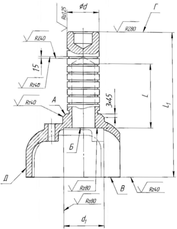
Рисунок 2.11 – Крышка головки шатунов [5]
2.13 Ремонт поршня цилиндра низкого давления
Поршень забрать со стеллажа разборки транспортировать на позицию дефектации используя тележку цеховую и уложить на стеллаж. Осмотреть поршень визуально на наличие трещин и забоин, лупой ЛП-4х ГОСТ 394-75, а затем проверить поршень дефектоскопом, измерить на овальность штангенциркулем ГОСТ 16673, при наличии овальности более 0,045 мм поршень заменить. Поршень забрать со стеллажа разборки транспортировать на позицию ремонта используя тележку цеховую. Используя приспособления для сьемки кольца, снять четыре кольца с поршня. Затем поршень обмерить микрометром с ценой деления 0,01 мм ГОСТ 6507-78 в пределах размеров. Далее очистить поршень от нагара, используя шабер и шкурку шлифовальную. Развернуть овальность отверстия поршня под палец разверткой ГОСТ 13779-77. Подать поршни на механический участок для расточки ручьев на следующую градацию и обратно на тележке транспортной цеховой. Затем на токарно-винторезном станке проточить поршни под ручьи на следующую градацию, послед канавки поршня зачистить от заусенцев шабером.
Поршень забрать со стеллажа разборки транспортировать на позицию дефектации используя тележку цеховую и уложить на стеллаж. Осмотреть поршень визуально на наличие трещин и забоин, лупой ЛП-4х ГОСТ 394-75, а затем проверить поршень дефектоскопом, измерить на овальность штангенциркулем ГОСТ 16673, при наличии овальности более 0,045 мм поршень заменить. Поршень забрать со стеллажа разборки транспортировать на позицию ремонта используя тележку цеховую. Используя приспособления для сьемки кольца, снять четыре кольца с поршня. Затем поршень обмерить микрометром с ценой деления 0,01 мм ГОСТ 6507-78 в пределах размеров. Далее очистить поршень от нагара, используя шабер и шкурку шлифовальную. Развернуть овальность отверстия поршня под палец разверткой ГОСТ 13779-77. Подать поршни на механический участок для расточки ручьев на следующую градацию и обратно на тележке транспортной цеховой. Затем на токарно-винторезном станке проточить поршни под ручьи на следующую градацию, послед канавки поршня зачистить от заусенцев шабером. Внешний вид поршня цилиндра низкого давления приведён на рисунке 2.12.
Рисунок 2.12 – Поршень ЦНД [5]
2.15 Ремонт корпуса коробки клапанной цилиндра низкого давления
Корпус клапанной коробки транспортировать краном консольным используя чалочное приспособление с стеллажа разборки на участок дефектации, уложить. Осмотреть визуально корпус клапанной коробки на предмет выявления следующих дефектов: трещин и сколов, используя лупу ЛП-4х ГОСТ 394-75. При наличии трещин клапанную коробку заменить, при наличии отколов ребер коробки более допустимых, заметить коробку, а затем проверить корпус коробки дефектоскопом. Транспортировать корпус коробки со стеллажа дефектации, на стеллаж ремонта краном консольным используя чалочное приспособление. Очистить посадочные места от прокладок шабером в пределах размера. Затем шпильки М16х1,5х20 резьбу проверить по размеру, пользуясь калибром резьбовым ГОСТ 2916-68. Далее используя ключ ГОСТ 2839-71 шпильки с негодной резьбой М16х1,5х20 вывернуть. Резьбу в головке М16х1,5х20 по размеру проверить, шпильку М16х1,5х20 завернуть гаечным ключом ГОСТ 2839-71. Затем шпильки М12х1,5х25 резьбу проверить по размеру, пользуясь калибром резьбовым ГОСТ 2916-68. Далее используя ключ ГОСТ 2839-71 шпильки с негодной резьбой М12х1,5х25 вывернуть. Резьбу в головке М12х1,5х25 по размеру проверить, шпильку М12х1,5х25 завернуть гаечным ключом ГОСТ 2839-71. Далее используя станок для притирки клапанных пластин и седел ТК-412-67 посадочные места под клапан притереть поверхности. При этом размеры должны быть выдержаны в пределах допуска. Затем на стенде для испытания клапанных коробок, коробку заглушить и отпрессовать давлением 2 Мпа, пользуясь гаечным ключом ГОСТ 2839-71 и молотком слесарным ГОСТ 2310-77. Задиры и риски на поверхностях В и Б зачистить в пределах размеров, шкуркой шлифовальной ГОСТ 13344-79. Внешний вид корпуса коробки клапанной приведён на рисунке 2.13.
Рисунок 2.13 – Корпус коробки клапанной [5]
2.16 Ремонт крышки всасывающего клапана
Крышку забрать со стеллажа разборки транспортировать на позицию ремонта используя тележку цеховую и установить в тисках слесарного верстака. Отвернуть гайки М10х10х15, крепление крышки гаечным ключом ГОСТ 2838-71, затем гайку М10х1-6Н ослабить, винт вывернуть. Далее снять крышку диафрагмы со шпилек и уложить на стол, грибок вынуть и уложить на стол. Затем фланец крышки, очистить от прокладок крышку всасывающего клапана, используя шабер. В ванне с моющем раствором помыть детали крышки всасывающего клапана, затем осмотреть детали внешним осмотром. Вывернуть шпильки М10х1-6, калибром резьбовым ГОСТ 2016-68 проверить резьбу. Резьбу в гайках М10х1-6 проверить, используя пробку резьбовую ГОСТ 4810-69, калибром резьбовым ГОСТ 2016-68 резьбу винтов М10х1-6 проверить. Проверить резьбу отверстий по размерам сквозных и глухих. Используя слесарным молоток ГОСТ 2310-77 и зубило слесарное ГОСТ 7211-72, разделить трещину в фланце V образного под заварку. Крышку подать на заварку и обратно. Затем заварить трещину электродом ОЗЧ-1, используя сварочный агрегат. На слесарном верстаке шов зачистить напильником ГОСТ 1465-69. Крышку всасывающего клапана подать на механический участок и обратно, используя цеховую тележку. На токарно-винторезном станке используя резец ГОСТ 18883-73 отверстие по размеру расточить под запрессовку втулки. Используя резец ГОСТ 18883-73 и сверло ГОСТ 17275-71 втулку бронзовую выточить, затем втулку развернуть до размера разверткой цилиндрической ГОСТ 13779-77. Далее метчиком ГОСТ 3266-71 резьбу М12х1,2-6Н нарезать два отверстия по размеру. Запрессовать втулку в крышку на прессе. Установить в корпус упор всасывающего клапана. Затем вставить грибок в отверстие упора. Гаечным ключом ГОСТ 2839-71 шпильки М10х1,0-6 ввернуть и поставить на них резиновые прокладки. Затем одеть крышку диафрагмы на три шпильки. Гаечным ключом ГОСТ 2839-71 винты М10х1,0-6 ввернуть и гайки на шпильки М10х1,0-6 завернуть. Осмотреть крышку в сборе. Внешний вид крышки всасывающего клапана приведён на рисунке 2.14.
Рисунок 2.14 – Крышка всасывающего клапана [5]
2.17 Ремонт упора
Упор подать в гальваническое отделение и обратно на рабочее места, используя цеховую тележку. В ванне гальванической упор подготовить к хромированию. Закрепить упор в слесарном верстаке. Задиры, забоины, риски на поверхностях устранить напильником ГОСТ 465-69. Шлифовать поверхности шлифовальной и шкуркой ГОСТ 3344-79 для гальванического восстановления. Упор подать на механический участок и обратно на рабочее место, используя цеховую тележку. Поверхность Б клапана проточить по размеру, на токарно-винторезном станке, используя резец ГОСТ 8871-73. На круглошлифовальном станке поверхность упора шлифовать после осталивания в пределах чертежного размера. Затем притереть поверхность упора по посадочному месту крышки всасывающего клапана. С помощью напильника ГОСТ 1465-69 и шкурки шлифовальной ГОСТ 3344-79 устранить риски задиры на поверхностях. Внешний вид упора приведён на рисунке 2.15.
Рисунок 2.15 – Упор [5]
2.18 Ремонт масляного насоса
Корпус заменяется при наличии:
- трещин;
- увеличения диаметра средней полости более 53 мм;
- уменьшения высоты корпуса до величины менее 19,8 мм.
При увеличении диаметра средней полости до 53 мм ставятся новые удлиненные лопасти высотой 13 мм. При этом биение торцовых поверхностей относительно поверхности средней полости допускается не более 0,02 мм.
При уменьшении высоты корпуса до 19,8 мм для обеспечения зазора в пределах от 0,035 до 0,076 мм между торцом валика и крышкой разрешается прошлифовать торцовую поверхность валика до размера 19,8 мм и довести шлифованием размер лопасти по длине до 19,76 мм.
Поверхности корпуса притираются к сопрягаемым поверхностям крышки и фланца. При этом площадь прилегания по краске должна быть не менее
50 %. В отремонтированном корпусе допускается отклонение от перпендикулярности поверхности отверстия диаметром 52 мм к плоскости А не более 0,05 мм на длине 100 мм.
При износе отверстия более 1,0 мм обработать до допускаемого размера с постановкой при сборке болтов М12-6g. При износе до 0,3 мм, овальности или конусности восстановить хромированием, при большем износе осталиванием с последующей обработкой до чертежного размера и одновременной проверкой торцов поверхности А. При износе обработать в сборе с крышкой и фланцем в пределах допускаемого размера с постановкой при сборке штифта соответственно увеличенного диаметра. Внешний вид масляного насоса приведён на рисунке 2.16.
Рисунок 2.16 – Масляный насос [5]:
1 – крышка; 2 – корпус; 3 – фланец; 4 – валик; 5 – пружина; 6 – штифт; 7 – лопасть; 8 – клапан редукционный
2.19 Ремонт вентилятора компрессора
Ось вентилятора заменяется при наличии:
- трещин;
- сорванных ниток резьбы, повреждений или износа резьбы;
- уменьшении диаметра до величины менее 14,8 мм.
Износ цилиндрической поверхности оси по диаметру 15 мм не более
0,2 мм следует восстанавливать хромированием, при большем износе останавливаем с последующей обработкой до чертежного размера.
Возможные дефекты оси и способы их устранения:
При износе поверхности d износ до 0,2 мм восстановить хромированием, при большем износе осталиванием с последующей обработкой до чертежного размера и проверкой торцевого биения поверхности С. При этом размер L допускается доводить до 38,7 мм. При износе, срыве ниток резьбы ось заменить.
Лопасть вентилятора заменяется при наличии: трещин и надрывов, потери геометрической формы частей лопасти, уменьшении диаметра 403 мм до 398 мм, увеличении диаметра под болты 9 мм до 9,5 мм.
Незначительные изгибы устраняются с соблюдением конфигурации согласно чертежу. Радиальное биение конца лопасти относительно геометрического центра осей отверстий допускается не более 1,0 мм. Колесо подвергается статической балансировке. Допускается дисбаланс не более 25 г/см. Дисбаланс более 25 г/см устраняется сверлением отверстий диаметром 12 мм на диске шкива или проверкой резцом по контуру детали. Для восстановления баланса разрешается также приваривать в любом месте колеса два балансировочных груза общей массой не более 30 г. После балансировки колесо испытывается на разнос при числе оборотов 2100 об/мин, в течение 10 мин.
Бандаж вентилятора при наличии изгибов выправляется, дефектные сварные швы удаляются и вновь завариваются, поврежденная сетка ограждения заменяется. Корпус кожуха при наличии потертостей заменяется. Внешний вид вентилятора компрессора приведён на рисунке 2.17.
Рисунок 2.17 – Вентилятор компрессора [5]
2.20 Ремонт секции радиатора и крышки холодильника
Вывариваются в ванне с 10 % раствором каустической соды с последующей продувкой каждой трубки острым паром.
Секция радиатора после очистки подвергается испытанию на плотность сжатым воздухом при давлении 0,6 Мпа, в водяной бане. Выявление пузырей не допускается. Трубки, имеющие трещины или обрывы, заменяются. Концы трубок, неплотно прилегающие во фланцах, развальцовываются. Охлаждающие ребра секции выправляются. Фланцы при наличии трещин заменяются. Отклонение от плоскостности привалочной поверхности фланцев допускается не более 0,15 мм. После ремонта секцию радиатора необходимо опрессоватъ сжатым воздухом давлением в водяной бане в течение 10 мин. Появление пузырей не допускается. Крышки и патрубки заменяются при наличии: трещин, откола привалочных фланцев, износов, превышающих допускаемые размеры.
В отремонтированных крышках и патрубках допускается: отклонение от перпендикулярности поверхности относительно привалочной поверхности крышки не более 0,15 мм отклонение от плоскостности привалочных поверхностей фланцев крышки и патрубков не более 0,15 мм.
При износе, срыве или смятии резьбы, перерезать резьбу на следующий допускаемый размер. При износе отверстий под болты крепления, обработать до допускаемого размера. При задирах и забоинах на торцевой поверхности, обработать в пределах допускаемого размера со снятием минимально необходимого слоя металла. При износе отверстий под болты крепления, обработать до допускаемого размера. При задирах и забоинах на торцевой поверхности, обработать в пределах допускаемого размера со снятием минимально необходимого слоя металла. Сборка холодильника производится в специальном приспособлении, обеспечивающем: взаимные расположения отверстий фланцев крышки, патрубников и угольников соеденительных пластин, соответственно расположению шпилек на корпусе компрессора. Поверхности фланцев крышки и патрубков должны лежать в одной плоскости. Допускается смещение поверхности фланцев крышки и патрубков от общей плоскости не более
0,15 мм. Отклонение от параллельности привалочных поверхностей фланцев патрубков относительно поверхности фланца верхней крышки не более 0,2 в габаритах фланцев. Холодильник после сборки испытывается на плотность соединений под давление сжатого воздуха 6 кгс/см2 в водяной бане. Появления пузырьков не допускаются. Испытания проводятся без предохранительного клапана. Внешний вид холодильника приведён на рисунке 2.18.
Рисунок 2.18 – Холодильник компрессора [5]
2.21 Ремонт сапуна, фильтров
Фильтры, и сапун после снятия промываются в керосине и продуваются сжатым воздухом. Сетки фильтров ремонтируются или заменяются. Внешний вид фильтра приведён на рисунке 2.19.















