Пояснительная записка (1222980), страница 3
Текст из файла (страница 3)
Протереть поверхности корпуса керосином ТУ 38.401-58-10-01 используя салфетки безворсовые ГОСТ 21220-75, прокладки очистить шабером. Внутренние поверхности корпуса компрессора обмыть керосином, очистить используя молоток слесарный 7850-0102 ГОСТ2310-77, шабер и напильник 2820-0067 ГОСТ 1465, затем протереть поверхности корпуса насухо. Корпус компрессора заменить при наличии сквозных и не сквозных трещин длиной более 50 мм, в количестве более 3-х штук, в том числе и ранее заваренных; трещин в посадочном месте подшипника; отколах опорных лап, износов превышающие допустимые. При осмотре корпуса особое внимание обратить на возможные трещины в местах крепления цилиндров и в переходах от боковых стенок корпуса к лапам. Обмелить корпус используя мел ГОСТ 17498-72, ацетон технический ГОСТ 2768-84 и обстучать молотком.
Проверить резьбы шпилек и отверстий под них резьбовыми калибрами, при наличии сорванных ниток на резьбе или при изношены, их перерезать на следующие градационные размеры:
Резьбу d1 M16x2 на М18х2, резьбу d4 М10х1,5 на М12х1,5, резьбу d6 М12х1,75 на М14х1,75.
В этом случае шпильки заменить на ступенчатые.
Проверить размеры посадка под переднюю крышку, посадка под масляный насос, овальность и конусность не более 0,07 мм оставлять без исправления. При больших дефектах корпуса передать для обработки поверхности в пределах допускаемых размеров, посадка под подшипник проверить в трех точках овальность не более 0,03 мм оставлять без исправлений. При износе корпуса подать для расточки отверстия и поставить втулки толщиной стенки не менее 5 мм. При износе, овальности или конусности отверстий обработать в пределах допуска. При наличии трех и более отверстий под монтажный штифт передать на заплавку. При износе, овальности отверстий корпус передать на механическую обработку в пределах допуска, и установить ремонтную втулку. При наличии рисок и забоин на привалочных плоскостях корпуса глубиной более 0,3 мм и площадью более 10 см2 передать корпус на механическую обработку в пределах допуска, используя следующие инструменты: молоток ГОСТ 2310-77, лупа ЛП1-4-х ГОСТ 7594-75, нутромер HM600 ГОСТ10-75, линейка 250, 500 ГОСТ 427-75, штангенциркуль ШЦШ 0-400 и
ШЦ 250/630 ГОСТ 166-89, калибр для метрической резьбы от 10 до 18 мм ГОСТ 18465-73 [5].
Далее засверлить концы несквозной трещины корпуса компрессора (при их наличии) под заварку длиной до 50 мм сверлом 5-8 мм. Отверстия для лучшего провара раззенковать на 1/2-1/3 толщины стенки.
Разделать трещину под сварочный шов V образно под углом 70-80 °с закруглением к вершине R=3 мм. Разделка трещин электродуговой или газовой сваркой не разрешается. Поверхности прилегающие к месту разделки под сварку, зачистить по обе стороны от кромки разделки на ширину 15-20 мм, использовать машинку ручную пневматическую сверлильную ГОСТ 10210-83, сверло спиральное с цилиндрическим хвостиком ГОСТ 4010-77, молоток слесарный ГОСТ 2310-77, зубило слесарное ГОСТ 7211-72 [5].
При помощи крана консольного ПТО-069.00, переместить корпус компрессора на цеховую тележку, корпус зачалить и транспортировать к сварочной кабине, уложить корпус на сварочный стол. Используя защитную каску ГОСТ 39.124-81, стол сварщика, электропечь ЭВП-1000, сварочный пруток ЛО60 ГОСТ 16130-72, бура ГОСТ 8429-77, ацетилен ГОСТ 5757-75, кислород ГОСТ 5583-78. Уложить корпус в электропечь и выдержать при температуре 300-350 °С в течении одного часа. Вынуть нагретый корпус из печи и передать ее на сварочный стол затем зажечь горелку и выставить рабочее пламя. Нагреть места разделки трещины газовым пламенем до появления легкого свечения металла, равномерным слоем нанести на разогретую разделку буру, произвести повторный нагрев разделки до полного расплавления буры. Затем произвести пайку разделки, при этом обеспечивать плавный переход наплавленного валика к основному металлу. Осмотреть место пайки, при обнаружении пор, несплавлений, наплывов произвести подпайку дефектных мест. Перевернуть корпус на 180°, повторить предыдущие операции с нагрева разделки трещины газовым пламенем, а затем произвести пайку разделки трещины с внутренней стороны корпуса, используя следующие инструменты: горелка сварочная Г-3 «Звезда» ГОСТ 1077-79Е, очки газосварщика ГОСТ 12.4.003-85, рукавицы ГОСТ 12.4.019-75, щетка металлическая ОСТ 17830, очки защитные ОЗЧ-76 ГОСТ 12.4.0133-97. После снять корпус со стола и уложить в электропечь до полного остывания.
При помощи крана консольного ПТО-069.00, переместить корпус компрессора на цеховую тележку, корпус зачалить и транспортировать на радиально-сверлильный станок, используя защитную каску ГОСТ 39.124-81, станок радиально-сверлильный 2М55, сверло спиральное с коническим хвостовиком ГОСТ 10903-77. При износе отверстия d8 свыше допускаемого рассверлить под ближайший градационный размер, зенковать на глубину 4 мм. Далее на станке координаторно-расточном используя нутромер микрометрический HM-175 ГОСТ 9244-75, индикатор часового типа ИЧ-10 ГОСТ 577-68, штангенглубиномер ШГ–160-005 ГОСТ 162-90, резец расточный (эльбор) ТУ2–035-861-82. При износе отверстия d2 (гнездо под шарикоподшипник) расточить. Установить корпус на стол станка и выставить по поверхностям d и d3 c точностью до 0,03 мм. После расточки поверхности d2, заверить торец и снять фаску для постановки кольца. Затем снять корпус со станка для запрессовки втулки [5].
При помощи крана консольного ПТО-069.00, переместить корпус компрессора на цеховую тележку, корпус зачалить и транспортировать к прессу, одев защитную каску ГОСТ 39.124-81. Используя пресс гидравлический и оправку для запрессовки цеховую, установить корпус компрессора на тележке пресса, затем втулку и на неё отправку для запрессовки, далее запрессовать втулку в корпус до упора.
При помощи крана консольного ПТО-069.00, переместить корпус компрессора на цеховую тележку, корпус зачалить и транспортировать к прессу, одев защитную каску ГОСТ 39124-81. Используя станок координатно-расточный, нутромер микрометрический HM-175 ГОСТ 9244-75, индикатор часового типа ИЧ-10 ГОСТ 577-68, штангенглубиномер ШГ-160-005 ГОСТ 162-90, резец расточный ТУ2-035-861-82. Установить корпус на стол станка и выставить по поверхностям d и d3 c точностью до 0,03 мм, затем точить поверхность d2 кольца снять корпус со станка.
При помощи крана консольного ПТО-06900, переместить корпус компрессора на цеховую тележку, корпус зачалить и транспортировать на ремонтную позицию, одев защитную каску ГОСТ 39124-81. Используя машину пневматическую ручную шлифовальная ГОСТ 12634-67, круг шлифовальный для зачистки швов Д80х3, 5х6 ГОСТ 51684-72, напильник ГОСТ 1465-80, ветошь обтирочная. Зачистить сварочные швы наждачным камнем установленным на пневматической машинке, заподлицо с основным металлом, зачистить заусенцы после расточки. Далее очистить корпус от грязи, обдуть, протереть ветошью.
Технологический контроль. Проверить плотность сварных швов цветной капиллярной дефектоскопией, используя комплект расходных материалов для цветной капиллярной дефектоскопии пенетрант индикаторный СИМ-1
ТУ 24.11.042-93.
Затем места сварочных швов после их зачистки окрасить автонитроэмалью, допускается грунтовкой ГФ-020 ТУ 610-1642-77, ПФ-020 ГОСТ 18186-79 или ФЛ-03К ГОСТ 9109-81, используя кисть молярную ГОСТ 10597-70.
Далее поврежденную резьбу в отверстиях под шпильки перерезать под следующий размер с поставкой шпилек увеличенного диаметра, а старую резьбу удалить сверлом, затем резьбу нарезать. Овальность места под подшипник 0,03 мм вывести по размеру шабером. Овальность места под крышку 0,07 мм вывести по размеру шабером. Затем задиры, риски на поверхностях зачистить в пределах допуска, при овальности и конусности более 0,1 мм отверстий d7, d5, d8 развернуть на подускаемый размер. При износе отверстия d8 свыше допускаемого устанавливать ремонтную втулку после сверления отверстие развернуть, затем установить втулку до упора в лапу с натягом
0,003-0,02 мм. Дальше установить недостающие и ступенчатые шпильки, очистить корпус от стружки, обдуть, протереть ветошью, использовать машинку ручную пневматическую сверлильную ГОСТ 10210-83, сверло спиральное с цилиндрическим хвостиком ГОСТ 4010-77, метчик машино-ручной М18, М14, М12 ГОСТ 3266-71, шабер цеховой, молоток слесарный ГОСТ 2310-77, шкурка шлифовальная ГОСТ 13344-79 ,штангенциркуль ШЦ 0-400 и ШЦ
250-360 ГОСТ 166-89, линейка ГОСТ 427-75, развертки ГОСТ 13778-77, ключи гаечные ГОСТ 2839-80, шпильковерт эксцентриковый ОПР-0022 (М10, М12, М14, М16), ветошь обтирочная.
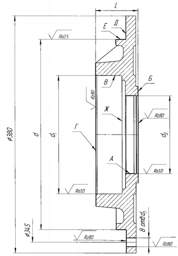
При помощи крана консольного ПТО-069.00, переместить корпус компрессора на цеховую тележку, корпус зачалить, транспортировать и установить на стенд сборки. Внешний вид корпуса приведён на рисунке 2.1.
Рисунок 2.1 – Корпус компрессора КТ-6 [5]
2.3 Ремонт крышки корпуса передней
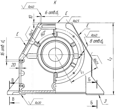
При помощи крана консольного ПТО-069.00, крышку корпуса зачалить и транспортировать со стеллажа дефектации до ремонтной позиции, уложить, одев защитную каску ГОСТ 39124-81. Зачистить крышку напильником ГОСТ 1465-69, затем шабером очистить поверхности крышки от накипевших прокладок. Используя нутромер микрометрический ГОСТ 9244-75 место под подшипник измерить в трех точках. Овальности по месту посадки подшиника свыше 0,1 мм убрать шабером. При помощи крана консольного ПТО-069.00, крышку корпуса зачалить и транспортировать с места ремонта до токарной позиции, уложить, одев защитную каску ГОСТ 39124-81. Диаметр по размеру расточить под запрессовку ремонтной втулки толщиной не менее 5 мм используя токарно-винторезный станок ТК62, резец расточный. Затем зачистить забоины и задиры на поверхности в пределах размеров используя шкурка шлифовальная ГОСТ 13344-79. Далее риски, задиры, забоины устранить на поверхности обработать по размеру, риски, задиры, забоины устранить на поверхности обработать по размеру используя токарно-винторезный станок ТК62, резец ГОСТ 18873-73. При помощи крана консольного ПТО-069.00, крышку корпуса зачалить и транспортировать на участок газовой сварки, уложить, одев защитную каску ГОСТ 39124-81. Наплавить поверхность Д газовой сваркой для восстановления размера, использовать газовую горелку цеховую, латунный пруток марки ЛО60-1 или ЛО60-2 ГОСТ 5527-70. При помощи крана консольного ПТО-069.00, крышку корпуса зачалить и транспортировать на механический участок, уложить, одев защитную каску ГОСТ 39124-81. Расточить отверстия поверхности на размер, токарно-винторезный станок ТК62, резец ГОСТ 18873-73. При помощи крана консольного ПТО-069.00, крышку корпуса зачалить и транспортировать на участок ремонта, уложить, одев защитную каску ГОСТ 39124-81. Задиры, забоины устранить в отверстии разверткой в пределах размера, используя развертку ГОСТ 13779-77. При помощи крана консольного ПТО-069.00, крышку корпуса зачалить и транспортировать на участок сборки, уложить, одев защитную каску ГОСТ 39124-81. Внешний вид крышки корпуса передней приведён на рисунке 2.2.
Рисунок 2.2 – Крышка корпуса передняя компрессора КТ-6 [5]
2.4 Ремонт цилиндр высокого давления
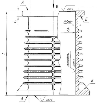
При помощи крана консольного ПТО-069.00, цилиндр высокого давления зачалить и транспортировать на ремонтную позицию, уложить, одев защитную каску ГОСТ 39124-81. Очистить цилиндр от прокладок используя шабер. Цилиндр визуально осмотреть на предмет следующих дефектов: трещины, используя лупу ЛП1-4х, цилиндр при наличии трещин восстановлению не подлежит. Обмерить размеры используя нутромер микрометрический ГОСТ 9244-75, штангенциркуль ГОСТ 166-89, микрометр ГОСТ 6507-78. Конусность рабочей поверхности цилиндра более 0,06 мм, овальность более 0,04 мм устранить шлифовкой, следы шлифовки на рабочей поверхности не допускаются. При наличии задиров, забоин на поверхности глубиной более 0,03 мм
и площадью более 10 мм2 устранить механической обработкой. В случае износа отверстия под штифт разрешается механическая обработка в пределах допуска. При помощи крана консольного ПТО-069.00, цилиндр высокого
давления зачалить и транспортировать на механический участок и обратно, уложить, одев защитную каску ГОСТ 39124-81. Шлифовать внутреннюю поверхность цилиндра по размеру с одновременной проверкой торцов в пределах размеров, использовать внутришлифовальный станок 3К229А, круг шлифовальный ГОСТ 2424-75, круг полировочный ГОСТ 17620-72. Затем рассверлить отверстия в привалочных фланцах до соответствующего размера, отверстие под штифт, использовать радиально-сверлильный станок 2М55,
сверла ГОСТ 4010-70. Далее опрессовать цилиндр давлением 2Мпа на стенде для испытания клапанных коробок, цилиндров и клапанов. При помощи крана консольного ПТО-069.00, цилиндр высокого давления зачалить и транспортировать на стеллаж уложить, одев защитную каску ГОСТ 39124-81. Внешний вид ЦВД приведён на рисунке 2.3.















