ВКР Шапетько Готовй (1222361), страница 2
Текст из файла (страница 2)
Мощность микро гидроэлектростанции определяется из выражения:
где Q – расход воды, (мощность потока воды, протекающего через определенное сечение); H – напор воды, подведенной к гидротурбине;
– КПД гидроэлектростанции.
С точки зрения превращения энергии, гидроэнергетика является технологичным процессом с очень высоким КПД. Но как переносные микромощные генераторы, плохо подходят для реализации.
Для того чтобы обеспечить приемлемые масса-габаритные параметры и не делать конструкцию из многих разборных частей, сокращается мощность из-за уменьшения диаметра рабочей турбины. Большую роль играет и напор воды.
Такой генератор обеспечивает получение электроэнергии требуемой мощности при наличии доступа к высокоскоростному потоку воды, который обеспечит высокие обороты лопастей гидротурбины. В походных условиях это часто недостижимо. Недостатком Микро ГЭС является большие вес и габариты, что часто заставляет делать конструкцию разборной со многими деталями.
-
Ветроэлектрические установки.
Также, как и у МикроГЭС, дают возможность преобразовывать кинетическую и потенциальную механическую энергию но из воздушного потока.
Эффективность работы зависит от скорости оборотов лопастей установки, а значит и от скорости ветра. Имеет те же конструктивные недостатки что микроГЭС. Это сильно ограничивает применение данного способа получения электрической энергии.
Эти источники электрической энергии не в полной мере удовлетворяют требованиям передвижным электрогенераторам. Каждый из них накладывает ряд ограничений, делая их применение узко направлениями.
Альтернативным решением является паровой турбоэлектрический генератор мощностью в несколько ватт.
Перед тем как перейти к рассмотрению переносных микромощных турбогенераторов для лучшего понимания достоинств и недостатков такого способа получения электрической энергии разберем уже существующие промышленные паровые турбоэлектрические турбины.
Такой вид получения электрической энергии хорошо себя зарекомендовал на больших производствах как самостоятельные тепловые электростанции, обеспечивающие потребителя электроэнергией одновременно снабжая тепловой энергией. Так и мера энергосбережения на производствах для получения электроэнергии за счет утилизации избыточной пара от паровых котлов.
В зависимости от характера теплового процесса паровые турбины подразделяются на три группы:
Конденсационные паровые турбины служат для превращения максимально возможной части теплоты пара в механическую работу. Они работают с выпуском отработавшего пара, в конденсатор, возвращая охлажденный пар в воду для повторного использования.
Теплофикационные паровые турбины служат для одновременного получения электрической и тепловой энергии. Но основным конечным продукт таких турбин – тепло. Такие турбины устанавливаются на теплоэлектростанциях
Паровые турбины специального назначения обычно работают на технологическом тепле металлургических, машиностроительных и химических предприятий.
Основным преимуществом промышленных паровых турбин это то, что работа возможна на различных видах топлива: газообразное, жидкое, твердое. Свободный выбор теплоносителя, таких как: вода, глицерин, нефтяные масла и другие. Внушительный ресурс паровых турбин.
Недостатком же является: высокая инерционность; дороговизна паровых турбин, низкий объем производимого электричества, в соотношении с объемом тепловой энергии; дорогостоящий ремонт.
Как видно из выше изложенного такие турбины получили широкое распространение в различных сферах промышленности, так как могут выполнять несколько функций одновременно и достаточно гибкими параметрами.
Такой вид электрогенератора можно применить и для переносного микромощного турбоэлектрического генератора.
Такой принцип работы описывается теоретическим циклом паросиловых установок. Так в теории цикла У. Ренкина [2].
В описанном цикле тепловой машины рабочим телом будет водяной пар.
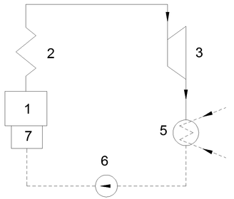
На рисунке 1.1 изображена схема паросиловой установки цикла Ренкина.
Рисунок 1.1 – Схема паросиловой установки
В котле 1 благодаря сжиганию топлива в топке 7 поддерживается кипение воды и превращение её во влажный насыщенный пар. Этот пар подсушивается и перегревается в пароперегревателе 2. Процессы в котле и пароперегревателе протекают при постоянном давлении. Перегретый пар направляется в 3 турбину, где расширяется адиабатно, выполняя полезную работу, например, приводя в действие электрический генератор 4. На выходе из турбины пар, как правило, влажный насыщенный. Такой пар охлаждают при постоянном давлении в конденсаторе 5. Кипящий конденсат насосом 6 подают обратно в котел 1, также протекает при постоянном давлении.
На рисунке 1.2 изображен цикла Ренкина в координатных системах.
Рисунок 1.2 – цикла Ренкина в координатных системах а) в Р – v координатах; б) в T – s координатах
Процесс нагрева воды и перегрева пара на диаграмме соответствует линии 1 – 2 изотермическое расширение. В начале процесса рабочее тело имеет температуру насыщения, то есть температуру нагревателя. Затем тело приводится в контакт с нагревателем. При этом объём рабочего тела увеличивается, оно совершает механическую работу, а его энтропия возрастает.
Процесс перехода рабочего тела в турбину. Адиабатическое расширение соответствует линии 2 – 3. При этом температура тела уменьшается, тело совершает механическую работу, а энтропия остаётся постоянной.
Процесс охлаждения. Изотермическое сжатие соответствует линии 3 – 4. Рабочее тело приводится в контакт с холодильником и начинает изотермически сжиматься под действием внешней силы, отдавая холодильнику. Над телом совершается работа, его энтропия уменьшается. Конденсируясь, образует воду.
Процесс нагрева воды. Адиабатическое сжатие соответствует линии 2 – 3. При этом его температура увеличивается до температуры нагревателя, над телом совершается работа, его энтропия остаётся постоянной.
В переносном паротурбинном генераторе для упрощения конструкции и использовании можно исключить процесс охлаждения в конденсаторе и сжатие в компрессоре.
-
ПРИНЦИП ДЕЙСТВИЯ ПАРОТУРБИННОГО ЭЛЕКТРОГЕНЕРАТОРА
Рассмотрим принцип работы. На рисунке 2.1 изображена структурная схема паротурбинного электрогенератора.
Рисунок 2.1 – Структурная схема паротурбинного электрогенератора
В качестве источника теплоты можно использовать любые источники открытого огня, например дровяной или лиственно-соломенный костер также может быть использована и газовая горелка. В походных условиях источник огня является неотъемлемой частью, он используется как способ освещения, так и источником теплоты, как для человека, так и для приготовлении пищи. В связи с этим на использование такого генератора не влияют погодные или рельефные условия.
От источника теплоты вода, нагреваясь в баке преобразуясь в низкотемпературный водяной пар.
Парогенератора может быть исполнен из кухонной походной посуды, например обыкновенный чайник или скороварка уже оборудованная клапаном избыточного давления.
Из парогенератора низкотемпературный насыщенный водяной пар через паропровод попадает в паропергреватель.
Этот пар в пароперегревателе увеличивает свою температуру образуя высокотемпературный перегреты пар. Через сопло на выходе пароперегревателя сухой пар вращает рабочее колесо паровой микротурбины, которое закреплено на валу электрогенератора. При необходимости систему можно дополнить электронным контроллером заряда – разряда аккумуляторных батарей.
За счет этого конструкция имеет малые вес и габариты.
-
МЕТОДИКА ПРОЕКТИРОВАНИЯ
Главным параметром при проектировании переносного электрогенератора является безопасность человека. По условиям электробезопасности ПУЭ параграф 1.7.53. Защита от прямого прикосновения не требуется, если электрооборудование находится в зоне системы уравнивания потенциалов, а наибольшее рабочее напряжение не превышает 25 В переменного или 60 В постоянного тока в помещениях без повышенной опасности и 6 В переменного или 15 В постоянного тока - во всех случаях.
В связи с этим чтобы не обеспечивать зашиты как от прямого или косвенного прикосновения человека и не подвергать его опасности, выбирается рабочее напряжение не превышающие 15 В.
Так же такая защита приведет к усложнению и увеличению масса габаритных параметров.
-
Выбор аккумулятора
Нагрузкой переносного генератора по большей мере будут являться аккумуляторы, как различных устройств, подключенных напрямую, так и заряжать специальный аккумулятор. Использование таких устройств расширяет возможности генератора, так как они имеют повышенную емкость и позволяют в течение дня заряжать различные устройства.
Основные параметры: емкость аккумуляторов – определяет, сколько времени аккумулятор сможет питать подключенную к нему нагрузку Напряжение и сила тока, необходимые для заряда аккумулятора.
Время зарядки определяется как:
где
- емкость аккумулятора,
- ток генератора, 1,4 – коэффициент учитывающий качества зарядного устройства, правильности форматирования, температуры окружающей среды.
Различные устройства имеют свои аккумулятора с различными параметрами в таблица 3.1 представлены паспортные данные переносного аккумулятора.
Таблица 3.1 – Параметры аккумулятора
| Габаритные размеры | |
| Высота, мм | 102 |
| Толщина, мм | 151 |
| Ширина, мм | 65 |
| Вес, кг | 1,2 |
| Электрические характеристики | |
| Емкость, мАч | 5000 |
| Напряжение, В | 12 |
Любая автономная система электроснабжения, содержащая в своем составе аккумуляторные батареи, должна содержать в себе средства контроля заряда и разряда аккумуляторов.
Особенно это относится к системам со свинцово-кислотными аккумуляторами. Дело в том, что эти аккумуляторы боятся как глубокого разряда, так и перезаряда. В этих случаях резко сокращается срок службы аккумуляторной батареи или даже она может выйти из строя. Если же аккумулятор заряжен, но через него продолжает протекать зарядный ток, то это может привести в закипанию электролита и бурному газовыделению (в случае с заливными батареями) или к вспучиванию и даже взрыву герметичных аккумуляторных батарей. Щелочные батареи хотя и не боятся глубокого разряда, но также не терпят перезаряда и не морозостойкие.
Поэтому в систему автономного электроснабжения вводятся устройства, которые отключают нагрузку от аккумуляторных батарей, если они недопустимо разряжены, а также отключают источник энергии, если аккумуляторы полностью заряжены.
Так как переносной генератор может заряжать различные устройства, имеющие свои аккумуляторы, то оптимальным выбором будет многофункциональный контроллером заряда АКБ имеющий возможность выбора типа аккумулятора и может работать с гелевыми, AGM (содержит абсорбированный электролит) и автомобильными свинцовыми жидко-кислотными.
В таблица 3.2 представлены паспортные данные контролера заряда АКБ.
Таблица 3.2 – Параметры контролера АКБ
| Электрические характеристики | |
| Максимальный ток нагрузки, А | 5 |
| Напряжение системы, В | 12 |
| Собственное потребление, мА | 8 |
| Напряжение отключение нагрузки, В | 11,1 |
| Напряжение подключения нагрузки, В | 12,6 |
| Габаритные размеры | |
| Высота, мм | 96 |
| Толщина, мм | 67 |
| Ширина, мм | 25 |
| Вес, кг | 0,05 |
| Дополнительные параметры | |
| Выносной температурный датчик | нет |
| Выбор типа аккумулятора | есть |
| Цифровой дисплей | нет |
| Максимальное сечение провода, мм2 | 2,5 |
| Рабочий температурный диапазон, | -35…+55 |
| Влажность | 10…90% |
Электронные защиты контроллера:
-
от короткого замыкания в цепи нагрузки;
-
от перегрузки в цепи нагрузки;
-
от подключения обратной полярности в цепи нагрузки;
-
от обратного тока (для предотвращения отдачи энергии от аккумулятора к генератору при снижении оборотов);
-
отключения при высоком напряжении;
-
отключения при низком напряжении.
Для подключения переносного аккумулятора к различным устройствам можно использовать универсальный автомобильный адаптер, имеющий различные выходные клеммы подключения и даже с учетом современных переносных устройств USB.
-
Выбор генератора
По параметрам аккумулятора выбирается генератор. В качестве электрогенератора можно использовать коллекторный двигатель постоянного тока с постоянными магнитами.
Индуктор этого двигателя включает постоянные магниты, которые создают магнитное поле статора. Коллекторные двигатели постоянного тока с постоянными магнитами обычно используются в задачах не требующих больших мощностей. Дешевле в производстве, чем коллекторные двигатели с обмотками возбуждения. Недостатком электродвигателя постоянного тока с постоянными магнитами является то, что со временем магниты теряют свои магнитные свойства, в результате чего уменьшается поле статора и снижаются характеристики двигателя. Но генератор не будет работать все время, а с определенной периодичность, что продлит его время службы.















