Архитектура (1220583), страница 4
Текст из файла (страница 4)
ГСОП=(21- (-9,3))∙211= 6393,3°С·сут.
Интерполяцией определяется
=4,78
.
В результате к дальнейшим расчетам принимается большее из двух значений требуемого сопротивления теплопередаче, т.е.
= 4,78 м2·°С/Вт.
Для принятой конструкции покрытия значения λiотдельных её слоев приведены в таблице 1.6. по формуле (1.4) определяется необходимый слой утеплителя - пенополистирола (=1400 кг/м3):
Rₒ=1/8,7+(0,18/2,04+х/0,06+0,03/0,93+0,005/0,15+0,005/0,17)+1/23≥4,78,тогда:
х≥[4,78-(1/8,7+0,18/2,04+0,03/0,93+0,005/0,15+0,005/0,17)]*0,05=0,224м.
Таким образом, принимаем слой утеплителя – пенополистирол толщиной 250 мм.
1.2.4Полы
Полы первого этажа устраиваются по перекрытиям над подвалом. Основными элементами конструкции пола является покрытие, принимаемое в зависимости от назначения помещения и основание. Полы должны отвечать требованиям износостойкости, ровности, скользкости и безвредности, а так же теплоусвоения, диэлектричности, беспыльности.
Полы в коридоре, тамбуре керамогранит. В технических помещениях пол шлифованный бетон. Всанузлах предусмотрена гидроизоляция из двух слоев Стекломаст - П с заведением на стены по 300 мм.
Для соблюдения требований СП.51.13330.2011 «Защита от шума» [7], для обеспечения изоляции междуэтажных покрытий от воздушного и ударного шума, в жилых комнатах рекомендуется полы укладывать по сплошному основанию со звукоизоляционным слоем.Предусмотренапароизоляция в конструкции пола первого этажа и покрытия из одного слоя техноэласта ЭПП по ТУ5774-003-00287852-99.
Устройство естественной вентиляции помещений.
Экспликация полов приведена в таблице 1.7.
Таблица 1.7 - Экспликация полов
| Тип пола | Наименование помещений, где принят тип пола | Схема пола | Данные элементов пола | Площадь, м2 |
| 1 | Спальня, кухня, прихожая, зал первого этажа | 1.Линолеум поливинилхлоридный - 3мм 2. Фанера - 12мм 3.Стяжка из цементно-песчаного раствора - 70 мм 4.ТехноэластЭПП - 50 мм 5.Перекрытие из монолитного железобетона -180 мм | 302,97 | |
| 2 | Санузлы | 1.Керамическая плитка - 10 мм 2. Прослойка из цементно-песчаного раствора М150 - 20 мм 3.Стекломаст- П (2 слоя) -100мм 4. Перекрытие из монолитного железобетона -180 мм | 158,8 | |
| Продолжение таблицы 1.7 | ||||
| Тип пола | Наименование помещений, где принят тип пола | Схема пола | Данные элементов пола | Площадь, м2 |
| 3 | Зал, спальные,кухни второго этажа | 1.линолеум поливинилхлоридный - 3мм 2. фанера - 12мм 3.Стяжка из цементно-песчаного раствора- 85 мм 4.пенополистирол - 30мм 5.Перекрытие из монолитного железобетона -180 мм | 302,97 | |
| 4 | Холл, коридор второго этажа | 1. керамическая плитка -13 мм 2.Стяжка из цементно-песчаного раствора- 85 мм 3.пенополистирол - 30мм 4. Перекрытие из монолитного железобетона -180 мм | 31,4 | |
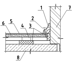
1. керамическая плитка;
2. стяжка из цементно-песчаного раствора;
3. гидроизоляция; 4. кирпичная стена;
5. бетонная подготовка.
Рисунок 1.5 Конструкция примыкания пола из керамическойплитки к стене
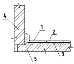
Чтобы предотвратить передачу материального звука (от ходьбы, перемещения мебели) в смежные помещения, полы отделяют от стен и перегородок зазором в 1 – 2 см, перекрываемым профилированными рейками - плинтусами или галтелью. Крепятся они только к стене или к полу, это обеспечивает независимую осадку конструкций по отношению друг к другу.
1. деревянный плинтус; 2. гвоздь;
3. Техноэласт;4. деревянная лага; 5. линолеум;
6. половая рейка; 7. кирпичная стена.
8. Перекрытие из монолитного железобетона
Рисунок 1.6 – Конструкция примыкания линолеума к стене
1.2.5 Перегородки
Конструкция перегородок должна удовлетворять требованиям индустриальности. Устанавливают перегородки на растворе или непосредственно на бетоне, в местах примыкания перегородок к полу прокладывается прослойка из упругого материала для обеспечения звукоизоляции.
Перегородки в санузлах из отсевоблоков толщиной 90 мм. Перегородки межкомнатные ГВЛ по металлическому каркасу толщиной 90 мм.
Узлы крепления перегородок представлены на рисунке 1.8, 1.9.
При сопряжении перегородок со стенами или между собой швы тщательно проконопачиваются и заделывают раствором. Зазор между потолком и перегородкой 10-15 мм законопачивают просмоленной паклей с обеих сторон, заделывают раствором на глубину 20-30 мм для обеспечения звукоизоляции от воздушного и материально переносимого шума.
1. перегородка; 2. плинтус; 3. упругая звукоизоляционная прокладка;
4. просмоленная пакля; 5. ерш.
Рисунок 1.8– Установка перегородки на перекрытие из
монолитного железобетона
1. Кирпичная кладка
2. Известково-песчаная штукатурка
3. Ерш
Рисунок 1.9 – Крепление перегородки к стене
1.2.6Окна
Окна должны надежно изолировать помещения от наружного шума и удовлетворять требованиям теплозащиты.
Соблюдая условия теплозащиты, определим требуемое сопротивление теплопередаче окон
[6, табл. 1б*] и по [6, прил.6*] выберем число слоев остекления, с тем чтобы выполнялось условие:
где
- термическое сопротивление принятой конструкции оконного заполнения;
- требуемое термическое сопротивление оконного заполнения из
условия энергосбережения.
Требуемое приведённое сопротивление теплопередаче окон для жилых зданий
=0,62 м2∙оС/Втв зависимости от ГСОП (ГСОП=6393,3). В соответствии с этим принимаем оконные заполнения из пластиковых профилей с двухкамерным стеклопакетом в раздельных переплетахиз обычного стекла, с теплоотражающим покрытием 4M1-8Ar-4M1-8Ar-K4в переплетах из ПВХ. При этом
=0,63 м2∙оС/Вт по ГОСТ 30674-99.
Спецификация окон приведена в таблице 1.8.
Таблица 1.8 – Спецификация окон
| Марка поз. | Эскиз окон | Наименование | Размер блока, мм | Кол. |
| ОК1 | ОП Р2СПД 15-13 | 14651300 | 77 | |
| Продолжение таблицы 1.8 | ||||
| Марка поз. | Эскиз окон | Наименование | Размер блока, мм | Кол. |
| ОК2 | ОП Р2СПД 15-21 | 14651690 | 51 | |
| ОК3 | ОП Р2СПД 15-12 | 14651000 | 1 | |
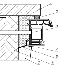
1 - пенный утеплитель;2 - изоляционная саморасширяющаяся
паропроницаемая лента (ПСУЛ);3 - рамный дюбель;4 - герметик;
5 - пароизоляционная лента;6 - компенсатор монтажного зазора; 7 - штукатурный слойвнутреннего откоса (с фаской для слоя герметика).
Рисунок 1.10 - Узел бокового примыкания оконного блока к проему с четвертью в стене из кирпичас отделкой внутреннего откоса
штукатурным раствором
1.2.7 Двери
Двери главного входа и входа в подвал – металлические. Дверь в электрощитовую и выход на кровлю (покрытие) – противопожарная дверь второго типа, с пределом огнестойкости не менее EJ 30, с устройством для самозакрывания и уплотнениями в притворах. Размеры, конструкция и типы дверей определяются их положением в объемно-планировочной структуре здания. Входные наружные двери в проекте деревянные щитовые, с порогом.
Внутренние двери стандартные деревянными, с глухими и остекленными полотнами.
Детали и узлы крепления дверной коробки в дверном проеме приведены на рисунке 1.11.
















