пояснительная записка (1220318), страница 5
Текст из файла (страница 5)
2.2 Многопостовой сварочный выпрямитель ВДМ-6303 С
Этот аппарат предназначен для комплектации постов ручной дуговой сварки покрытыми электродами изделий из стали на постоянном токе. Он применяется в комплекте с балластными реостатами. Регулирование сварочного тока проводится независимо для каждого поста с помощью балластного реостата. Выпрямитель выполнен в виде моноблочной конструкции. Основой конструкции является днище на котором установлены сварочный трансформатор и выпрямительный блок. К основанию крепятся съемные боковые стенки, панель задняя, панель передняя и крышка, образуя корпус выпрямителя. На задней панели находится колодка подключения питающей сети. Сварочный трансформатор представляет собой трехфазную магнитную систему стержневого типа с минимальным магнитным рассеянием. На передней панели выпрямителя находятся амперметр, лампочка напряжения питающей сети, держатели предохранителей и блок вентиляции. При включении рубильника в распределительном щите на передней панели загорится лампочка. Далее при нажатии кнопки пуск выпрямитель переводится в рабочий режим, при этом включается вентиляция. Вентиляция выпрямителя воздушная принудительная. За счет оригинального решения по намотке силовых обмоток удалось снизить габаритные размеры выпрямителя, повысить срок службы и долговечность изделия, повысить КПД. Выпрямитель предназначен для работы в закрытых помещениях, где он будет защищен от непосредственного попадания атмосферных осадков и солнечной радиации. Питание выпрямителя идет от трехфазной сети переменного тока с номинальным напряжением 380В и частотой 50 Гц.
Он обладает преимуществами:
- простая конструкция;
- жесткая внешняя характеристика;
- класс изоляции H;
- индикация сварочного тока и напряжения;
- принудительное охлаждение.
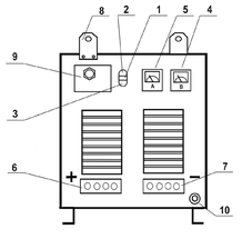
Внешний вид выпрямителя показан на рисунке 17.
| Рисунок 2.3 – Внешний вид выпрямителя ВДМ-6303С где, 1 – индикатор «Сеть»; 2 – кнопка «Пуск»; 3 – кнопка «Стоп»; 4 – вольтметр; 5 – амперметр; 6 – Зажим “+”; 7 – Зажим “-”; 8 – Скобы для подъема грузозахватными устройствами; 9 – Крышка люка и устройства ввода для подключения сетевых кабелей; 10 – устройство заземления | |
Таблица 2.2 - Технические данные ВДМ – 6303 С
| Напряжение питания | 3x380 В |
| Номинальная частота сети | 50 Гц |
| Номинальный сварочный ток | 315 А |
| Диапазон регулирования сварочного тока | До 630 А |
| Продолжительность нагрузки | 60% |
| Номинальное рабочее напряжение | 60 В |
| Напряжение холостого хода | 75 В |
| Способ регулирования сварочного тока | Балластными реостатами |
| Потребляемая мощность | 46 кВА |
| Количество постов | 4 |
| Коэффициэнт одновременности работы постов | 0,5 |
| Габаритные размеры | 700x600x630 |
| Масса | 196 кг |
2.3 Электродвигатель П11М
Для подачи в кристаллизатор сварочной проволоки используется электродвигатель постоянного тока П11М. Исполнение двигателя защищенное, горизонтальное, на лапах, с малым фланцем со стороны свободного конца вала, на двух подшипниках качения, с одним свободным концом вала. Станина стальная, сварная. В станине смонтированы два главных полюса и один добавочный. Сердечники главных и добавочного полюса набраны из листов электротехнической стали толщиной 2 мм. Сердечник якоря набран из листов электротехнической стали толщиной 0,5 мм. Обмотка якоря закреплена в пазах клиньями.
| Таблица 2.3 – Технические характеристики П11М | |
| Номинальная мощность, кВТ | 0,2 |
| Номинальное напряжение, В | 75 |
| Номинальный ток, А | 4,2 |
| Частота вращения якоря, об/мин | 1740 |
| Класс изоляции | B |
| Масса, кг | 18 |
2.4 Угольные электроды
С помощью угольных электродов производят сварку металлов, удаляют дефекты металлических листов, срезают заклепки и выполняют другие операции. Угольные электроды изготавливают из электротехнического аморфного угля. Готовые изделия имеют листово-черную поверхность и представляют собой круглые стержни, сечение которых варьирует от 6 до 18 миллиметров. Для резки разнообразных видов металла угольные электроды затачивают под разными углами. Так, для обработки черных металлов один конец стержня затачивают под углом около 65 градусов. Для выполнения сваривания металлов из цветных металлов, в том числе для наплавки твердых сплавов, делают заточку электрода под углом 30 градусов.
В процессе изготовления электродов используются технологии декстузии или формования и термообработки композиций. В основу изделий входят кокс или уголь, а также добавляются различные связующие вещества (деготь, смола и т.д.). В кое-каких случаях в угольный электрод включают металлический порошок или стружку.
Изделия применяются в разнообразных отраслях. Их используют для резки стальных материалов, выполнения отверстий в легированных, углеродистых и низколегированных сталях. Также с их помощью разрезают медь, нержавеющую или малоуглеродистую сталь, а также другие сплавы, используемые при производстве металлоконструкций, в машиностроении, судостроении, сталелитейной промышленности.
Сварка угольными электродами зарекомендовала себя как очень качественная. По сравнению с другими видами она имеет множество преимуществ. При выполнении сварки с угольными электродами используют углерод, сжатый воздух или электрический ток, позволяющий выполнить отличную резку металла с удалением. Сварочные работы производятся с применением сжатого воздуха или электродуги, которая не только расплавляет металл, но и самоудаляется при помощи воздушной струи. Данный способ сварки имеет свои особенности. Вся работа проходит только при постоянном токе, а длина дуги должна быть в пределах 6-15 миллиметров. Поджигается дуга очень просто и имеет достаточную устойчивость. Однако при возникновении обратной полярности дуга потеряет устойчивость, а электрод станет обгорать и испаряться.
Образуемая при сваривании материалов дуга проявляет высокую чувствительность к погодным условиям (дождю, потокам газов). При сварочных работах с угольными электродами, достигается наименьший КПД дуги по сравнению с применением обычных металлических стержней. Тем не менее ценность угольных стержней нельзя недооценить. Они позволяют сваривать цветной металл, тонколистовые материалы, выполнять наплавку электроприхватки и твердых сплавов при силе тока в пределах 1 кА.
Угольный электрод не плавится в дуге, его конец разогревается до очень высокой температуры, создающей мощную термоэлектродную эмиссию. Теплопроводность материала угольных электродов невелика, вследствии чего возможно поддерживать высокую температуру катода и получать вполне устойчивую дугу уже при токах 3-5 А. Угольная дуга горит очень устойчиво и может вытягиваться до значительной длины в 30-50 мм. Электрод сгорает медленно и не прилипает к основному металлу, поэтому работать угольной дугой довольно легко и необходимые навыки для выполнения простейших работ приобретаются быстро.
При обратной полярности, когда угольный стержень становится анодом, а основной металл катодом, вид угольной дуги и ее свойства сильно изменяются. Электрод на большом протяжении разогревается до очень высокой температуры, наблюдается усиленное испарение его материала, заостренный конец электрода притупляется и становится плоским. Дуга обратной полярности имеет высокое напряжение, мало устойчива и не может быть растянута более чем на 10-12 мм при питании от нормальных сварочных генераторов. Дуга прямой полярности практически не науглероживает основной металл, содержание углерода в наплавленном металле даже уменьшается т.е. происходит выгорание электрода. Дуга обратной полярности, наоборот, очень сильно науглероживает расплавленный металл, доводя содержание углерода при сварке малоуглеродистой стали до 0,8-1 %. Науглероживающее действие угольной дуги обратной полярности еще не нашло производственного применения.
Угольная дуга переменного тока, питающаяся от нормальных сварочных трансформаторов, малоустойчива и на практике редко применяется. Угольная дуга без труда отклоняется от нормального положения магнитными полями, потоками воздуха, неоднородностью поверхности металла. Для стабилизации положения дуги порой применяют вспомогательное продольное магнитное поле создаваемое соленоидом, ось которого совпадает с осью электрода. Этот прием используется главным образом в угольных автоматах.
Второй способ стабилизации положения дуги заключается в том что по линии сварки наносят пасту или порошкообразный флюс, содержащие хорошие ионизаторы дугового разряда. Этот способ применяется как при автоматической, так и при ручной сварке.
Химический состав, структура и механические свойства металла, который наплавлен угольной дугой при сварке малоуглеродистой стали, особо не отличаются от металла, наплавленного металлическим электродом с тонкой ионизирующей обмазкой. Качество наплавленного металла можно улучшить если применить специальные флюсы, наносимые на основной или присадочный металл, но этот метод еще мало разработан. Сварка угольной дугой может быть выполнена с подачей присадочного металла в дугу или без подачи присадочного металла в дугу. В обоих случаях предполагается, что сварщик работает в шлем-маске.
Занятость обеих рук в процессе сварки создает неудобства для сварщика и понижает производительность труда. Оттого угольная дуга применяется незаурядно в тех случаях, где можно обойтись без подачи присадочного металла в дугу. Это возможно при образовании шва за счет расплавления кромок основного металла или же при помещении присадочного металла на кромки шва до сварки. В этом случае на малых толщинах стали сварщики достигают рекордной для ручной сварки производительности.
Для свирки угольной дугой применяются электроды из аморфного электротехнического угля и из синтетического графита. Нормальные электроды имеют форму стержней круглого сечения диаметром 6-25 миллиметров и длиной 200-300 миллиметров с концом, заточенным на конус. Графитные электроды во всех отношениях лучше угольных и их следует выбирать во всех случаях. Основные преимущества графитных стержней: высокая электропроводность и высокая стойкость против окисления на воздухе при высоких температурах, что заметно снижает расход графитных электродов при сварке. Для угольных или графитных электродов требуются специальные держатели.
Иногда для целей сварки используют пламя угольной дуги косвенного действия, горящей между двумя или несколькими электродами. Основной металл в сварочную цепь при этом не включается. Дуга отклоняется, и пламя в виде острого языка выдувается вперед собственным магнитным полем сварочного контура, образованного электродами. При достаточной силе тока можно получить пламя длиной 100-150 мм в виде более или менее острого языка. По действию на металл косвенная дуга сходна с действием пламени газовой сварочной горелки. Передача тепла металлу от пламени дуги косвенного действия производится конвекцией и излучением. Отдача энергии заряженными частицами на поверхности металла, столь характерная для дуги прямого действия, здесь не имеет существенного значения.
Передача тепла от пламени идет довольно медленно, с наименьшим КПД, нагрев получается мягким и постепенным. Технологически дуга косвенного действия в нормальных случаях не конкурирует с дугой прямого действия, скорее она может конкурировать с газовой горелкой. Дугой косвенного действия иногда можно осуществить работы, трудные для дуги прямого действия, например сварку легкоплавких металлов малых толщин, нагрев металла без расплавления и т.д. Так как объект сварки не включается в электрическую цепь, возможно нагревать и сваривать изолирующие материалы: стекло, кварц, керамику и т.д. Для косвенной дуги лучше всего применять питание переменным током, так как этим обеспечится равномерное обгорание обоих электродов.
2.5 Электроды ЭЖТ-1
Электроды ЭЖТ-1 применяются в ручной дуговой наплавке при ремонте деталей и узлов грузовых вагонов, а также устройств из углеродистых низколегированных сталей. Электроды ЭЖТ-1 считаются отраслевым продуктом, так как применяются в области восстановления узлов, деталей и конструкций подвижного состава железнодорожной отрасли. Благодаря электродам ЭЖТ-1 достигается значительное ресурсосбережение и сокращение средств на проведение восстановительных и ремонтных работ, гарантируется повышение качества ремонта деталей железнодорожного транспорта по типу тел вращения.
Несмотря на быстрое развитие и улучшение технологий, при изготовлении и ремонте сварных конструкций и деталей, преобладающим способом является дуговая сварка металлическими электродами с покрытием. Электроды являются распространенным и общедоступным сварочным материалом, входящим в цепь подачи напряжения к свариваемому изделию. Электроды для железнодорожной отрасли ЭЖТ-1 обладают сочетанием и уровнем специализированных свойств, которые обеспечивают получение необходимых качеств наплавляемого металла и выполнение технологических требований.
Электроды предназначены для наплавки рабочего слоя стали средней твердости с высокой износостойкостью в условиях сухого и граничного трения. Наплавку выполняют углом вперед (20-40 градусов от вертикали) для предотвращения затекания шлака впереди дуги. Работа проходит на постоянном токе, при дуге обратной полярности. Прокалка перед сваркой при температуре 350-400 градусов в течении 2 часов.
| Таблица 2.4 - Режимы тока при сварке | |
| Диаметр, мм | Сила тока при сварке, А |
| 3 | 120-160 |
| 4 | 180-220 |
| 5 | 260-280 |















