ВКР Кудрин С.В. КВ15-ЭЭ(Б)СС-824 (1210072), страница 3
Текст из файла (страница 3)
Согласно расчетам грозовых перенапряжений, в каскадной схеме рисунок 2.4, отличающейся наличием на входе РУ дополнительных ОПН рисунок 2.3 (так называемые ОПН линейной ячейки), вероятность повреждения изоляции оборудования РУ при грозовых перенапряжениях на порядок меньше, чем в типовой схеме рисунок 4.3 [10].
2.4 Защитные аппараты
В качестве защитных аппаратов применяются следующие устройства.
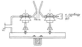
Искровой промежуток (ИП) - самый простой грозозащитный аппарат. Его устанавливают непосредственно в близи от защищаемого объекта. Чаще всего искровой промежуток выполняется в виде рогов из круглой стали диаметром от 10 до 12 мм (рисунок 2.6).
Рисунок 2.6 - Искровой промежуток
Рисунок 2.7 - Роговой искровой промежуток
Кроме основного искрового промежутка, который непосредственно обеспечивает защитные свойства, разрядное напряжение и вольт-секундную характеристику, делается второй промежуток (рисунок 2.7) для того, чтобы при замыкании птицами не возникал пробой основного промежутка под действием рабочего напряжения.
Искровые промежутки часто применяются в сетях напряжением 6...35 кВ благодаря своей простоте и небольшой стоимости, а также обширному применению АПВ, исправляющему ложное отключение.
Разрядник – это электрический аппарат, который служит для ограничения перенапряжений в электротехнических установках и электрических сетях. Изначально разрядником называли устройство для защиты от перенапряжений, основанное на технологии искрового промежутка. Затем, с развитием технологий, для ограничения перенапряжений начали применять устройства на основе полупроводников и металл-оксидных варисторов, применительно к которым продолжают использовать термин «разрядник».
Разрядник (рисунок 2.8) состоит из двух электродов и дугогасительной трубки. Один электрод крепится на защищаемой цепи, второй электрод заземляется. Пространство между ними называется искровым промежутком. В результате пробоя в трубке возникает интенсивная газогенерация (плазма), и через выхлопное отверстие образуется продольное дутье, достаточное для гашения дуги.
Рисунок 2.8 – Трубчатый разрядник РТВ-20-2/10
Основные типы разрядников:
-
Трубчатый разрядник
-
Газовый разрядник
-
Вентильный разрядник
-
Магнитовентильный разрядник (РВМГ)
-
Разрядник длинно-искровой.
Принцип работы длинно-искрового разрядника (рисунок 2.9) основан на использовании эффекта скользящего разряда, он обеспечивает большую длину импульсного перекрытия по поверхности разрядника, и предотвращает за счет этого перехода импульсного перекрытия в силовую дугу тока промышленной частоты. Разрядный элемент РДИ, вдоль которого развивается скользящий разряд, имеет длину, в несколько раз большую длины защищаемого изолятора линии. Конструкция разрядника обеспечивает его более низкую импульсную электрическую прочность по сравнению с защищаемой изоляцией. Главной особенностью длинно-искрового разрядника является то, что вследствие увеличенного длины импульсного грозового перекрытия вероятность установления дуги короткого замыкания сводится к минимуму.
Рисунок 2.9 – Длинно-искровой разрядник, смонтированный на опоре
Ограничитель перенапряжения нелинейный (ОПН) — электрический аппарат, предназначенный для защиты оборудования и систем электроснабжения от коммутационных, и грозовых перенапряжений. ОПН можно назвать разрядником без искровых промежутков. ОПН (рисунок 2.10) на данный момент является одним из эффективных средств защиты оборудования и электрических сетей.
Основным элементом ОПН является варистор. Активная часть ОПН состоит из последовательного набора варисторов, соединенных в «колонку». В зависимости от требуемых характеристик ОПН и его конструкции ограничитель может состоять из одной колонки или из ряда колонок, собранных последовательно либо параллельно. Отличие материала варисторов ОПН от материала резисторов вентильных разрядников состоит в том, что у нелинейных резисторов ограничителей перенапряжения присутствует повышенная пропускная способность, а также высоконелинейная вольтамперная характеристика (ВАХ), благодаря которой возможно непрерывное и безопасное нахождение ОПН под напряжением, при котором достигается высокий уровень защиты электрооборудования. Данные свойства позволили исключить из конструкции ОПН искровые промежутки.
Рисунок 2.10 - ОПН-10 в полимерной изоляции
Материал нелинейных резисторов ОПН состоит в основном из оксида (окиси) цинка — ZnO и оболочки в виде глифталевой эмали, повышающей пропускную способность варистора. При изготовления оксид цинка смешивается с оксидами других металлов. Варисторы на основе оксида цинка являются системой, состоящей из последовательно и параллельно включённых p – n переходов. Именно эти p – n переходы определяют нелинейность ВАХ варистора.
3. РАСЧЁТ И ВЫБОР МОЛНИЕЗАЩИТЫ ПС 110
ВОСТОЧНАЯ.
ПС «Восточная» состоит из двух огороженных территорий. Первая это непосредственно сама подстанция, имеющая габариты 42 х 40,5 м, вторая 20 х 11 м является продолжением ОРУ-110, здесь располагаются кабельные муфты КЛ «Восточная - Энергомаш».
Рисунок 3.1 – План ПС «Восточная»
Для защиты подстанции от прямого удара молнии будут установлены 4 молниеотвода, которые вместе будут образовывать непрерывную зону защиты, покрывающую всё оборудование подстанции.
3.1 Расчет защищаемой зоны двойного молниеотвода М1, М2
Стандартной зоной защиты одиночного стержневого молниеотвода высотой h является круговой конус высотой h0 < h, вершина которого совпадает с вертикальной осью молниеотвода. Размеры зоны определяются двумя параметрами: высотой конуса h0 и радиусом конуса на уровне земли r0. Молниеотвод считается двойным если расстояние между отдельно стоящими молниеотводами не превышает
. Т.к. расстояние между молниеотводами М1 и М2 составляет
, следовательно молниеотвод двойной [1].
Сначала определим высоту защитного конуса молниеотвода, м:
| | (3.1) | |
| | (3.2) |
где
- высота вершины конуса стержневого молниеотвода, м;
- полная высота молниеотвода, м.
Определим радиус защиты на уровне земли, м:
| | (3.3) | |
| | (3.4) |
где
- радиус защиты на уровне земли.
Определим радиус конуса на высоте защищаемого сооружения, м:
| | (3.5) | |
| | (3.6) |
где
- радиус защиты на высоте защищаемого сооружения, м.
Определим высоту стержневого молниеприёмника, м:
| | (3.7) | |
| | (3.8) |
где
- высота стержневого молниеприёмника
Определим угол защиты, градусы:
| | (3.9) | |
| | (3.10) |
где
- угол защиты (между вертикалью и образующей), градусы.
Далее в масштабе произведём построение зоны защиты молниеотводов М1, М2 (рисунок 3.2).
Рисунок 3.2 – Зона защиты двойного стержневого для молниеотвода М1, М2
3.2 Расчет зоны защиты одиночного молниеотвода М3
Производим расчёт молниеотвода М3 высотой 23 м.
Сначала определим высоту защитного конуса молниеотвода, м:
| | (3.11) | |
| | (3.12) |
где
- высота вершины конуса стержневого молниеотвода, м;
- полная высота молниеотвода, м.
Определим радиус защиты на уровне земли, м:
| | (3.13) | |
| | (3.14) |
где
- радиус защиты на уровне земли.
Определим радиус конуса на высоте защищаемого сооружения, м:
| | (3.15) | |
| | (3.16) |
где
- радиус защиты на высоте защищаемого сооружения, м.
Определим высоту стержневого молниеприёмника, м:
| | (3.17) | |
| | (3.18) |
где
- высота стержневого молниеприёмника
Определим угол защиты, градусы:
| | (3.19) | |
| | (3.20) |
где
- угол защиты (между вертикалью и образующей), градусы.
Далее в масштабе произведём построение зоны защиты молниеотвода М3 (рисунок 3.3).
Рисунок 3.3 – Зона защиты стержневого для молниеотвода М3
;
,
;
,
,
;
,
;
,
;
,
;
,
;
,
;
,
;
,













