ВКР переделанное Мамчич П.Е. (1208586), страница 7
Текст из файла (страница 7)
, (3.17)
Тогда:
руб.
Проверим правильность вычислений подставив значения в формулу (3.2):
руб.
Полученный положительный экономический эффект говорит о эффективности внедрения импортной техники. Несмотря на довольно высокую стоимость импортной техники, ее приобретение позволит предприятию повысить производительность.
-
РЕМОНТ КОНСТРУКЦИИ АВТОКРАНА КС 55713-5
В работе будем производит ремонт гидроцилиндра подъема телескопической стрелы автокрана КС 55713-5 и технологический ремонт изношенной поверхности.
Ремонт цилиндра подъёма стрелы автокрана КС 55713-5 следует производить при следующих неисправностях:
- течь масла по уплотнениям;
- проседание штока под нагрузкой.
-
Демонтаж, разборка и сборка гидроцилиндра подъёма стрелы
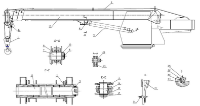
Рис.4.1. Рабочее оборудование автокрана КС 55713-5
1-подвеска крюковая; 2- канат; 3- стрела телескопическая; 4-масленка;
5-гидроцилиндр; 7,10,14,-оси; 6,13-втулки; 9,17-гайки; 11-шайба; 16-клин; 15,18-шайба; 19-обойма; 20-ось; 21-зажим; 23- кольцо; 25- винт.
1) Отсоединить подводящие трубопроводы от цилиндра подъёма стрелы. Открытые отверстия гидроцилиндра закрыть заглушками.
2) Застропить гидроцилиндр 5 (рис.3.1.), приподнять до разгрузки ось 7. Открутить гайки 9, снять шайбу 15 и выбить ось 7 из отверстий гидроцилиндра 5 и стрелы телескопической 3, вынуть втулки 6.
3) Установить на переднюю часть поворотной платформы подставку и опустить на неё гидроцилиндр подъема стрелы КС 55713-5.
4) Застропить гидроцилиндр 5, обеспечив его равновесие. Открутить гайки 17, снять шайбу 18, вынуть ось 14 и втулки 13, отстропить. Вывернуть из гидроцилиндра 5 маслёнки 4.
5) Снять цилиндр подъема стрелы с автокрана КС 55713-5 грузоподъемностью 25т на базе Камаз-55111.
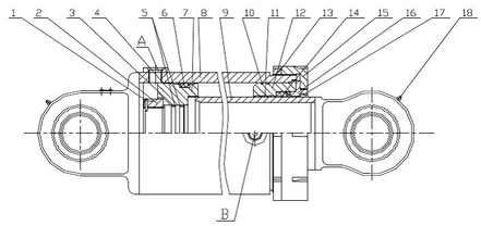
Рис.4.2. Цилиндр подъема стрелы КС 55713-5
1-кольцо пружинное; 2,13,15-гайка; 3,10-кольцо уплотнительное; 4,11-лента направляющая; 5-кольцо защитное; 6-уплотнение поршневое; 7-поршень; 8-корпус; 9-шток; 12-крышка; 14-уплотнение штоковое; 16-втулка; 17-грязесъмник; 18-масленка; А,В-подводы.
Разборка гидроцилиндра подъёма стрелы КС 55713-5 осуществляем в следующем порядке:
-
Установить и закрепить гидроцилиндр подъема стрелы автокрана КС 55713-5 грузоподъемностью 25т на базе Камаз-55111 горизонтально.
Подставить поддон для сбора масла. Ослабить гайку 13 (рис.4.1.) и отвернуть гайку 15 с резьбовой части корпуса гидроцилиндра 8.
-
Выдвигая шток 9, слить масло из штоковой полости гидроцилиндра подъема стрелы КС 55713-5 в емкость и вынуть шток из корпуса с крышкой 12, втулкой 16 и поршнем 7.
-
Положить шток на деревянные бруски высотой не менее 60мм.
-
Снять стопорное кольцо 1, отвернуть гайку 2. Снять поршень 7 со штока 9.
-
Снять крышку 12 со штока 9.
-
Снять со штока цилиндра подъема стрелы КС 55713-5 уплотнительные кольца 3 и защитные кольца 5.
Снять с поршня 7 уплотнение поршневое 6 с направляющей лентой 4. Вынуть из втулки 16 грязесъёмник 17.
Снять с крышки 12 кольца уплотнительные 10.
Операцию извлечения штока из корпуса гидроцилиндра допускается производить с помощью насосной станции. Давление подаётся в поршневую полость гидроцилиндра через отверстие «А». Шток выдвигается до появления уплотнения поршневого. Сливается масло. Далее шток вместе с поршнем 7, крышкой 12 и втулкой 16 вынимается вручную с предохранением его от падения. Сборку гидроцилиндра подъема стрелы КС 55713 - 5 производим следующем порядке:
-
На шток 9 (рис.4.2.) установить гайку 15.
-
Надеть на шток гидроцилиндра подъема стрелы автомобильного крана
КС 55713-5 грузоподъемностью 25т на базе Камаз-55111 уплотнительные кольца 3 и защитные кольца 5.
-
Надеть на поршень 7 уплотнение поршневое 6 с направляющей лентой 4. Вставить во втулку 16 грязесъёмник 17.
-
Надеть на крышку 12 кольца уплотнительные 10. Собрать на штоке крышку 12, втулку 16, поршень 7.
-
Установить корпус цилиндра подъема стрелы КС 55713-5 горизонтально и закрепить. Во избежание среза кромок уплотнения поршневого 6 на поршне и колец уплотнительных 10 крышки 12 шток гидроцилиндра вводить в корпус 8 плавно, аккуратными движениями, слегка поворачивая его.
-
Заправку манжет производить мягким заострённым инструментом, например, пластмассовой отвёрткой. В отверстие «В» вставить пластмассовую заглушку во избежание среза уплотнений.
-
Навернуть гайку 15 на корпус 8 гидроцилиндра и законтрить гайкой 13. Установить заглушки на резьбовые отверстия «А» и «В».
После сборки гидроцилиндр подъема стрелы автокрана КС 55713-5 грузоподъемностью 25т на базе Камаз-55111 испытать на герметичность давлением 25 МПа (250 кгс/см) в течение трёх минут.
При подаче масла в полость «А» течь из полости «В» не допускается, при подаче в полость «В» не допускается течь из полости «А». Кроме этого не допускается течь через уплотнения крышки 12 с корпусом 8 и штоком 9.
-
Выбор способа восстановления резьбы м48-6н гайки
Известно, что изношенные поверхности деталей могут быть восстановлены, как правило, несколькими способами. Для обеспечения наилучших экономических показателей в каждом конкретном случае необходимо выбрать наиболее рациональный способ восстановления.
Выбор рационального способа устранения дефекта детали производится в следующей последовательности. Сначала из всего перечня всех способов, уже используемых в ремонтной практике и рекомендуемых к внедрению, производится предварительный отбор нескольких по технологическому и техническому критериям.
По технологическому критерию (критерий применимости) производят отбор способов на основании возможностей их применения для устранения конкретного дефекта заданной детали с учетом величины и характера износа, материала детали и ее конструктивных особенностей. По этому критерию назначают все способы, с помощью которых технологически возможно устранить заданный дефект. Технологические возможности способов восстановления деталей устанавливают по их характеристикам (табл.4.2.1), которые даны в специальной справочной и технической литературе [3].
Таблица 4.2.1.
Оценка способов восстановления по технологическому критерию
| Неисправность (дефект) | Способ восстановления | Оценочные факторы | |
| Применимости способа | Неприменимости способа | ||
| Износ резьбы М48-6Н | Ручная дуговая Штучным электродом | - | 1. труднодоступный участок (малый диаметр внутренней резьбы) 2. большая толщина покрытия и мехобработки 3. высока энергоемкость |
| Газовая ручная наплавка | - | 1. труднодоступный участок 2. высока трудоемкость | |
| Аргонодуговая Ручная наплавка | - | 1. труднодоступный участок 2. применим для цветных металлов (алюминий) 3. высока энергоемкость | |
| Механизиров. наплавка в среде СО2 | 1. высокая производительность процесса 2. низкая стоимость материалов 3. мал расход свароч. материалов | - | |
| Механизиров. Наплавка под слоем флюса | 1.требуемая толщина покрытия 2. высока производительность процесса 3. низкая трудоемкость | - | |
| Механизиров. Наплавка вибродуговая | - | 1. малый диаметр внутренней резьбы 2. дороговизна автоматических головок соответствующих конструкций для наплавки внутр.отверстий | |
Для применимых по технологическому критерию способов восстановления резьбы следует по технико-экономическому критерию
выбрать оптимальный вариант.
, (4.1)
где
номера присвоенные способам восстановления (
);
стоимость восстановления каждым способом, у.е.;
показатель относительной долговечности детали, восстановленной каждым способом.
По этому способу выбираем тот способ который будет характеризоваться минимумом этой относительной величины.
Стоимость восстановления детали определяется по формуле (4.2):
, (4.2)
где
заработная плата на выполнение всех технологических операций восстановления детали (гайки), у.е.;
стоимость материалов, у.е.;
стоимость электроэнергии, у.е.;
затраты на накладные расходы (содержание оборудования, оснастку, общецеховые расходы), у.е..
Заработная плата на выполнение технологических операций восстановления вычисляется по формуле (4.3), у.е.:
, (4.3)
где
число операций(
);
трудоемкость выполнения механической обработкой, т.е. рассверловка изношенной резьбы, чел./час(
);
трудоемкость выполнения механизированной наплавкой в среде СО2,
чел./час(
);
трудоемкость выполнения механической обработкой, т.е. нарезание
резьбы метчиком, чел./час(
);
тарифная ставка работника выполняющего рассверловку у.е./час
(
);
тарифная ставка работника выполняющего наплавку у.е./час
(
);
тарифная ставка работника нарезающего резьбу у.е./час(
); Тогда, подставляя в формулу (4.3):















