ВЕСЬ ДИПЛОМ (1208325), страница 2
Текст из файла (страница 2)
Плазменная наплавка – это современный способ нанесения износостойких покрытий на рабочую поверхность при изготовлении и восстановления изношенных деталей машин. Плазмой называется высокотемпературный сильно ионизированный газ, состоящий из молекул, атомов, ионов, электронов, световых квантов и др. При дуговой ионизации газ пропускают через канал и создают дуговой разряд, тепловое влияние которого ионизирует газ, а электрическое поле создает направленную плазменную струю. Газ может ионизироваться также под действием электрического поля высокой частоты. Газ подается при давлении в 2…3 атмосферы, возбуждается электрическая дуга силой 400…500 А и напряжением 120…160 В ионизированный газ достигает температуры 10…18 тыс. °С, а скорость потока - до 15000 м/сек. Плазменная струя образуется в специальных горелках - плазмотронах. Катодом является неплавящий вольфрамовый электрод [1].
Плазменная наплавка применяется при восстановлении изношенных деталей, когда необходимо восстановить размеры деталей и по возможности приблизить металл наплавленного слоя к основному металлу по твердости и другим механическим свойствам. Она также применяется при изготовлении новых деталей для придания им рабочих поверхностям определенных свойств: жаропрочных, кислотостойких, износостойких и других. В этих случаях основа изделия состоит из наиболее дешевых материалов (например, из обычной низкоуглеродистой стали), а поверхность – из сплава со специальными свойствами. Масса металла наплавки в таких изделиях составляет несколько процентов от их массы, а работоспособность значительно выше, чем у аналогичных изделий из однородных материалов.
При плазменной наплавке стремятся обеспечить минимальный переход основного металла в наплавленный и более высокие свойства как металла наплавки, так и соединения в целом [2].
По сути, это процесс, в котором источником тепла выступает плазменная дуга, а материалом выступает металлический порошок. Порошок подается в плазмотрон специальным транспортным газом, при помощи питателя. Такой способ наплавки обеспечивает высокую производительность при очень низком проплавлении основного слоя металла. Это позволяет добиться нужной твердости и химического состава металла наплавки в 0,3…0,5мм от места сплавления. Такие возможности обеспечиваются возможностями регулирования мощности плазменной дуги и силы подачи присадочного материала. Плазменно-порошковая наплавка дает возможность ограничиться одним слоем наплавки, вместо трех – четырех при электродуговом способе.
Плазменно-порошковая наплавка была изобретена во Франции в 1972 году. На протяжении длительного периода времени применять такой метод имели возможность только крупные корпорации развитых стран. На сегодняшний день плазменно-порошковая наплавка широко распространена по всему миру [2].
Область применения ППН имеет широчайший спектр. Чаще всего этот способ используют для восстановления ножей горячей резки металлов, деталей типа шестерней, клапанов двигателей, лопаток турбин, валов полиграфических машин, плунжерных насосов, прокатных станов. Плазменно-порошковая наплавка дает возможность восстанавливать бронзой конические и цилиндрические втулки, подпятники к дробилкам, коленчатые валы, ролики, головки блока, шаровые детали. При этом, после восстановления детали соответствуют всем стандартам качества и не уступают в надежности оригинальным новым запчастям [2].
1.2 Способы плазменной наплавки
Плазменная наплавка может выполняться с подачей присадочного металла в виде проволоки, ленты или порошка в сжатую дугу [3].
Наплавка сжатой дугой с подачей присадочной проволоки может осуществляться:
1. Дугой прямого действия, когда она горит между неплавящимся электродом и наплавляемой поверхностью, а проволока электрически нейтральна.
2. Дугой косвенного действия, когда она горит между электродом и токоведущей присадочной проволокой, наплавляемое изделие электрически нейтрально.
3. Комбинированным способом, когда горят две дуги: между неплавящимся электродом и изделием и между неплавящимся электродом и токоведущей присадочной проволокой.
4. Дугой прямого действия с нагреваемой присадочной проволокой от отдельного источника тока.
5. Способ плазменной наплавки двумя плавящимися проволоками, подключенными последовательно к источнику переменного тока, с помощью которого они нагреваются до соответствующих температур и подаются в хвостовую часть сварочной ванны, образованной сжатой дугой прямого действия, питаемой от источника тока. Подогретый расплавленный металл защищают плазмообразующим газом и защитным газом, подаваемым через специальное сопло. Производительность этого способа 30кг/ч.
6. Высокой производительностью (до30кг/ч) также отличается и другой способ плазменной наплавки – плавящимся электродом. В этом способе совмещены два способа сварки-наплавки: сжатой дугой и в среде инертного газа. Сжатая дуга питается от постоянного тока с падающей внешней характеристикой и образуется между вольфрамовым электродом, закрепленным под углом к оси плазменной горелки, и деталью. Наплавочная проволока, питаемая от отдельного источника тока с жесткой характеристикой, подается в сварочную ванну через сжатую дугу. Скорость расплавления проволоки в широких пределах регулируется за счет изменения параметров процесса сварки-наплавки: полярности тока, силы тока, диаметра проволоки, диаметра сопла [3].
Плазменная наплавка с применением в качестве присадочного металла порошка может осуществляться [4]:
1. По слою крупнозернистого порошка, когда порошок заранее насыпается на наплавляемую поверхность, а сжатая дуга прямого действия расплавляет его.
2. С подачей порошка тугоплавкого металла непосредственно в ванну расплавленного металла, при осуществлении этого способа частицы тугоплавкого металла внедряются в поверхность изделия.
3. С подачей порошка непосредственно в сжатую дугу, порошок нагревается и плавится тепловой энергией сжатой дуги и переносится на поверхность изделия, которая подогревается и оплавляется сжатой дугой прямого действия [4].
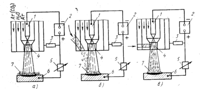
На рисунке 1.1 изображены варианты плазменной наплавки с подачей порошка
Рисунок 1.1 – Варианты плазменной наплавки с подачей порошка: а – когда порошок заранее насыпается на наплавляемую поверхность, а сжатая дуга прямого действия расплавляет его; б – с подачей порошка тугоплавкого металла непосредственно в ванну расплавленного металла; в – с подачей порошка непосредственно в сжатую дугу
Более широкие возможности открывает комбинированный способ наплавки, когда в зону сварки подают и порошок, и токоведущую присадочную проволоку.
При наплавке дугой прямого действия минимальное проплавление основного металла обеспечивается только при относительно малых токах. Наплавка на больших токах целесообразна при восстановлении изношенных деталей, когда наплавленный металл не отличается по своим свойствам от основного [5].
При плазменной наплавке дугой косвенного действия с токоведущей присадочной проволокой энергия сжатой дуги затрачивается в основном на плавление присадочной проволоки, и только незначительная часть энергии идет на подогрев основного металла. Главный источник теплоты для нагрева изделием является перегретый жидкий присадочный металл, переходящий на изделие в виде капель или струи.
Плазменная наплавка, как с токоведущей, так и с нетоковедущей присадочной проволоки, может выполняться как на прямой (минус на электроде), так и на обратной (плюс на электроде) полярности. При плазменной наплавке на прямой полярности существуют недостатки: повышенная степень загрязнения металла наплавки окислами и грязью, образующимися во время наплавки. Кроме того, этот способ нерационально использовать при наплавке металлов и сплавов, образующих тугоплавкие оксиды (алюминий, алюминиевые бронзы, никель и другие сплавы), так как требуются специальные флюсы для их удаления.
Для того, чтобы исключить применение флюсов и организовать очистку поверхности основного металла и сварочной ванны от оксидов и загрязнения, наплавку ведут на обратной полярности. При этом способе в результате катодного эффекта (разрушение оксидной пленки) улучшается смачивание наплавленной поверхности жидкого металла и повышается качество сплавления металла [5].
При плазменной наплавке сжатой дугой косвенного действия с токоведущей присадочной проволокой массивных изделий (валов диаметром больше 150–200 мм и плоских изделий толщиной больше 50 мм) тепловой энергии, переносимой жидким металлом проволоки, иногда недостаточно для обеспечения хорошего смачивания основного металла. В этом случае целесообразно применять комбинированный способ наплавки, при котором основной металл дополнительно подогревается маломощной сжатой дугой прямого действия.
Основные достоинства наплавки дугой прямого действия с нагреваемой присадочной проволокой от отдельного источника тока: малое окисление содержащихся в проволоке примесей (титана и серы), хорошее формирование наплавленного валика, возможность обеспечения небольшой доли основного металла в наплавленном слое, высокая производительность.
Плазменная наплавка с применением порошка благодаря минимальному проплавлению основного металла (2–3%) обеспечивает получение наплавленного металла с высокими физико-химическими свойствами.
Плазменную наплавку можно выполнять одиночными валиками (при наплавке цилиндрических деталей по винтовой линии), а также с применением колебательного механизма (для широких слоев), на прямой или обратной полярности [5].
1.3 Материал
1.3.1 Плазмообразующие и защитные газы
В качестве плазмообразующего газа при наплавке в настоящее время в основном используют Ar, но возможно применение и других газов. Выбор того или иного газа в качестве плазмообразующего определяется его физико-химическими особенностями такими, как теплоемкость, теплопроводность, потенциал ионизации и др. Анализ данных показывает, что в качестве плазмообразующих при наплавке лучше применять Ar и He, дающие наиболее высокую температуру плазмы при наименьшем напряжении дуги, энергии, подводимой к дуге, и коэффициенте использования энергии на нагрев газов. Однако, высокая теплопроводность Не вместе с высоким теплосодержанием гелиевой плазмы приводят к быстрому нагреву и разрушению электродов. Поэтому для наплавки в качестве плазмообразующего газа лучше использовать Ar [1].
В качестве защитного газа при плазменной наплавке с успехом могут применяться Ar, N, CO2 и смеси Ar+He или Ar+N. Выбор защитных газов связан со степенью его воздействия на наплавляемый и основной металл, а также экономическими соображениями. Так при наплавке медных сплавов на сталь в качестве защитного газа с успехом можно использовать Ar, N, CO2, при наплавке износостойких материалов на сталь – N или смесь Ar+N и так далее [1].
1.3.2 Электроды
Для обеспечения стабильного протекания процесса наплавки плазменная струей необходимо использовать неплавящиеся электроды из такого материала, который способен без разрушения выдерживать нагревание до высокой температуры. Таким требованием лучше всего отвечают электроды из чистого вольфрама или с присадками тория или лантана [1].
Вольфрам обладает следующими физическими свойствами: tпл= 3650 К, tкип=5973 K, работа выхода 4,54 в, удельное сопротивление 0,060 Ом*мм2/с.
В связи с относительно высокими значениями работы выхода для получения необходимой величины термоэлектронной эмиссии вольфрамового электрода в электродный стержень вводится присадка окиси тория ThO2 (1–1,5%). Такая небольшая добавка Th улучшает условия зажигания и стабильного горения плазменной дуги. Одним из существующих недостатков применения торированных электродов является естественная радиоактивность Th. Хотя сведения о вредности торированных вольфрамовых электродов являются разноречивыми, но тем не менее производство торированных электродов является вредным, а их применение для сварных работ не желательно.
Вместо окиси тория в настоящее время в вольфрам вводят присадки La2O2 Электроды с присадкой 1–2 % La2O2 подобны тарированным вольфрамовым электродам и характеризуются наименьшим расходом и наибольшей плотностью допускаемого тока.
На основании сказанного выше можно сделать вывод, что при наплавке плазменной струей наибольшее применение нашли вольфрамовые электроды с присадкой La2O2.
Для наплавки на постоянном токе обратной полярности применяют медные водоохлаждаемые электроды, обеспечивающие больший ресурс работы, чем вольфрамовые электроды, особенно при большой плотности тока [1].
1.3.3 Гранулированные порошки
В качестве присадочного материала при плазменной наплавке применяют гранулированные порошки, изготовленные путем распыления струи жидкого сплава водой или газом высокого давления. Форма частиц может быть сферической или осколочной. Сфероидизированные порошки отличаются хорошей сыпучестью, не застревают в дозирующих устройствах. Для плазменно-порошковой наплавки применяют сферические порошки с размером частиц 40–300 мкм. Порошки осколочной формы используют для плазменной наплавке по неподвижной присадке [3].
Порошок ПН-АН300 по своему химическому составу соответствует литым пруткам ВЗК и может заменять их. Порошок ПН-АН31 содержит В и дает более твердый и износостойкий, но несколько менее пластичный металл. После расплавления он хорошо смачивает наплавляемую поверхность и обеспечивает отличное формирование валиков. Если необходим кобальтовый стеллит повышенной пластичности для деталей, испытывающих резкие теплосмены и знакопеременные нагрузки, то рекомендуется применять порошок ПН-АН32. Порошок ПН-АН33 предназначен для плазменной наплавки уплотнительных поверхностей паровой арматуры сверхвысоких параметров [3].
Основное требование успешного напыления состоит в том, чтобы порошки обладали хорошей текучестью и не разлагались в плазме. Текучесть в некоторой степени может быть улучшена путем сушки порошков для удаления адсорбированной влаги, и с помощью соответствующей конструкции питателя, обеспечивающей подачу порошка в псевдоожиженном состоянии с использованием аргона в качестве газа-носителя.
Несмотря на вышеуказанные усилия, оказалось невозможным напылять порошки с частицами чешуйчатой формы (с большой площадью поверхности) и порошки с размером частиц менее 5 мкм. Кроме того, химическая активность графита, сульфида молибдена делает их неподходящими для напыления. Порошки вольфрама и диоксида титана могут частично диссоциировать в плазме, в связи с чем состав покрытия может отличаться от состава исходного порошка [3].
Помимо повышения текучести, методы гранулирования позволяют получать порошки одинаковых размеров, образующие плотные покрытия. Как показано ранее при взаимодействии порошка с плазменной дугой, очень крупные частицы плавятся не полностью, а мелкие – могут частично испариться. Обычно используются металлические порошки с размером частиц 40–75 мкм и керамические порошки с размером 5–40 мкм.
Для специальных областей применяются более тонкие металлические порошки с частицами размером менее 40 мкм. Один из таких порошков фирмы “Меtсо“ (марка 450) представляет собой гранулы, состоящие из порошка алюминия с размером частиц 5 мкм в количестве 5 %.
Существует ряд способов получения плакированных порошков.
В соответствии с данными Меддингса и других эти способы можно классифицировать следующим образом:















