ПЗ - Дипломный проект Соломка Н.А. (1207208), страница 9
Текст из файла (страница 9)
Типы устройств защитного отключения. Возникновение условий, опасных в отношении поражения человека током, обусловливается изменением проводимости фаз сети относительно земли. Как результат этого изменения могут изменяться и другие электрические параметры установки, например, потенциал корпуса; ток, стекающий в землю; напряжение фаз относительно земли; напряжение нулевой последовательности и др. Очевидно, что степень опасности поражения человека током, т. е. значение напряжения прикосновения (или тока, проходящего через человека), находится в определенной зависимости от этих параметров. Следовательно, любой из этих параметров может служить входной величиной для устройства защитного отключения.
Указанные возможности используются в практике создания УЗО, которые в зависимости от принятых для них входных величин условно делятся на следующие типы, реагирующие на:
1) потенциал корпуса;
2) ток замыкания на землю;
3) напряжение нулевой последовательности;
4) ток нулевой последовательности;
5) напряжение фазы относительно земли;
6) оперативный ток.
Есть и комбинированные устройства, которые реагируют не на одну, а на несколько входных величин.
Ниже рассматриваются некоторые из перечисленных типов устройств защитного отключения.
4.2 Устройства, реагирующие на потенциал корпуса
Назначение УЗО рассматриваемого типа - устранение опасности поражения людей током при возникновении на заземленном или зануленном корпусе повышенного потенциала. Обычно эти устройства являются дополнительной мерой защиты к заземлению или занулению.
Принцип действия - быстрое отключение от сети поврежденного оборудования, если возникший на его корпусе потенциал
, В, окажется выше потенциала
, В, при котором напряжение прикосновения к корпусу имеет наибольшее длительно допустимое значение
, В.
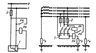
Принципиальная схема одного из таких устройств показана на рис. 4.1. Датчиком в этой схеме служит реле максимального напряжения, включенное между защищаемым корпусом и вспомогательным заземлителем 2 непосредственно или через трансформатор напряжения.
Электроды вспомогательного заземлителя должны быть размещены вне зоны растекания токов, стекающих с заземлителя корпуса или заземлителей нулевого проводника сети, т. е. на расстоянии более 20 м.
При замыкании фазы на заземленный (или зануленный) корпус вначале проявляется защитное свойство заземления (или зануления), снижающее потенциал корпуса до некоторого предела
(4.4)
где
- потенциал корпуса, В;
- ток заземлителя, А;
— сопротивление заземления (а при занулении — сопротивление повторных заземлений нулевого проводника), Ом.
Рисунок 4.1 – Принципиальная схема устройства защитного отключения, реагирующего на потенциал корпуса
- сопротивление защитного заземления (корпуса);
- сопротивление вспомогательного заземления;
- ток, стекающий в землю; РН - реле максимального напряжения; ОК - отключающая катушка автоматического выключателя.
Если
превысит
, сработает устройство защитного отключения.
Реле максимального напряжения можно включать также между корпусом электроприемника и нулевым проводником, как показано на рис. 4.2. При замыкании фазы на корпус реле сработает, вызвав перегорание предохранителя, т. е. отключение потребителя от сети. Эта схема напоминает систему зануления, однако в рассматриваемом случае благодаря наличию реле провод, который является как бы зануляющим, имеет незначительное сечение, в то время как ток короткого замыкания, вызывающий перегорание предохранителя, достигает большого значения.
Область применения. Рассматриваемый тип защитного отключения может применяться в сетях всех напряжений независимо от режима нейтрали, когда система защитного заземления или зануления малонадежна, или недостаточно эффективна. Однако с учетом неселективности работы УЗО этого типа его использование ограничивается установками с индивидуальными заземлениями (например, передвижные электроустановки).
Уставка. В данном случае уставкой, обеспечивающей безопасность прикосновения к корпусу поврежденной установки, является потенциал
при котором напряжение прикосновения не превышает допустимого
:
(4.5)
где
- уставка.
Выразим
через известное (заданное)
. С учетом того что
(4.6)
выражение для уставки имеет вид
(4.7)
где
и
— коэффициенты напряжения прикосновения.
Если в период прикосновения к корпусу человек может стоять вне поля растекания тока с защитного заземления и при этом сопротивление основания, на котором он стоит, невелико, то необходимо принять
В таком случае уставка
.
Напряжение срабатывания реле
должно быть меньше
, поскольку потенциал корпуса
оказывается приложенным не только к сопротивлению обмотки реле
, но и к последовательно соединенному с ним сопротивлению вспомогательного заземления
(рис. 4.3):
Рисунок 4.2 – Схема УЗО, реагирующего на потенциал корпуса. РН включено между корпусом и нулевым проводником
Рисунок 4.3 – Принципиальная схема устройства защитного отключения, реагирующего на потенциал корпуса
1 – корпус нейтрали; 2 – предохранитель
-сопротивление повторного заземления нулевого защитного проводника;
- сопротивление;
-сопротивление заземления нейтрали.
Заменив в этом уравнении
на
и выразив ток реле
через
получим выражение для требующегося напряжения срабатывания реле в комплексной форме:
(4.8)
или в действительной форме
(4.9)
где
п
— активное и индуктивное сопротивления обмотки реле, Ом.
Это уравнение при известных параметрах реле, а также
,
и
позволяет определить наибольшее значение
, при котором обеспечивается срабатывание защиты.
Достоинство УЗО, реагирующих на потенциал корпуса, — исключительная простота их схем.
Недостатками их являются необходимость иметь вспомогательное заземление, неселективность отключения в случае присоединения нескольких корпусов к одному заземлителю, отсутствие самоконтроля исправности и, наконец, непостоянство уставки при изменениях сопротивления
.
ЗАКЛЮЧЕНИЕ
В ходе выполнения данного дипломного проекта были разработаны и спроектированы приложения для выполнения лабораторных работ по дисциплине «Электроснабжение нетягового подвижного состава». Произведен расчет экономической эффективности внедрения разработанных приложений в учебный процесс.
Так же были разработаны методические указания для выполнения лабораторных работ в разработанных приложениях, в состав которых входит приложение «Тиристорный регулятор напряжения генератора», приложение «Статический преобразователь напряжения» и приложение «Угольный регулятор напряжения».
Список использованных источников
1. Вирт, Н. Алгоритмы и структуры данных / Пер. с англ. — М.: Мир, 1989. - 360 с., ил.
2. Гринзоу Лу. Философия программирования для Windows 95/NT / Пер. с англ. — СПб.: Символ-Плюс, 1997. — 640 с., ил.
3. Зелковиц, М., Шоу, А., Гэннон, Дж. Принципы разработки программного обеспечения / Пер. с англ. — М.: Мир, 1982. — 386 с., ил.
4. Практическое руководство по программированию / Пер. с англ. Б. Мик, П. Хит, Н. Рашби и др.; под ред. Б. Мика, П. Хит, Н. Рашби. — М.: Радио и связь, 1986. — 168 с., ил.
5. Фокс, Дж. Программное обеспечение и его разработка / Пер. с англ. — М.: Мир, 1985. - 368 с., ил.
6. Язык компьютера. Пер. с англ, под ред. и с предисл. В. М. Курочки-на. — М.: Мир, 1989. ~ 240 с., ил.
7. http://www.forum.vingrad.ru/ программистский портал с большим разделом Дельфи
8. http://www.sources.ru программистский портал с большим разделом Дельфи
9. http://www.borland.com.ru/delphi/index.htm Borland Russia
10. http://www.torry.net Torry's Delphi Pages
11. http://delphi.vitpc.com/ - 'Королевство Дельфи' - Виртуальный клуб программистов
12. http://www.delphimaster.ru/ - Мастера Дельфи. Большое количество статей и материалов.
13. ГОСТ Р ИСО/МЭК 12119-2000 «Информационная технология. Пакеты программ. Требование к качеству и тестирование».
14. ГОСТ 28195-89 »Оценка качества программных средств. Общие положения».
15. Роберт, Т. Фатрелл, Дональд Ф. Шафер, Линда И. Шафер. Управление программными проектами. Достижение оптимального качества при минимуме затрат. — М.: Издательский дом «Вильямс», 2004г. – 1136 с.
16. Международный стандарт ISO/IEC 9126-1:2001. Программирование. Качество продукта. Часть 1. Модель качества.
17. Липаев В. В. Технико-экономическое обоснование проектов сложных программных систем. — М.: СИНТЕГ, 2004, - 284 с.
18. ГОСТ 34.003-90 Информационная технология. Автоматизированные системы. Термины и определения.
19. Зельковиц, М., Шоу А., Гэннон Дж. Принципы разработки программного обеспечения. – М.: Мир, 1982 – 368 с.
20. Сборник временных норм на работы по ведению Государственного мониторинга геологической среды (состояния недр), информационной деятельности, цифровому картографированию.– Томск.: ОГУП ТЦ Томскгеомониторинг,– 2005,– 27 с.
21. Баймухамбетова, С.С. Финансовый менеджмент. М., 2004.
Санитарно-эпидемиологические правила и нормативы СанПиН 2.2.2/2.4.1340-03 "Гигиенические требования к персональным электронно-вычислительным машинам и организации работы".
22. Безопасность жизнедеятельности. Безопасность технологических
процессов и производств(Охрана труда): Учебн. пособие для вузов / П.П. Кукин, Е.А. Подгорных и др. – М.: Высш.шк., 1999. – 318 с.: ил.
23. Безопасность жизнедеятельности. Занько Н.Г., Русак О.Н., Малаян К.Р. М. Омега-Л. 2007
















