Diplom (1207170), страница 7
Текст из файла (страница 7)
4.1.4 Впрыск воды в ядро факела
Впрыск воды в ядро факела снижает максимальную температуру в нем и тем самым препятствует образованию термических оксидов азота. Этот способ применяется по большей части в период неблагоприятных метеорологических условий в районах с повышенной фоновой концентрацией вредных веществ. Количество впрыскиваемой в топку котла воды составляет около 10% расхода топлива.
Этот способ снижает выбросы
примерно на 25 % и одновременно снижает КПД котла приблизительно на 0,7 %. Эффективность впрыска воды в топку существенно уменьшается, если котел работает с рециркуляцией газов или в режиме ступенчатого сжигания топлива. По этой причине метод впрыска не получил широкого применения.[10]
-
Применение комбинаций технических мероприятий
Для достижения нормы выбросов
при сжигании топлив в топках котлов, как правило, применяют комбинации первичных методов. На газомазутных котлах чаще всего используют следующие комбинации воздухоохранных мероприятий [10]:
1) сочетание ступенчатого сжигания топлив с рециркуляцией дымовых газов;
2) установку полуподовых горелок в сочетании со ступенчатым сжиганием и с рециркуляцией дымовых газов и др. (рисунок 4.2)
Рисунок 4.2 Схема организации ступенчатого сжигания природного газа (мазута) в сочетании с рециркуляцией дымовых газов с настенной компоновкой горелок
-
– горелки нижнего яруса; 2 – горелки верхнего яруса; 3 – подача дополнительного воздуха; КПВД и КПНД – конвективные пароперегреватели высокого и низкого давления; ВЭ – водяной экономайзер
На рисунке 4.2 представлена схема организации ступенчатого сжигания природного газа и мазута в сочетании с рециркуляцией дымовых газов с настенной компоновкой горелок. Газы на рециркуляцию забираются ДРГ из газохода за водяным экономайзером и смешиваются с горячим воздухов в коробе после РВП перед горелками.
Из анализа приведенных выше данных можно сделать вывод, что на котлах, в которых сжигается газ, можно при использовании режимно- технические мероприятия получить концентрации оксидов азота , приближающиеся к требуемым для экологически безопасных ТЭС (150- 200 мг/
).
4.2 Воздухоохранные мероприятия, предлагаемые к внедрению на Комсомольской ТЭЦ-3 для снижения выбросов оксидов азота
Для достижения снижения выбросов
при сжигании газа в котлах Комсомольской ТЭЦ-3 предлагается комбинация режимно-технических меодов: замену действующих горелок на горелки с низким выбросом
в сочетании со ступенчатым сжиганием топлива в котле.
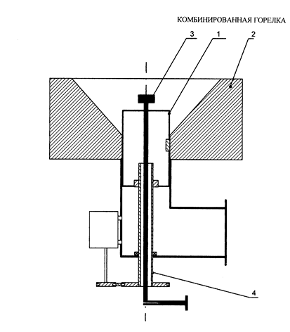
В качестве заменяемой горелки предлагается комбинированная горелка, запатентованная патентом № 41117 РФ. Авторами данной горелки являются сотрудники кафедры «Техносферной юезопасности» ДВГУПС (рисунок 4.3).
Заявляемая комбинированная горелка обеспечивает минимальный объем высокотемпературной зоны благодаря максимальной скорости теплоотвода и как следствие, снижает эмиссию оксидов азота на 15-25%. Комбинированная горелка содержит воздушный коллектор с амбразурой, по оси которого расположен топливоподводящий узел с соплами. Сопла топливоподводящего узла расположены на высоте 1/3-2/3 высоты амбразуры. Кроме того, топливоподводящий узел выполнен с возможностью перемещения [15].
Рисунок 4.3 Схема комбинированной малоотходной горелки
Комбинированная горелка содержит воздушный коллектор 1 с амбразурой 2 и топливоподводящий узел 3 и расположена в основании топки.
Топливоподводящий узел 3 расположен по центру воздушного коллектора 1 и соединен с ним. Воздушный коллектор 1 выполнен телескопическим и представляет собой воздушный канал для подвода воздуха и имеет возможность перемещения совместно с топливоподводящим узлом 3. В верхней части воздушного коллектора 1 установлена неподвижная амбразура 2.
Топливоподводящий узел 3 содержит сопла для подачи жидкого топлива, газообразного топлива, которые расположены на высоте 1/3-2/3 высоты амбразуры 2. Топливоподводящий узел 3 соединен с известным механизмом подъема 4 воздушного коллектора 1.
Механизм подъема 4 имеет возможность перемещать Топливоподводящий узел 3.
Устройство работает следующим образом.
В момент запуска комбинированной горелки сопла топливоподводящего узла 3 расположены на минимальной высоте - 1/3 высоты амбразуры 2, а именно у основания конуса амбразуры 2.
В амбразуру 2 поступает воздух из воздушного коллектора 1, топливный газ и жидкое топливо из сопел топливоподводящего узла 3. В амбразуре 2 образуется топливная смесь, которая разогревается до температуры воспламенения от стенок амбразуры, воспламеняется, сгорает и выделяет тепло в амбразуре. Ядро факела располагается в амбразуре и разогревает стенки амбразуры, а выходящие газы - топку. Далее раскаленные газы охлаждаются в топке печи [15].
После разогрева топки и амбразуры 2 до максимальной температуры сопла топливоподводящего узла 3 перемещаются на максимальную высоту -2/3 высоты амбразуры 2. При этом сопла топливоподводящего узла 3 оказываются в верхней части ее зоны. При этом топливо поступает в топку, нагревается за счет тепла топки и воспламеняется в ней. В результате зона горения, т.е. ядро факела, перемещается в топку, где теплоотвод от ядра факела в 3-5 раз больше. Вследствие этого снижается максимальная температура ядра факела и, как следствие, эмиссия термических оксидов азота.
Использование полезной модели позволяет сократить выход NO x на 15-25%.
Ступенчатое сжигание топлива предлагается использовать по патенту №2288404, разработанным В.Д.Катиным и сотрудниками кафедры «Техносферная безопасность» ДВГУПС так, как на котле ТПГЕ- 215 горелки уже расположены в два яруса, что облегчает использование данного метода.
Способ сжигания топлива поясняется чертежом.[16]
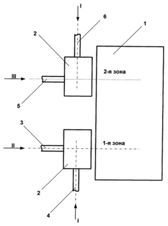
На рисунке 4.4 изображено топочное устройство для реализации предлагаемого способа.
Устройство содержит: топку 1; комбинированные горелки 2, расположенные в два яруса; трубопроводы 3-6 подачи топливного газа и воздуха.
Рисунок 4.4 Чертеж сжигания топлива
Способ осуществляется следующим образом.
При сжигании топливо делят на потоки. В горелку 2 первой зоны горения топки 1 по трубопроводу 3 подают газ (II), а по трубопроводу 4 воздух (I) с коэффициентом избытка
=0,85-0,95
.
Затем продукты сгорания отводятся во вторую зону горения топки 1.
Одновременно во вторую зону горения по трубопроводу 5 подают горючий газ (III), а по трубопроводу 6 подают холодный воздух (I) с коэффициентом избытка
=1,3-1,35(
). При этом общий коэффициент избытка воздуха, подаваемого в первую и вторую зоны горения, составляет
=1,1-1,15 (
) [16].
Выгорание газа протекает при пониженных количествах воздуха и более низких температурах, что снижает выход термальных оксидов азота. Снижение образования термальных оксидов азота во второй зоне обеспечивается за счет подачи холодного воздуха, понижающего температуру горения.
Использование данного способа сжигания топлива позволяет снизить общую концентрацию оксидов азота в продуктах сгорания за счет снижения выхода термальных оксидов азота [16].
Заключение
Создание производств с минимальным вредным воздействием на окружающую среду, в том числе электростанций, относится, без сомнения, к числу важнейших научных и технических задач человеческой деятельности.
В данной выпускной квалификационной работе был рассмотрен Комсомольский ТЭЦ-3 как источник загрязнения атмосферы. Были рассмотрены котлы, которые установлены на ТЭЦ и были приведены чертежи данных котлов. Рассмотрены реакции горения используемого топлива с кислородом и воздухом. Были описаны механизмы образования вредных веществ при сжигании топлива в котлах. Далее были рассчитаны фактические и предельно-допустимые выбросы вредных веществ в атмосферу, и были сравнены между собой. В итоге были предложены технические мероприятия по снижению вредных выбросов оксидов азота в атмосферу для Комсомольской ТЭЦ-3.
Список использованной литературы
1.Государственный доклад о состоянии и об охране окружающей среды
Хабаровского края в 2016 году. – Хабаровск: ООО «Медиа-Мост», 2014. – 242с.
2. Комсомольская ТЭЦ-3: [Электронный ресурс]. -museum.rao-esv.ru/ power_facilities
3. Якубовский, Ю. Автомобильный транспорт и защита окружающей
среды: пер. с пол. / Ю.Якубовский – М.: Изд-во Транспорт, 1999. – 199 с.
4. Инструкция по эксплуатации блока с турбиной Т-180/210 и котлом ТПГЕ-215. – Комсомольск -на -Амуре: СП КТЭЦ-3, 2013. – 37с.
5. Инструкция по эксплуатации котлоагрегатов КВГМ-100 и ГМ-50 при работе на природном газе и мазуте. – Комсомольск -на -Амуре: СП КТЭЦ-3, 2013. – 32с.
6. Характеристики мазута М100:[Электронный ресурс]. - macd.ru/articles /xarakteristiki-mazuta-m100/.
7. Вавилов, В.И. Модернизация действующих котлоагрегатов с целью оптимизации горения и сокращения вредных выбросов в атмосферный воздух / В.И.Вавилов// Труды Региональной научно-технической конф. ДВГУПС. – Хабаровск: Изд-во ДВГУПС, 2006. – С.163-166.
8. Катин, В.Д Теория горения и взрыва : сб. лекций. В 2 ч. Ч. 1 / В.Д. Катин. – 2-е изд., перераб. и доп. – Хабаровск : Изд-во ДВГУПС, 2013. – 90 с.
9. Катин, В.Д Теория горения и взрыва : сб. лекций. В 2 ч. Ч. 2 / В.Д. Катин.– 2-е изд., перераб. и доп. – Хабаровск : Изд-во ДВГУПС, 2013. – 82 с.
10. Повышение экологической безопасности тепловых электростанций: Учеб.пособие / А.И.Абрамов, Д.П.Елизаров, А.Н.Ремезов и др. – М.: Изд-во МЭИ, 2007. – 378с.
11. Методические указания по расчету выбросов оксидов азота с дымовыми газами котлов тепловых электростанций, СО153-34.02.304-2003 / Министерство энергетики – Москва,2005.
12. Методика расчета выбросов бенз(а)пирена в атмосферу паровыми котлами электростанций, РД 153-34.1-02.316-99 / Министерство энергетики – Москва,1999.
13. Катин, В.Д Безопасность на объектах госнадзора: метод.указания на выполнение курсовой работы / В.Д.Катин. – Хабаровск: Изд-во ДВГУПС, 2009 – 31с.
14. Предельно допустимая концентрация вредных веществ в атмосферном воздухе населенных пунктов, ГН 2.1.6.695-98 / Минздрав России – Москва,1991.
15. Патент № 41117 . МПК F23 D 17/00. Комбинированная горелка / С.Н.Дьяченко, В.Д.Катин – Опубл 10.10.2004, Бюл №28 – 1с.
16.Патент №2288404. МПК F23C 99/00. Cпособ сжигания топлива / В.Д.Катин, Н.Г.Пайметов, А.И.Старовойт. – Опуб 27.11.2006, Бюл №33.- 4с.
17. Катин, В.Д Охрана воздушного бассейна при сжигании топлива в котлах и печах предприятий железнодорожного транспорта / В.Д.Катин // монография. – Владивосток: Дальнаука, 2007 – 160с.
18. Катин, В.Д. Проблемы охраны атмосферы от загрязнения котельными на предприятиях железнодорожного транспорта и перспективны решения / В.Д.Катин // монография. – Хабаровск: Изд-во ДВГУПС, 2006. – 98с.
15
















