Пояснительная записка (1206649), страница 3
Текст из файла (страница 3)
Во-первых, сложные информационные системы могут реализовываться на различных вычислительных платформах и технологиях доступа к базам данных.
Во-вторых, интеграция информационной системы с Интернетом определяет необходимость решения дополнительных вопросов при проектировании системы, таких как обеспечение безопасности и доступности информации для корпоративных клиентов.
Наконец, доступ и манипулирование данными в рамках двух- или трехуровневой технологии «клиент-сервер» также требуют размещения больших БД в различных сегментах корпоративной сети, их резервного копирования, архивирования, кэширования для обеспечения необходимой производительности системы в целом.
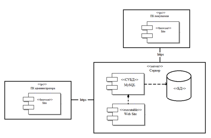
Диаграмма развертывания предназначена для визуализации элементов и компонентов системы, существующих лишь на этапе ее исполнения, к которым относятся исполнимые файлы, динамические библиотеки, таблицы БД. Диаграмма развертывания для разрабатываемого Web-приложения представлена на рисунке 2.9.
Рисунок 2.9 – Диаграмма развертывания
База данных, информация о приложении и само созданное приложение находятся на сервере. Пользователи и посетители сайта получают доступ к нему, через сеть Интернет, используя свой ПК и установленное ПО на нём. Администратор сайта, так же получает доступ к приложению таким же способом.
-
Разработка интерфейса приложения
Главными элементами Web-страниц приложения для интернет-магазина «Оптово-розничной торговли ЁЁ» являются:
-
главное меню в верхней части страницы с кнопками;
-
информационная панель внизу экрана, с контактной и правовой информацией;
-
панель с информацией о товарах в корзине;
Главное меню включает в себя следующие кнопки-ссылки:
-
«Главная» – иконка-кнопка, с логотипом компании, открывает главную страницу сайта;
-
название организации, так же являющееся ссылкой на главную страницу.
-
«Категории» – основной раздел продажи, в котором реализована вся суть проекта. Список всех товаров, возможность их приобретения, поиск по категориям;
-
«Оплата и доставка» – описание возможностей оплаты покупок и доставка или самовывоз.
-
«Как заказать» – простое и доступное описание работы с сайтом, в частности с методом покупки.
-
«Оптовая закупка» – кнопка-переход на страницу с возможностью сделать заявку на массовую закупку товара.
-
отображение корзины – корзина с покупками.
-
«Партнёрам» – юридическая информация, по адресам, генеральным лицам и банковским счетам.
-
«Контакты» – адреса магазинов и номеров телефонов.
Схема показывающая примерный план внешнего вида навигационного меню приложения – на рисунке 2.10.
Рисунок 2.10 – Схематичная структура Web-страниц
2.7 Основные этапы создания Web-приложения
Этапы разработки проекта, основываясь на созданных ранее моделях:
-
создание модели базы данных;
-
создание базы данных в СУБД, на основе ранее созданной модели;
-
написание и редактирование контроллеров, для обеспечения работоспособности системы;
-
написание и редактирование моделей, для обработки административного кода и связывания с представлениями;
-
написание и редактирование представлений, а именно пользовательского интерфейса;
-
отладка и тестирование Web-приложения.
-
Практическая часть
3.1 Выбор программных средств
При создании проекта такого уровня, важно грамотно определить и выбрать программное обеспечение необходимое для разработки. Разработка интернет-магазина «Оптово-розничной торговли ЁЁ» происходит на базе технологии ASP.NET MVC. Хранение данных и информации происходит в базе данных поэтому для управления БД необходимым ПО является СУБД. Выбор в данном проекте пал на MS SQL Server 2014. Создание Web-приложения производится в среде разработки Visual Studio 2015. Для последующего размещения в сети Интернет, будет выбран оптимальный для компании хостинг.
3.1.1 Visual Studio
Microsoft Visual Studio – линейка продуктов компании Microsoft, включающих интегрированную среду разработки программного обеспечения и ряд других инструментальных средств. Данные продукты позволяют разрабатывать как консольные приложения, так и приложения с графическим интерфейсом, в том числе с поддержкой технологии Windows Forms, а также веб-сайты, веб-приложения, веб-службы как в родном, так и в управляемом кодах для всех платформ, поддерживаемых Windows.
Visual Studio включает в себя редактор исходного кода с поддержкой технологии IntelliSense и возможностью простейшего рефакторинга кода. Встроенный отладчик может работать как отладчик уровня исходного кода, так и отладчик машинного уровня. Остальные встраиваемые инструменты включают в себя редактор форм для упрощения создания графического интерфейса приложения, веб-редактор, дизайнер классов и дизайнер схемы базы данных.
Visual Studio позволяет создавать и подключать сторонние дополнения (плагины) для расширения функциональности практически на каждом уровне, включая добавление поддержки систем контроля версий исходного кода, добавление новых наборов инструментов (например, для редактирования и визуального проектирования кода на предметно-ориентированных языках программирования) или инструментов для прочих аспектов процесса разработки программного обеспечения.
Visual Studio является наиболее функционально насыщенной IDE-средой, с конструкторами графических пользовательских интерфейсов, с возможностями работы с базами данных, с поддержкой фрагментов кода, с возможностями для просмотра всего проекта в целом, с просмотром свойств объектов. Данные возможности есть во многих IDE-средах, но в Visual Studio есть дополнительные:
-
возможность разработки приложений для мобильных устройств Windows (Windows Phone),
-
возможность разработки приложений для Microsoft Office,
-
встроенная поддержка рефакторинга кода. Если говорить простым языком, то рефакторинг – это улучшении существующей кодовой базы. В отсутствии инструментов рефакторинга кода, данное мероприятие превращается в очень нудное занятие, которое к тому же требует массы времени,
-
инструменты визуального конструирование классов,
-
технологии WCF, WPF, ASP.NET.
3.1.2 ASP.NET MVC
Платформа ASP.NET MVC представляет собой фреймворк для создания сайтов и веб-приложений с помощью реализации паттерна MVC.
Шаблон архитектуры Model-View-Controller (MVC) разделяет приложение на три основных компонента: модель, представление и контроллер. Платформа ASP.NET MVC представляет собой альтернативу схеме веб-форм ASP.NET при создании веб-приложений. Платформа ASP.NET MVC является легковесной платформой отображения с широкими возможностями тестирования и, подобно приложениям на основе веб-форм, интегрирована с существующими функциями ASP.NET, например с главными страницами и проверкой подлинности на основе членства. Платформа MVC определяется в сборке System.Web.Mvc.
К настоящему моменту (2017 год) уже было выпущено пять версий платформы, а сам Framework обрел большую популярность по всему миру благодаря своей гибкости и адаптивности.
Концепция технологии MVC представлена на рисунке 3.1.
Рисунок 3.1 – Концепция технологии MVC
Более подробную схему взаимодействия этих компонентов можно представить рисунком 3.2.
Рисунок 3.2 – Схема взаимодействия компонентов MVC
MVC представляет собой стандартный шаблон разработки, знакомый многим специалистам. Некоторые типы веб-приложений имеют преимущества при создании на платформе MVC. Для других может быть целесообразно использование традиционной схемы приложения ASP.NET, основанной на веб-формах и обратной передаче. В некоторых случаях возможно сочетание двух подходов: применение одной схемы не исключает использования другой.
Платформа ASP.NET MVC является легковесной платформой отображения с широкими возможностями тестирования и, подобно приложениям на основе веб-форм, интегрирована с существующими функциями ASP.NET, например с главными страницами и проверкой подлинности на основе членства. Платформа MVC определяется в сборке System.Web.Mvc.
Шаблон разработки MVC показан на рисунке 3.3.
Рисунок 3.3 – Схема взаимодействия
В состав платформы MVC входят следующие компоненты:
-
«Модели». Объекты моделей являются частями приложения, реализующими логику для домена данных приложения. Объекты моделей часто получают и сохраняют состояние модели в базе данных. Например, объект FoodListView может получать информацию из базы данных, работать с ней, а затем записывать обновленные данные в таблицу Food базы данных SQL Server. В небольших приложениях эта модель подразумевает концептуальное, а не физическое разделение. Например, если приложение только считывает набор данных и отправляет его в представление, то физический слой модели и связанных классов отсутствует. В этом случае набор данных принимает роль объекта модели;
-
«Представления». Представления служат для отображения пользовательского интерфейса приложения. Пользовательский интерфейс обычно создается на основе данных модели. Примером может служить представление для редактирования таблицы Food, которое содержит текстовые поля, раскрывающиеся списки и флажки, значения которых основаны на текущем состоянии объекта FoodListView;
-
«Контроллеры». Контроллеры осуществляют взаимодействие с пользователем, работу с моделью, а также выбор представления, отображающего пользовательский интерфейс. В приложении MVC представления только отображают данные, а контроллер обрабатывает вводимые данные и отвечает на действия пользователя. Например, контроллер может обрабатывать строковые значения запроса и передавать их в модель, которая может использовать эти значения для отправки запроса в базу данных.
Шаблон MVC позволяет создавать приложения, различные аспекты которых (логика ввода, бизнес-логика и логика интерфейса) разделены, но достаточно тесно взаимодействуют друг с другом. Эта схема указывает расположение каждого вида логики в приложении. Пользовательский интерфейс располагается в представлении. Логика ввода располагается в контроллере. Бизнес-логика находится в модели. Это разделение позволяет работать со сложными структурами при создании приложения, так как обеспечивает одновременную реализацию только одного аспекта. Например, разработчик может сконцентрироваться на создании представления отдельно от бизнес-логики. Связь между основными компонентами приложения MVC также облегчает параллельную разработку. Например, один разработчик может создавать представление, другой – логику контроллера, а третий – бизнес-логику модели.
Исходный код, написан на языке C# и он компилируется в промежуточный язык (IL) в соответствии со спецификацией CLI. Код IL и ресурсы, такие как растровые изображения и строки, хранятся на диске в исполняемом файле, называемом сборкой, с расширением EXE или DLL в большинстве случаев.
CLR (Common language runtime) – общеязыковая исполняющая среда. Она обеспечивает интеграцию языков и позволяет объектам благодаря стандартному набору типов и метаданным), созданным на одном языке, быть «равноправными гражданами» кода, написанного на другом.
Другими словами CLR этот тот самый механизм, который позволяет программе выполняться в нужном нам порядке, вызывая функции, управляя данными. И все это для разных языков (в моём примере C#). Да, CLR действительно управляет процессом выполнения команд (машинного кода, если хотите) и решает, какой кусок кода (функцию) откуда взять и куда подставить прямо в момент работы программы.При выполнении программы на C# сборка загружается в среду CLR в зависимости от сведений в манифесте. Далее, если требования безопасности соблюдены, среда CLR выполняет JIT-компиляцию для преобразования кода IL в инструкции машинного кода. Среда CLR также предоставляет другие службы, относящиеся к автоматическому сбору мусора, обработке исключений и управлению ресурсами. Код, выполняемый средой CLR, иногда называют "управляемым кодом" в противопоставление "неуправляемому коду", который компилируется в машинный код, предназначенный для определенной системы.
Взаимодействие между языками является ключевой особенностью .NET Framework. Поскольку код на промежуточном языке (IL), создаваемый компилятором C#, соответствует спецификации CTS, код IL на основе C# может взаимодействовать с кодом, создаваемым версиями языков Visual Basic, Visual C++, Visual J# платформы .NET Framework и еще более чем 20 CTS-совместимых языков. В одной сборке может быть несколько модулей, написанных на разных языках платформы .NET Framework, и типы могут ссылаться друг на друга, как если бы они были написаны на одном языке.
3.1.3 Microsoft SQL Server
Microsoft SQL Server – система управления реляционными базами данных (РСУБД), разработанная корпорацией Microsoft. Основной используемый язык запросов – Transact-SQL, создан совместно Microsoft и Sybase. Transact-SQL является реализацией стандарта ANSI/ISO по структурированному языку запросов (SQL) с расширениями. Конкурирует с другими СУБД в этом сегменте рынка. Она позволяет эффективно управлять базами данных различных масштабов – от персональной базы данных до инфраструктуры баз любого предприятия. За годы развития данной системы компания Microsoft постоянно совершенствовала свой продукт, внедряя новые технологии, улучшая производительность, вводя новые сценарии преобразования, интегрируя систему с другими программами.
Для своего проекта я взял версию Microsoft SQL Server 2014.
-
главное нововведение в Microsoft SQL Server 2014 – это возможность создавать гибридные облачные системы и использовать облачный сервис для хранения, обработки и резервного копирования данных;
-
благодаря поддержке режима Windows Server Core уменьшается время простоя баз при загрузке патчей;
-
усовершенствована политика доступа. Теперь пользователям назначаются роли, по умолчанию выставляются схемы доступа для различных групп пользователей, что позволяет максимально повысить уровень безопасности хранимой информации;
-
управление системой значительно упростилось. Теперь можно централизовано управлять базами данных (благодаря System Center Operations Manager), легко создавать виртуальные машины для облачной среды (с помощью службы SysPrep) и максимально автоматизировать большинство задач управления (благодаря поддержке оболочки Windows PowerShell 2.0).
-
появились более широкие возможности для интеграции и синхронизации данных. Упростился процесс загрузки, извлечения и преобразования данных в/из Excel.
-
внедрены in-memory технологии, которые увеличивают производительность любых вычислений в 15-30 раз.
-
модернизировано колоночное хранилище памяти, которые впервые было внедрено SQL Server 2012. Теперь хранилище стало обновляемым, повысился уровень сжатия данных и увеличилась скорость обработки запросов.
Microsoft SQL Server 2014 – это универсальная система, она поддерживает как локальное, так и облачное хранение данных, позволяет работать с удобными для пользователя платформами, такими как PHP, C/C++/C#, Linux и Java.
3.2 Размещение приложения в сети Интернет
Прежде, чем разместить сайт в сети Интернет, нужно выбрать домен или купить его. Доменное имя (домен): Индивидуальное неповторимое имя Вашего сайта. Для того что бы получить собственный домен необходимо его зарегистрировать у лицензированного регистратора доменных имен. Имя сайта должно быть, простым, запоминающимся и ещё лучше сразу же ассоциирующимся с чем-то обыденным.














