Чернов К.И. Пояснительная записка (1197363), страница 4
Текст из файла (страница 4)
Таблица 1.11 – Численность работников транзитного парка четного и нечетного направлений ПТО-С в пункте Д
| Наименование | Пути нечетного направления | Пути четного отправления | ||||
| Численность работников в смену | Количество | Численность работников в смену | Количество | |||
| бригад | групп | бригад | групп | |||
| Оператор ПТО | 1 | 2 | 5 | - | 1 | 5 |
| Осмотрщик-ремонтник | 11 | 5 | ||||
| Слесарь рпс | 2 | 1 | ||||
| Итого | 14 | 6 | ||||
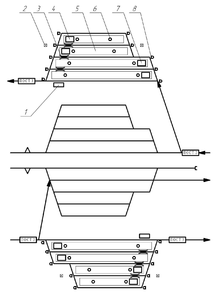
Схема технического оснащения транзитных парков четного и нечетного направлений представлена на рисунке 1.12.
Рисунок 1.12 - Схема технического оснащения транзитных парков
1 – помещение для отдыха бригады; 2 – мачта освещения; 3 – переезд; 4 – стационарные стеллажи; 5 - асфальтированные междупутья; 6 – колонка оповестительно-переговорной связи; 7 - ремонтная установка; 8 – устройства централизованного ограждения
1.3.1 Разработка пунктов технического обслуживания участковых станций, пунктов опробования тормозов, контрольных постов и постов безопасности
На участковых станциях, где производится смена локомотивов предусмотрены ПТО-У, они осуществляют техническое обслуживание вагонов участковых и сборных поездов, формируемых на этих станциях и производят обслуживание транзитных поездов нечетного и четного направлений.
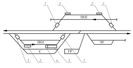
Схемы всех участковых станций принимаем продольного типа, имеющие последовательное расположение приемоотправочных парков для обработки поездов четного и нечетного направлений движения в соответствии с /1/, рисунок 1.13.
Рисунок 1.13 - Схема участковой станции ПТО-У
1 – ПОСТ 3; 2 – помещение для отдыха бригад; 3 – ПОСТ 2; 4 – оператор ПТО;
5 – пункт технического обслуживания; ПО – приемоотправочные парки;
С – сортировочный парк; ГР – грузовой район; ЭУ – экипировочные устройства
Расчет потребного количества рабочих для подразделений вагонного хозяйства на всех направлениях железной дороги представлен в таблице 1.12 в соответствии с /6/.
Исходя из рассчитанного общего контингента на ПТО-У каждого направления (таблица 1.12), численный состав смены участковой станции на направлении А-В представлен в таблице 1.13.
Таблица 1.12 - Расчет численности рабочих по направлениям для ПТО-У, ПОТ, КП и ПБ
| Направление железной дороги | Количество на направлении железной дороги | Штат в смену на | Коэффициенты, учитывающие (для ПТО-У и ПОТ) | Явочное количество рабочих в смену с учетом К1 и К2 | Явочное количество рабочих в 4,2 смены, Rв на | Списочное количество рабочих в 4,2 смены, Rсп=1,15 Rяв на | Всего Rсп на направлении железной дороги | |||||||||||||||||||||||||||||||
| ПТО-У | ПОТ | КП | ПБ | ПТО-У | ПОТ | КП | длину состава, К1 | длину участка безостановочного движения, К2 | ПТО-У | ПОТ | КП | ПТО-У | ПОТ | КП | ПТО-У | ПОТ | КП | |||||||||||||||||||||
| нечетное направление движения | четное направление движения | нечетное | четное | нечетное | четное | нечетное | четное | |||||||||||||||||||||||||||||||
| А - В | 2 | 2 | 34 | 10 | 32,6 | 32,6 | 8 | 68 | 0,96 | 1,15 | 36 | 36 | 9 | 75 | 145 | 145 | 35 | 150 | 166 | 166 | 40 | 173 | 545 | |||||||||||||||
| В - С | 2 | 2 | 35 | 10 | 33,7 | 33,7 | 8 | 70 | 0,98 | 1,15 | 38 | 38 | 9 | 78 | 152 | 152 | 36 | 157 | 175 | 175 | 41 | 181 | 572 | |||||||||||||||
| В - Д | 1 | 2 | 37 | 11 | 14,1 | 14,1 | 8 | 74 | 1,0 | 1,15 | 16 | 16 | 9 | 85 | 65 | 65 | 36 | 170 | 74 | 74 | 42 | 195 | 385 | |||||||||||||||
Окончание таблицы 1.12
| Направление железной дороги | Количество на направлении железной дороги | Штат в смену на | Коэффициенты, учитывающие (для ПТО-У и ПОТ) | Явочное количество рабочих в смену с учетом К1 и К2 | Явочное количество рабочих в 4,2 смены, Rв на | Списочное количество рабочих в 4,2 смены, Rсп=1,15 Rяв на | Всего Rсп на направлении железной дороги | ||||||||||||||||||||
| ПТО-У | ПОТ | КП | ПБ | ПТО-У | ПОТ | КП | длину состава, К1 | длину участка безостановочного движения, К2 | ПТО-У | ПОТ | КП | ПТО-У | ПОТ | КП | ПТО-У | ПОТ | КП | ||||||||||
| нечетное направление движения | четное направление движения | нечетное | четное | нечетное | четное | нечетное | четное | ||||||||||||||||||||
| Д - Е | 1 | 2 | 30 | 9 | 14 | 14 | 8 | 60 | 1,02 | 1,15 | 17 | 17 | 9 | 70 | 68 | 68 | 37 | 140 | 79 | 79 | 43 | 161 | 362 | ||||
| Д - F | 2 | 2 | 34 | 10 | 32 | 32 | 8 | 68 | 0,91 | 1,15 | 34 | 34 | 8 | 71 | 137 | 137 | 33 | 142 | 157 | 157 | 38 | 163 | 515 | ||||
Таблица 1.13 – Численный состав смены ПТО-У на направлении А-В
| Направление железной дороги | Количество ПТО-У на направлении | Наименование | Число бригад | Число групп | Численность работников по паркам, в смену | ||
| ПО-1 | ПО-2 | СП | |||||
| А - В | 2 | Оператор | 3 | 5 | 1 | 1 | - |
| Осмотрщик ПОСТ 2 | 1 | 1 | - | ||||
| Слесарь рпс | 3 | 3 | - | ||||
| Осмотрщик-ремонтник | 28 | 28 | 2 | ||||
| Итого | 33 | 33 | 2 | ||||
Численный состав смен участковой станции на направлениях представлен в таблицах 1.14- 1.17.















