Чернов К.И. Пояснительная записка (1197363), страница 3
Текст из файла (страница 3)
Исходя из рассчитанного контингента ПТО-С в пункте В (таблица 1.1), численность рабочих парка прибытия с указанием профессий, для обработки поездов четного и нечетного направлений приведена в таблице 1.3.
Таблица 1.3 – Численность работников парка прибытия ПТО-С в пункте В
| Наименование | Пути нечетного направления | Пути четного направления | |||||
| Численность работников в смену | Количество | Численность работников в смену | Количество | ||||
| бригад | групп | бригад | групп | ||||
| Оператор ПТО | 1 | 3 | 4 | - | 1 | 4 | |
| ОВР по встречи | 1 | 1 | |||||
| Освобожденный ОВР смены | 1 | 1 | |||||
| Осмотрщик – ремонтник | 12 | 6 | |||||
| Итого | 15 | 8 | |||||
Исходя из рассчитанного общего контингента ПТО-С в пункте Д (таблица 1.2), численность рабочих парка прибытия с указанием профессий, для обработки поездов четного и нечетного направлений приведена в таблице 1.4
Таблица 1.4 – Численность работников парка прибытия ПТО-С в пункте Д
| Наименование | Пути нечетного направления | Пути четного направления | ||||
| Численность работников в смену | Количество | Численность работников в смену | Количество | |||
| бригад | групп | бригад | групп | |||
| Оператор ПТО | 1 | 1 | 4 | - | 3 | 4 |
| ОВР по встречи | 1 | 1 | ||||
| Освобожденный ОВР смены | 1 | 1 | ||||
| Осмотрщик – ремонтник | 4 | 12 | ||||
| Итого | 7 | 14 | ||||
График технологического процесса технического обслуживания вагонов в парке прибытия четного и нечетного направления представлен в таблице 1.5.
Таблица 1.5 - График технологического процесса технического обслуживания вагонов в парке прибытия четного и нечетного направления ПТО-С
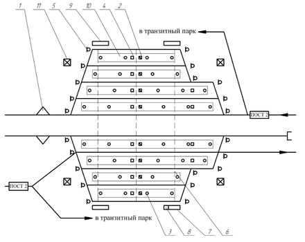
Для обеспечения выполнения работ по техническому обслуживанию и ремонту вагонов парк прибытия оборудован средствами технической оснастки, приведенными на рисунке 1.9.
Рисунок 1.9 - Схема технического оснащения парка прибытия
1 – сортировочная горка; 2 – стеллаж заглублённый; 3 – переговорные колонки;
4 – стеллаж наземный; 5 – устройство централизованного ограждения; 6 – пешеходный настил; 7 – ПТО; 8 – помещение оператора ПТО; 9 – помещение для отдыха и обогрева смотровых бригад; 10 – асфальтированные междупутья; 11 – мачта освещения
Сортировочный парк имеет две группы путей, на которых происходит накопление и формирование составов нечетного и четного направлений. Каждая группа путей обслуживается одним осмотрщиком по сохранности вагонов в смене, с целью выявления повреждений, происшедших в процессе роспуска и при маневровой работе и недопущения в парк отправления неисправных вагонов, требующих ремонта с отцепкой или текущего ремонта на специализированных путях. Схема технического оснащения сортировочного парка представлена на рисунке 1.10.
Рисунок 1.10 - Схема технического оснащения сортировочного парка:
1 – пути накопления и формирования составов четного направления;
2 – пути накопления и формирования составов нечетного направления;
3 – горка сортировочная; 4 – устройства централизованного ограждения;
5 – мачта освещения
Сформированные составы выставляются на пути парка отправления станции через оператора ПТО. После ограждения состава оператор ПТО предъявляет состав к техническому обслуживанию. График технологического процесса парка отправления представлен в графической части дипломного проекта ДП 23.05.03. 6ПСД (С) В6.04
После доклада оператора о готовности ДСП подводит поездной локомотив под состав. Если при осмотре был выявлен вагон, требующий текущего отцепочного ремонта, то производится его отцепка, а затем прицепка поездного локомотива.
После снятия ограждения и прицепки локомотива до взятия на воздух состава осмотрщик-автоматчик головной группы должен дать машинисту информацию о наличии в нём пассажирских вагонов или вагонов мотор-вагонного подвижного состава с включенными тормозами с отметкой в последующем этих особенностей в справке формы ВУ-45.
Исходя из рассчитанного общего контингента ПТО-С пункта В (таблица 1.1), численность рабочих парка отправления с указанием профессий, для обработки поездов четного и нечетного направлений приведена в таблице 1.6.
Таблица 1.6 – Численность работников парка отправления четного и нечетного
направлений ПТО-С в пункте В
| Наименование | Пути нечетного направления | Пути четного отправления | ||||
| Численность работников в смену | Количество | Численность работников в смену | Количество | |||
| бригад | групп | бригад | групп | |||
| Оператор ПТО | 1 | 3 | 6 | - | 4 | 6 |
| Осмотрщик-ремонтник | 14 | 32 | ||||
| Слесарь подвижного состава | 3 | 4 | ||||
| Итого | 18 | 36 | ||||
Исходя из рассчитанного общего контингента ПТО-С в пункте Д (таблица 1.2), численность рабочих парка отправления с указанием профессий, для обработки поездов четного и нечетного направлений приведена в таблице 1.7.
Таблица 1.7 – Численность работников парка отправления четного и нечетного
направлений ПТО-С в пункте Д
| Наименование | Пути нечетного направления | Пути четного отправления | ||||
| Численность работников в смену | Количество | Численность работников в смену | Количество | |||
| бригад | групп | бригад | групп | |||
| Оператор ПТО | - | 3 | 6 | 1 | 5 | 6 |
| Осмотрщик-ремонтник | 13 | 26 | ||||
| Слесарь подвижного состава | 3 | 5 | ||||
| Итого | 16 | 32 | ||||
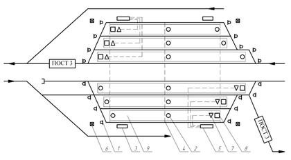
Для обеспечения выполнения работ по контрольно – техническому осмотру и опробованию тормозов парк отправления оборудован средствами технического оснащения, приведенных на рисунке 1.11.
Рисунок 1.11- Схема технического оснащения парка отправления
1 – устройство централизованного ограждения составов; 2 – переговорные колонки;
3 – помещения для бригад; 4 – пешеходный настил; 5 – УЗОТ-Р; 6 – мачта освещения;
7 – колонки автоматизированной системы опробования тормозов;
8 – стеллажи передвижные; 9 – асфальтированные междупутья
Для устранения неисправностей возникающих при эксплуатации вагонов, не входящих в перечень технического обслуживания на сортировочных станциях выделяются специализированные пути в количестве не менее двух для поочередного накопления вагонов и последующего их ремонта. Для более эффективного использования специализированных путей они располагаются в непосредственной близости к механизированному пункту текущего ремонта вагонов.
На сортировочной станции предусматривается СПРВ для нечетного и четного направлений, что позволит освободить парк отправления от выполнения ремонтных работ и улучшить условия труда /7/. Устранение неисправностей производится за время накопления вагонов при формировании поездов.
Количество рабочих на СПРВ на путях нечетного и четного направлений ПТО-С в пункте В, приведено в таблице 1.8.
Таблица 1.8 – Численность рабочих на СПРВ на путях нечетного и четного
направлений ПТО-С в пункте В
| Наименование | Направление | Численность работников, в смену |
| СПРВ | Нечетное | 26 |
| Четное | 13 |
Количество рабочих на СПРВ на путях нечетного и четного направлений ПТО-С в пункте Д, приведено в таблице 1.9.
Таблица 1.9 – Численность рабочих на СПРВ на путях нечетного и четного
направлений ПТО-С в пункте Д
| Наименование | Направление | Численность работников, в смену |
| СПРВ | Нечетное | 9 |
| Четное | 19 |
В транзитных парках производятся: осмотр технического состояния вагонов транзитных поездов, устранение выявленных неисправностей без отцепки вагонов и полное опробование автотормозов.
Исходя из рассчитанного общего контингента ПТО-С в пункте В (таблица 1.1), численность рабочих транзитного парка с указанием профессий, для обработки поездов четного и нечетного направлений приведена в таблице 1.10.
Таблица 1.10 Численность работников транзитного парка ПТО-С в пункте В
| Наименование | Пути нечетного направления | Пути четного отправления | ||||
| Численность работников в смену | Количество | Численность работников в смену | Количество | |||
| бригад | групп | бригад | групп | |||
| Оператор ПТО | - | 1 | 5 | 1 | 2 | 5 |
| Осмотрщик-ремонтник | 5 | 9 | ||||
| Слесарь рпс | 1 | 2 | ||||
| Итого | 6 | 12 | ||||
Исходя из рассчитанного общего контингента ПТО-С в пункте Д (таблица 1.2), численность рабочих транзитного парка с указанием профессий, для обработки поездов четного и нечетного направлений приведена в таблице 1.7.















